
VACUUM SEALER SV 125 C3

VACUUM SEALER
Operating instructions
IAN 367926_2101
![]()
Before reading, unfold the page containing the illustrations and familiarise yourself with all functions of the device.


Introduction
Congratulations on the purchase of your new appliance!
You have decided in favour of a modern, high-quality product. These operating instructions are part of this product. They contain important information on safety, usage and disposal. Before using the product, familiarise yourself with all handling and safety guidelines. This appliance may only be used as described and for the purposes indicated. Please also pass these operating instructions on to any future owner(s).
Copyright
This documentation is protected by copyright.
Any reproduction, or any reprint even in the form of excerpts, as well as the rendition of figures even in modified form, is only permitted with the manufacturer’s written consent.
Limitation of liability
All the technical information, data and instructions regarding installation, connection and operation contained in these operating instructions corresponds to the latest information available to us at the time of printing and takes our previous experience and know-how into account.
No claims can be derived from the details, illustrations and descriptions in these instructions.
The manufacturer assumes no responsibility for damage caused by failure to observe these instructions, improper use, incompetent repairs, unauthorised modifications or for the use of non-approved replacement parts.
Intended use
This appliance is intended exclusively for the sealing and vacuum-packing of foodstuffs in household quantities and only in private households. This device is not intended for commercial or industrial applications or for continuous use.
It is not intended for any other use or use beyond that specified. Claims of any kind for damage arising as a result of incorrect use will not be accepted. The risk shall be borne solely by the user.
Package contents and transport inspection
The appliance is supplied with the following components as standard:
- Vacuum sealer
- 1 x film roll
- 2 x tubes
- 3 x adapters
- 1 x replacement sealing ring
- These operating instructions
NOTE
- Check the package for completeness and for signs of visible damage.
- If the consignment is incomplete or damaged due to defective packaging or carriage, contact the Service hotline (see the chapter Service).
Unpacking
- Remove all parts of the appliance, the tube film and the operating instructions from the carton.
- Remove all packaging material.
- Remove the protective film from the control panel.
DANGER - Packaging materials should not be used as a plaything. Risk of suffocation.
Disposal of packaging materials
The packaging protects the appliance from damage during carriage. The packaging materials have been selected for their environmental friendliness and ease of disposal, and are therefore recyclable.
Returning the packaging to the materials cycle conserves raw materials and reduces the amount of waste that is generated. Dispose of packaging materials that are no longer needed in accordance with applicable local regulations.
Dispose of the packaging in an environmentally friendly manner. Note the labelling on the packaging and separate the packaging material components for disposal if necessary. The packaging material is labelled with abbreviations (a) and numbers (b) with the following meanings: 17: plastics, 2022: paper and cardboard, 8098: composites
NOTE If possible, keep the original packaging during the warranty period so that the device can be properly packed for returning in the event of a warranty claim.
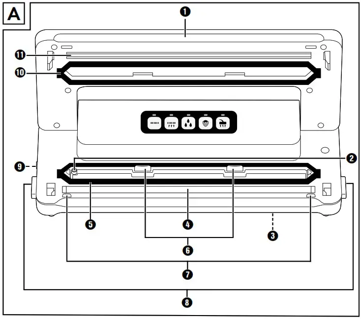
Description of the appliance
Figure A
| 1. Appliance lid 2. Suction tube 3. Cable retainer 4. Welding wires 5. Lower sealing ring 6. Rear limiters | 7. Front limiters 8. Lid release 9. Suction fitting 10. Upper sealing ring 11. Press seal |
Figure B
12.
button (start/cancel “sealing” function) with control lamp (red)
13.button (start/cancel “vacuuming and sealing” function) with control lamp (red)
14.button (activate/deactivate additional function “wet”) with control lamp (green)
15.button (activate/deactivate additional function “soft”) with control lamp (green)
16.button (start/cancel “external vacuuming” function) with control lamp (red)
Figure C:
| 17. Vacuum hose 18. Adapter A | 19. Adapter B 20. Adapter C |
Technical data
| Operating voltage | 220 – 240 V ∼ (alternating current), 50/60 Hz |
| Power consumption | 125 W |
| Protection class | |
| All of the parts of this appliance that come into contact with food are food-safe. |
Safety guidelines
RISK OF ELECTRIC SHOCK
- Prior to use, check the device for visible external damage.
Never operate an appliance that is damaged. - To avoid potential risks, if the appliance power cable is damaged, it must be replaced by the manufacturer, its customer service or by a qualified technician.
- NEVER use the appliance with a defective power cable.
- Do not use extension cables or power socket strips that do not meet the required safety standards.
- Never open the appliance housing! Remove the plug from the mains power socket before be-ginning to clean the device.
- Ensure that no moisture can penetrate the device during cleaning.
RISK OF INJURY!
- All repairs must be carried out by authorised special-ist companies or by the Customer Service department. Improper repairs may result in a risk of injury to the user or damage to the appliance. They will also invalidate any warranty claim.
- The mains power socket must be easily accessible, so that the power cable can be easily disconnected in the event of an emergency.
RISK OF INJURY!
- Cleaning and user maintenance tasks may not be carried out by children unless they are supervised.
- The appliance and its connecting cable must be kept away from children younger than 8 years old.
- This appliance may be used by children aged 8 years and above and by persons with limited physical, sensory or mental capabilities or lack of experience and knowledge, provided that they are under supervision or have been told how to use the appliance safely and are aware of the potential risks.
- Children must not play with the appliance! Children should be supervised to ensure that they do not play with the appliance.
- Do not leave the appliance unsupervised when it is ready for use. To prevent it being switched on accidentally, always unplug the appliance after use or during breaks.
CAUTION PROPERTY DAMAGE!
- Do not use an external timer switch or a separate remote control system to operate the appliance.
NOTE No user action is required to switch the product between 50 and 60 Hz. The product adapts automatically to either 50 or 60 Hz.
Setting up and connecting
Set-up location requirements
For safe and trouble-free operation of the device , the set-up location must fulfil the following requirements:
- When setting it up, place the appliance on a firm, flat and horizontal surface.
- Do not place the device in a hot, wet or extremely damp environment or in the vicinity of flammable materials.
- The mains power socket must be easily accessible, so that the power cable can be easily disconnected in the event of an emergency.
Electrical connection
CAUTION
- Before you connect the appliance, compare the connection data (voltage and frequency) on the data plate with that of your mains power network. These data must agree so that no damage is sustained by the device.
- Ensure that the power cable is undamaged and is not routed over hot surfaces and/or sharp edges.
- Ensure that the power cable is not taut or kinked.
- Do not let the power cable hang over edges (trip wire effect).
- Insert the plug into the mains mains power socket.
Functions
| Button | Function | |
| 12 | Start/cancel “sealing” function (without vacuuming) | |
| 13 | Start/cancel “vacuuming and sealing” function | |
| 14 | Activate/deactivate additional function “wet” (for particularly moist food products) | |
| 15 | Activate/deactivate additional function “soft” (for pressure-sensitive foods, e.g. fruit or cakes) | |
| 16 | Start/cancel “external vacuuming” function (for vacuuming using the hose and adapter) | |
Tips
The following table offers some useful information on optimal preparation and processing of various food items.
| Food | Notes | Recommended mended container | Recom mended additional function |
| Fish/meat | – use only when fresh, – do not interrupt the cold chain | – Bag | |
| Vegetables | – peel or wash and dry – blanch for a few minutes in boiling water, rinse with ice water and dry to avoid loss of flavour and colour or gas formation* during storage | – Bag | |
| Leafy vegetables/lettuce | – wash and dry – not suitable for freezing | – Container | |
| Fruit | – peel or wash and dry | – Refrigeratorcontainer | |
| – Freezer: bag | |||
| Herbs | – wash and dry – whole sprig | – Bag | |
| Baked products | – Container | ||
| – Bag | |||
| Powdery food | – place a piece of kitchen paper in the top of the bag/container or vacuum seal in the original packaging | – Bag – Container | |
| Cold liquids | – Container | ||
| – freeze briefly, if necessary | – Bag | ||
| Cooled, cooked foods | – Container | ||
| – Bag | |||
*Applies, for example, to all types of cabbage (broccoli, Brussels sprouts, kale, etc.), asparagus, sugar snap peas, beans, romanesco and pak choy.
Welding a tube film
NOTES ON THE FILM
- The film width may not exceed 30 cm. Otherwise it cannot be welded correctly.
- Use only nylon PA/PE films with a structure (dots or grooves) on one side and a thickness of approx. 0.170.29 mm (170290 ) in this device. Otherwise, the weld seam will not be tight and the appliance may be damaged. You can recognise films of this type from the information on the packaging. The quality of the weld seam will vary depending on the type and thickness of the film.
- The supplied film is suitable for temperatures between -20°C and +110°C.
- The supplied foil is BPA-free and microwaveable. However, never heat completely sealed bags in the microwave. The bag could burst! One side of the bag must be open. Heat the bags for no more than 3 minutes at a maximum temperature of 70°C.
1) Cut the desired length for your bag from the tube film using a pair of scissors. Cut as straight as possible.
2) Open the appliance lid1by pressing the lid release8and opening the lid 1 upwards.
3) Lay the open end of the bag as far into the appliance so that the opening of the bag is located centrally under the lower sealing ring5. The bag should be inserted no further than the rear limiters6and must lie between the front limiters7. If the bag lies over one or both of the two limiters6/7, then the bag cannot be correctly welded.
NOTE
• The bag opening must lie flat on the welding wire4. Otherwise the welding does not work properly.
4) Close the appliance lid1. The press seal11presses the bag onto the welding wire4, to create a smooth seam. Ensure that both corners of the appliance lid1click closed. If necessary, press them down once again on the markings
and
so that the appliance lid 1clicks into place and locks shut.
5) Press the
button 12. The control lamp12lights up. As soon as the sealing process is completed, the control lamp12flashes briefly and then goes out.
NOTE
You can halt the sealing process at any time by pressing the
button 12again. The control lamp12flashes and then goes out.
CAUTION PROPERTY DAMAGE!
If the control lamp12does not turn off after a maximum of 10 seconds during the sealing process, the appliance is defective!
• Remove the plug from the mains power socket immediately. Do not attempt to repair the appliance yourself. Contact the Customer Service department.
6) Open the appliance lid1by pressing the lid release8and flipping the lid1upwards. Remove the bag. This is now sealed at one end.
NOTE
Ensure that the weld seam is properly closed. A correct weld seam should be a smooth, straight stripe without any creases.
7) Fill the bag. You must leave at least6cm of the bag free up to the edge to be welded.
CAUTION PROPERTY DAMAGE!
Fill the bag so that no food scraps or liquids can leak out during welding and get into the appliance.
8) If you do not want to vacuum the bag, you can now weld the other, open side.
NOTE
Wait a few seconds to allow the appliance to cool down before sealing the next bag. During this cool-down phase, you cannot start the “seal” function.
Vacuum sealing
Vacuuming the tube film
You can also suck the air out of the bag (vacuum) during welding:
NOTE
- If you want to vacuum seal bags with liquid contents only, it is best to freeze the liquid briefly so that it does not get sucked into the appliance during vacuuming. If small quantities of liquid or food nonetheless get sucked up, they will be deposited in the small drip tray that is located within the lower sealing ring
5.
1) Lay the open end of the bag as far into the appliance so that the opening of the bag is located centrally under the lower sealing ring5. The bag should be inserted no further than the rear limiters6and must lie between the front limiters7. Otherwise the vacuuming and welding will not function correctly:
2) Close the appliance lid 1. Ensure that both corners of the appliance lid 1click closed. If necessary, press them down once again on the markings
and
so that the appliance lid 1clicks into place and locks shut.
NOTE
• Ensure that the upper10and the lower sealing rings 5 are not damaged! Otherwise the device cannot suck the air out of the bag.
• If either one of the sealing rings 0/5 is damaged, simply pull it out of the groove and press the replacement sealing ring into the groove.
3) If necessary, select the appropriate additional function for your food. Otherwise, you can skip this step and continue with point 4):
Press the
button 14if you want to vacuum a particularly moist or juicy food, such as freshly marinated meat or cut fruit. If there is moisture between the film and the seam, this can lead to defective seals. When this function is activated, the sealing time is increased so that the seal is more stable.
If the additional function
“wet” is activated, the corresponding control lamp 14lights up.
Press the
button 15if you want to vacuum seal pressure-sensitive foods such as cakes or berries. When the additional function “soft” is activated, the suction pressure is slightly reduced and the food is not squeezed as much.
If the additional function
“soft” is activated, the corresponding control lamp 15lights up.
NOTE
If you want to vacuum a moist and pressure-sensitive food, you can also activate both additional functions simultaneously.
4) Press the
button 13. The control lamp13lights up and the appliance sucks the air out of the bag. As soon as all the air is sucked out, the control lamp
12lights up. The appliance now seals the bag. As soon as the sealing process is completed, both control lamps13/12flash and then go out.
5) Once both control lamps13/12have gone out, you can open the lid by pressing the lid releases8and flipping the lid1upwards. Remove the vacuum-sealed bag.
NOTE
• You can stop the vacuuming process at any time by pressing the
button 13again. The corresponding control lamp13goes out. Press the button e again to resume the vacuuming process. If the appliance has already switched to the sealing process and the control lamp w is also lit, the process can be stopped with the button12. The control lamps13/12flash and then go out. The appliance then stops the sealing process.
• Once you have sealed5bags in a row, allow the appliance to cool down for about1minute. During this cool-down phase, it is possible that you cannot start the appliance. After the cool-down phase, you can use the appliance as normal (even if a whole minute has not yet elapsed). - TIP SOUS-VIDE COOKING
As the supplied film is suitable for temperatures between -20°C and +110°C, it can be used for sous-vide cooking (vacuum cooking). “Sous-vide” is French and means “under vacuum”. In vacuum cooking, the food (usually fish or meat, but vegetables can also be used) is vacuum-sealed in a bag and then cooked in water or steam cooked at a relatively low temperature (50° to 90°C). The advantage of this is that volatile flavours and aromas are not lost during cooking. The food does not dry out and the vitamins and flavours are preserved. Herbs or spices that are vacuum-sealed in the bag with the food give off a more intense flavour.
Vacuuming containers and resealable bags
NOTE
- Do not vacuum bags or containers that contain only liquids. These could be sucked up during the vacuum sealing process. If small quantities of liquid or food do get sucked up, they will be deposited in the small drip tray that is located between the lower sealing ring
5.
You can vacuum seal containers and resealable bags using the vacuum hoses17and appropriate adapters18/19/20supplied with the appliance.
NOTE
- You can order suitable bags and containers separately. Please refer to section “Ordering spare parts and accessories”.
- The vacuum hoses
17and adapters18/19/20are also compatible with bags and containers made by other manufacturers.
| Adapters | e.g. suitable for |
Adapter 18 | FoodSaver lunch boxes, Ernesto, various bags with a valve |
Adapter 19 | FoodSaver food storage boxes, Ernesto, various bags with a valve |
Adapter 20 | CASO, FoodSaver storage boxes |
Vacuuming sealing bags
- Connect the vacuum hose
17onto the suction fitting
9of the appliance. - Select the appropriate adapter A/B
18/19for the bag you want to vacuum and attach it to the vacuum hose17. - Close the appliance lid
1. Ensure that both corners of the appliance lid1click closed. If necessary, press them down once again on the markings
and
so that the appliance lid 1clicks into place and locks shut. - Close the bag to be vacuum sealed carefully. Vacuum sealing only works properly if the bag is completely closed off. Position the ag so that the extraction opening of the bag is lying on a smooth surface.
- Press the adapters A/B
18/19firmly onto the round extraction opening on the bag. - Press the
button. 16The control lamp16lights up and the appliance sucks the air out of the bag. As soon as all the air is sucked out, the control lamp16goes out. - You can now remove the adapter A/B
18/19from the bag.
Vacuum sealing containers
- Connect the vacuum hose
17onto the suction fitting
9of the appliance. - Select the appropriate adapter
18/19/20for the container you want to vacuum and attach it to the vacuum hose17. - Close the appliance lid
1Ensure that both corners of the appliance lid1click closed. If necessary, press them down once again on the markings
and
so that the appliance lid 1clicks into place and locks shut. - Connect the adapter
18/19/20to the appropriate fitting on the container. Please refer to the instruction manual of the container for further information. - Press the
button 16. The control lamp z lights up and the appliance sucks the air out of the container. As soon as all the air is sucked out, the control lamp16goes out. - You can now remove the adapters
18/19/20from the container and the appliance.
Cleaning
DANGER
Risk of fatal injury from electrocution!
- Remove the plug from the mains power socket before beginning to clean the device.
- Ensure that no moisture can penetrate the device during cleaning.
CAUTION
Possible damage to the appliance.
- Do not use aggressive or abrasive cleaning agents, as these may corrode the surface of the casing.
- Do not use any hard or sharp objects to remove any adhesive from the
welding wire4. Otherwise the welding wire4or the insulation could be damaged.
Cleaning the appliance
- Clean the surface of the housing of the appliance with a lightly moistened cloth and a mild detergent.
- Wipe off the upper
10and the lower sealing rings5, as well as the press seal11with a damp cloth. Ensure that the appliance is dry before using it again. - Wipe the vacuum hoses
17,and the adapters18/19/20with a damp cloth. If there is heavy soiling, you can also clean these parts in hot water with a little detergent. Ensure that all components are completely dry before the next use. - Clean the drip tray that is located between the lower sealing ring
5in warm water with a little detergent.
You can also clean the drip tray in the dishwasher, if required. Make sure that the drip tray does not get jammed in the dishwasher. Use the upper basket in the dishwasher if possible.
Storage
The appliance has a built-in cable retainer 3 on the underside of the housing, on which you can wrap the power cable when it is not in use. Wind the power cable around the cable retainer 3 in the direction indicated by the arrows.

This prevents the power cable from getting caught or soiled, or becoming a source of danger by hanging loosely down.
CAUTION
Possible damage to the appliance.
- Do not click the appliance lid
1closed for storage! When the appliance
lid1is clicked closed it exerts permanent pressure on the upper10and lower sealing rings5, as well as the press seal11. This can negatively affect their function. - Store the appliance in a clean, dry place away from direct sunlight.
Disposal
Under no circumstances should you dispose of the appliance with the normal household waste. This product is subject to the provisions of European Directive 2012/19/EU (Waste Electrical and Electronic Equipment).
Dispose of the appliance via an approved waste disposal company or your municipal waste disposal facility. Please observe applicable regulations. In case of doubt, please contact your waste disposal centre.
Your local community or municipal authorities can provide information on how to dispose of the worn-out product.
The product is recyclable, subject to extended producer responsibility and is collected separately.
Kompernass Handels GmbH warranty
Dear Customer,
This appliance has a 3-year warranty valid from the date of purchase. If this product has any faults, you, the buyer, have certain statutory rights. Your statutory rights are not restricted in any way by the warranty described below.
Warranty conditions
The warranty period starts on the date of purchase. Please keep your receipt in a safe place. This will be required as proof of purchase.
If any material or manufacturing fault occurs within three years of the date of purchase of the product, we will either repair or replace the product for you or refund the purchase price (at our discretion). This warranty service requires that you present the defective appliance and the proof of purchase (receipt) within the three-year warranty period, along with a brief written description of the fault and of when it occurred.
If the defect is covered by the warranty, your product will either be repaired or replaced by us. The repair or replacement of a product does not signify the beginning of a new warranty period.
Warranty period and statutory claims for defects
The warranty period is not prolonged by repairs effected under the warranty. This also applies to replaced and repaired components. Any damage and defects present at the time of purchase must be reported immediately after unpacking. Repairs carried out after expiry of the warranty period shall be subject to a fee.
Scope of the warranty
This appliance has been manufactured in accordance with strict quality guidelines and inspected meticulously prior to delivery.
The warranty covers material faults or production faults. The warranty does not extend to product parts subject to normal wear and tear or to fragile parts which could be considered as consumable parts such as switches, batteries or parts made of glass.
The warranty does not apply if the product has been damaged, improperly used or improperly maintained. The directions in the operating instructions for the product regarding proper use of the product are to be strictly followed. Uses and actions that are discouraged in the operating instructions or which are warned against must be avoided.
This product is intended solely for private use and not for commercial purposes. The warranty shall be deemed void in cases of misuse or improper handling, use of force and modifications/repairs which have not been carried out by one of our authorised Service centres.
Warranty claim procedure
To ensure quick processing of your case, please observe the following instructions:
- Please have the till receipt and the item number (e.g. IAN 123456_7890) available as proof of purchase.
- You will find the item number on the type plate on the product, an engraving on the product, on the front page of the operating instructions (below left) or on the sticker on the rear or bottom of the product.
- If functional or other defects occur, please contact the service department listed either by telephone or by e-mail.
- You can return a defective product to us free of charge to the service address that will be provided to you. Ensure that you enclose the proof of purchase (till receipt) and information about what the defect is and when it occurred.
You can download these instructions along with many other manuals, product videos and installation software at www.lidl-service.com.
This QR code will take you directly to the Lidl service page (www.lidl-service.com) where you can open your operating instructions by entering the item number (IAN) 367926_2101.
Service
Service Great Britain
Tel.: 0800 404 7657
E-Mail: [email protected]
Importer
Please note that the following address is not the service address. Please use the service address provided in the operating instructions.
KOMPERNASS HANDELS GMBH BURGSTRASSE 21 44867 BOCHUM GERMANY
www.kompernass.com
Ordering replacement parts
You can order replacement parts for this product on the Internet at
www.kompernass.com.
Scan the QR code with your smartphone/tablet. You can use this QR code to go directly to our website to view and order the available spare parts.
NOTE
- If you have problems with your online order, you can contact our service centre by phone or e-mail.
- Please always quote the article number (e.g. 123456_7890) when ordering. You can find it on the title page of these operating
instructions. - Please note that online ordering of replacement parts is not possible for all countries.
![]()
KOMPERNASS HANDELS GMBH
BURGSTRASSE 21 44867 BOCHUM GERMANY
www.kompernass.com
Last Information Update · Stand der Informationen · Version des informations · Stand van de informatie
Stav informací · Stan informacji · Stav informácií · Estado de las informaciones · Tilstand af information:
02 / 2021 · Ident.-No.: SV125C3-022021-1
IAN 367926_2101
NOTE
2) Close the appliance lid 1. Ensure that both corners of the appliance lid 
















