XPOWER AP-2500D Air Filtration System

Safety Instructions
WARNING – READ AND SAVE THIS INSTRUCTION BEFORE USING THIS PRODUCT.
The user of electrical products may create hazards that include, but are not limited to injury, fire, and electrical shock. Failure to follow these instructions may damage and/or impair its operation and void the warranty.
- Before operating, remove all packaging material and check for any damage that may have occurred during shipping or any missing items.
- Check power supply to ensure it matches the appliance’s specification.
- DO NOT operate any fan with a damaged cord or plug. Discard fan or return it to an authorized service facility for examination and/or repair.
- Use only on GFCI protected receptacles. Please contact a qualified electrician for verification and / or installation of a GFCI receptacle if necessary.
- DO NOT run cord under carpeting. DO NOT cover cord with throw rugs, runners, or similar coverings. DO NOT route cord under furniture or appliances. Arrange cord away from traffic area and where it will not be tripped over.
- To reduce the risk of fire or electric shock, DO NOT use this machine with any solid-state speed control device.
- DO NOT touch this appliance or the plug with wet hands or while standing in water.
- DO NOT operate the appliance in any pooled water.
- DO NOT use the product in areas where gasoline, paint or other flammable goods and objects are used or stored.
- DO NOT insert or allow objects to enter any ventilation or exhaust opening as this may damage the appliance and void the warranty.
- DO NOT cover the air inlet or outlet on the appliance.
- DO NOT direct the air flow at human faces or bodies.
- DO NOT allow children to play with this appliance.
- AUTOMATICALLY OPERATED DEVICE – To reduce the risk of injury, disconnect from power supply before servicing.
- Remove the power cord from the electrical receptacle by grasping and pulling on the power cord plug-end only, DO NOT pull the cord directly.
- DO NOT attempt to repair or adjust any electrical or mechanical functions of this appliance, as this may cause danger and void the warranty.
- If the appliance is damaged or it malfunctions, DO NOT continue to use it. Unplug the product from the electrical outlet. Refer to troubleshooting guide or contact XPOWER.
- Store in a dry area, away from exposure to sunlight, extreme temperature and humidity, or other extreme environments, when not in use.
- An electronic instruction manual can be obtained through website: www.xpower.com.
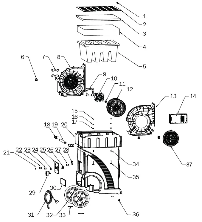
Parts Description

- Inlet Grille Cover Screw
- Inlet Grille Cover
- Rigid Polyester Filter
- Pleated Media Filter
- Plastic V-Shaped HEPA Filter
- Motor Housing Fixator Assembly
- Motor Fixator
- Motor Right Housing
- Heat Insulation Plate
- Motor
- Bushing
- Fan
- Motor Left Housing
- Motor Control Circuit Board Assembly
- Rivet Nut
- Filter Fixator
- Flange Nut
- Handle Cover
- Handle Tube
- Housing
- Air Quality Sensor Cover
- Air Quality Sensor
- Power Switch
- Speed Switch Knob
- Control Panel
- Speed Switch Circuit Board
- Circuit Breaker
- Air Quality Sensor Box
- Pressure Gauge
- Power Cord Container Cover
- Power Cord
- Wheel Assmebly
- Wheel Chassis
- Handle Screw Sleeve
- Handle Screw
- Rubber Pad
- Motor Inlet Grille Cover
Items Included

Installation and Operation Guide
Extension Setup (Optional)

Exhaust Ducting
- Turn off the machine.
- Attach the ducting hose to the exhaust.
Selecting a Location (Important)
- Enclosed Area: For optimal efficiency and longer filter lifespan, the Air Scrubber should be operated in an enclosed area. Keep all doors, windows and other outside entrances to the room closed.
- Air Circulation: It’s suggested to have a constant efficient air circulation inside your working area.
- Environment Humidity: For optimal efficiency and higher filter lifespan, the Air Scrubber should not be operated in an environment with a high relative humidity level. High humidity level could cause blockage and damage to filters.
- Power Cord: The power cord has a length of 25 feet (7.6 meters). Select a location where the power cord can reach the power source.
- Inlet and Outlet Orientation: Also pay attention to the orientation of the air inlet and air outlet. Make sure the airflow won’t influence any object nearby the Air Scrubber.
- IMPORTANT: The effectiveness of the Air Scrubber can be influenced by different factors. You may also find that installing multiple Air Scrubbers may be required for larger enclosed areas.
Control Panel

Air Quality Monitor
- When this monitor blinks, it indicates the Air Quality Sensor is now preparing for detection.
- The digital display will show the concentration of fine particulate matter (PM2.5) in the environment in μg/m3.
- The index light will indicate the air quality category of the environment. According to the Air Quality Index developed by the United States Environmental Protection Agency (EPA), the index light corresponds to different levels of health concern as below
| Index Light | Levels of Health Concern according to the AQI by EPA |
| Green / Good | Good |
| Orange (Yellow) / Moderate | Moderate or, Unhealthy for Sensitive Groups |
| Red / Poor | Unhealthy, or Very Unhealthy, or Hazardous |
Circuit Breaker
If the machine stops working, pressing the RESET BUTTON to reset the machine.
Power Switch
Turn to “O” position to switch the Air Scrubber OFF. Turn to “I” position to switch the Air Scrubber ON
Speed Switch
- Turn to “OFF” position to switch the Ventilateur Axial OFF. Turn clock-wisely to any position between “MAX” and “MIN” to switch the Ventilateur Axial ON.
- You can adjust to any desired speed variably. “MAX” is the highest speed and “MIN” is the lowest speed
Preesure Gauge
This measures the negative pressure between the motor inlet and filter outlet. If the negative pressure exceeds 350 Pascals, it indicates that the filters might have exceeded the maximum capacity of particles, and the filtration efficiency as well as the airflow have diminished. You should check, clean or replace the filters. (See Page 9: Filter Maintenance
Transportation

Transport with Trolley Handle
- Press down the trolley handle to tilt up the air scrubber on the wheels.
- Push forward to transport with the trolley handle.
User Maintenance Instructions
Frequent maintenance is recommended on this appliance. Failure to follow the maintenance instructions may cause failure of the appliance and void the warranty. Before performing any maintenance or cleaning, always disconnect the Air Scrubber from its power source.
Machine Maintenance
- When not in use, unplug, and uninstall power cords and all the extensions. Store the appliance in a dry and cool indoor place. Make sure it’s out of reach of children.
- Use a damp cloth to wipe the surface of the housing. Do not clean the unit with water directly.
- Check if the grille covers are clean. Remove dirt or any other objects that could block the air inlet and air outlet.

Organize the Cord
Power cord can be stored into the power cord container at the rear of the air scrubber.
Filter Maintenance
To ensure the best filtration efficiency and to prevent secondary pollution of used filters, you should replace or clean the filters frequently or when the filter clean/change light illuminates. Please follow the instructions below.
Unload the filters

- Screw off the screw on the inlet grill cover and take out the inlet grill cover.
- Screw off the 4 screws on sides, and release the filter fixator.
Clean the filters
- Rigid Polyester Filters*: These filters are washable with water. Use a vacuum or clean cloth to remove loose debris. And then further clean the filter with water. Use a cloth to remove the water on the filter and dry it naturally in the air.
- Pleated Media Filters: This filter is not washable. Use a vacuum to remove loose debris. If filter change light still illuminates, you might need to replace the filter.
- HEPA Filters*: This filter is not washable or reusable. Highly concentrated particles are captured by the HEPA filter and cleaning this filter can be hazardous to human health and contaminate the nearby environment. You must replace the filter if all the other filters are clean and however the filter clean/change light still illuminates.
Filter storage
- When not in use for a long time, you should store the filter separately from the machine.
- Always clean the filters before storage. Place the filters in a sealed plastic bag and store it in a dry and cool indoor place.
DISPOSAL OF FILTERS NO LONGER IN USE
The particles captured by a used filter can cause adverse human health effects and contaminate the nearby environment once the filter is exposed to the open air. Adequate personal protection equipment (PPE) is required during the whole process, for example, industry approved masks, eye protectors, gloves and coveralls. You should place the used filters in a sealed plastic bag before disposing. Follow local disposal regulations.
Reload the filters
To ensure the best efficiency and lifespan, each filter must be reloaded in a correct position, sequence and orientation.

Tips:
- On one of the side of each filter, there is a label with an arrow showing the airflow direction.
- When placing the filter, the side with label should face up. The arrow on the label should point to the exhaust.
Troubleshooting Guide
| PROBLEM | POSSIBLE CAUSE | SOLUTION |
| Air Scrubber does not start | No electricity. | Check for power supply. |
| The power cord is not properly plugged in. | Remove and reconnect the power cord. | |
| The circuit breaker on the additional electrical receptacle (Daisy chain) trips. | Remove all appliances on the additional electrical receptacle and press circuit reset button. | |
| Unit runs but no or very low air movement | Air outlet is blocked. | Remove blockage. |
| Filters are fully loaded. The filter clean/change light illuminates. | Clean or replace the loaded filters. (See Page 8: Filter Maintenance) | |
| The additional electrical receptacle has no power | The circuit breaker trips. | Press circuit reset button. |
If troubleshooting does not resolve your problem, please contact XPOWER or other parties authorized by XPOWER for further instructions.
Technical Specification
Machine Specification
| MODEL NUMBER | AP-2500D |
| Voltage/Frequency | 115 V~60 Hz |
| Amperage | 8.0 A |
| Rated Airflow | 2000 CFM |
| Speed Control | Variable Speeds |
| Cord Length | 25 ft. / 7.6 m |
| Unit Dimension (L) x (W) x (H) | 29.4 x 26.7 x 38.8 in. / 74.8 x 67.8 x 98.6 cm |
| Unit Weight | 98.66 lbs. / 44.75 kg |
Filter Specification
| FILTER MODEL NUMBER | Type of Filter | Size | Thickness | Function |
| RP-24 | Rigid Polyester Filter |
24 x 24 in. | 1 in. | Primary filtration for visible and coarse particles. |
| PF-24 | Pleated Media Filter | 1.8 in. | Medium filtration for fine dust. | |
| HEPA-300-PV | Plastic V-Shaped HEPA Filter | 12 in. | Final filtration for micro particles. |
XPOWER Limited Warranty (USA)
1 YEAR LIMITED WARRANTY
XPOWER-branded products purchased in the U.S. from authorized distributors include a 1-year limited warranty. Contact XPOWER to confirm warranty information about your product(s).
This limited warranty covers defects in materials and workmanship in your XPOWER-branded products, purchased in the U.S. ONLY. Local warranty policy (if any) in your country will cover products purchased outside the U.S
IMPORTANT:
- Please finish the online warranty registration before usage. Visit www.xpower.com/service-support/warranty-registration.
- This Limited Warranty applies with its own timeliness. Contact XPOWER or visit www.xpower.com for more information.
Items mentioned but not limited to below are not covered by warranty:
- Power cord, filters or any other components considered as a “consumable parts” by XPOWER.
- Normal wear and tear.
- Problems that result, directly or indirectly, at XPOWER’s sole discretion, from:
- External causes such as accident, abuse, misuse or problems with electrical power supply.
- Disassembling, servicing or modification not authorized by XPOWER.
- Usage that is not accordant with product instructions stated in Owner’s Manual.
- Failure to follow the product instructions or lack of necessary maintenance station Owner’s Manual.
Before contacting XPOWER, please try one or more of the following:
- Consult this Owner’s Manual and follow the instructions of the troubleshooting guide.
- Access www.xpower.com for more advice and information that could be helpful to address your problems.
If you need additional assistance from XPOWER, please:
- Email [email protected].
- Call XPOWER U.S. Customer Service Department at 855-855-8868 or other numbers provided on www.xpower.com.
- Visit XPOWER U.S. Head Office at 668 S. 6th Ave., City of Industry, CA 91746 USA or the most current address provided on www.xpower.com.
Please also have your original proof of purchase and the serial number(s) of your product(s) ready when you contact XPOWER.
If you are instructed to return the unit for service or replacement, please:
- Request a RMA (Return-Merchandise-Authorization) number.
- Use the original or an equivalent packaging, prepay shipping charges at your own expense to the address provided by XPOWER, with the RMA number on the shipping label or the packaging.
- Include all the original parts and components.
XPOWER will inspect, assess and advise the repairs needed and applicable cost, if any. For products under warranty, we will pay to ship the repaired or replaced product(s) to you if you use an address within the Contiguous United States. Otherwise, we will ship the product(s) to you at your own expense.
668 S. 6th Ave., City of Industry, CA 91746 USA
www.xpower.com | 1-(855)-855-8868 | [email protected]




















