Plamen Slavonac N Solid Fuel Burning Cookstove Instruction Manual
Slavonac N residential cookers fired by solid fuel are only a small part of our assortment of Plamen cookers which can completely satisfy your needs. In order to achieve the best performance of the cookers, please READ THESE INSTRUCTIONS CAREFULLY.
The appearance of the cooker is shown on the cover page. The basic parts are made of enamelled and galvanized steel sheet and of high quality cast iron. The cookers with a right and left side flue connection are both available. This should be specified when ordering the entire appliance or spare parts thereof. A right side flue connection cooker is the one which has the connection on the right viewed from the front side of the cooker and vice versa in terms of left side flue connection cookers.
Technical Data
- Measurements: W x H x L 84,5×83,8×59,4 cm
- Weight: 128 kg
- Nominal output: 8 kW
- Flue connection (top and rear): Ø 120 mm
- Required negative pressure in the chimney: 10-20 Pa
- Flue gas flow at the above nominal output: 7,7 gr/sek
- Recommended fuel loads regarding the above nominal output:
- wood and wood briquettes: 2 – 3 kg/h
- Optimum log size:
- perimeter: 20-30 cm
- length: 25-35 cm
Dimensions
Installation Instructions
- When installing the cooker, make sure that relevant local, national and European regulations are fully observed.
- After having unpacked the cooker, inspect it carefully for possible damages in transport. Any such damages should be immediately reported, because late claims will not be taken into consideration.
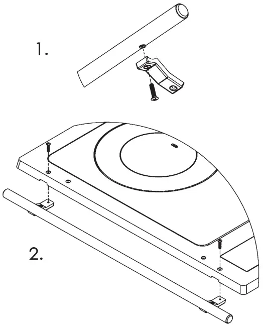
- Connect the handrail to the top frame as shown in Figure 1.

- Install the flue collar in its position making sure that the connection between the cookstove and chimney is firm and tight. The cooker is connected to the chimney with a standard flue pipe dia. 120 mm.
- The flue pipes should have adequate rise at all places. Do not connect the cooker to a chimney to which another appliance has already been connected. Make sure that the chimney is free from any cracks and damages.
- The cooker should be installed in a room with sufficient fresh air to support the combustion. If an exhauster (hood) or similar air-consuming unit is installed in the same room, regular inflow of fresh air should be provided through a separate opening, protected with a non clogging grid.
- Make sure that the cooker is installed in a place allowing easy access for flue and chimney cleaning operations.
- Make sure that there are no combustibles in the immediate vicinity of the cooker. The cooker may be installed only in a room where there is no risk of fire or explosion. In case of presence of potential risk, the cooker must be unplugged.
- Minimum clearances between the cooker and combustibles, such as wood, chipboard, corkboard etc. should be strictly observed. Please refer to the data from the Technical Data.
- In case of highly inflammable materials, such as PVC, polyurethane, pressed wood fibreboards etc., or materials of unknown inflammability, these clearances should be doubled.
- If the cooker is to be installed in a room with combustible or heat sensitive flooring, it shall be placed on a solid, non-combustible floor protector. The floor protector must be dimensioned to extend at least 800 mm to the front of the cooker and 400 mm to other directions.
Operating Instructions
Before the first firing, wipe all enamelled surfaces and cooking plate first with a wet and then with a dry cloth. Check the air supply control and flue damper for proper operation. The cooker parts are painted with a heat resistant paint. With the first firing, this paint gradually sets and some fumes of a characteristic odour may be given off in the process. Therefore ventilate the room during this phase.
Warning! The paint might be damaged if the first firing is not at moderate heat.
Therefore, with first firing of the stove (at least 10 hours), burn moderate fire (charging should not be more than half the recommended amount of fuel for the rated power).
WARNING! Do not use alcohol and petrol or for ignition or re-ignition.
The cooker performance and combustion depend on the fuel quality, adequate chimney design and maintenance, proper flame adjustment, cleanliness of the cooker and correct firing and reloading. The cooker is designed to burn wood and wood briquettes. Use only wellseasoned, dry wood with low moisture content to reduce the likelihood of greasy soot (creosote) built-up on the chimney walls, which may cause clogging of the chimney. Do not burn the household waste, especially not any plastic material. Many waste materials contain substances that are harmful to the cooker, the chimney and the environment.
For best performance, i.e. to achieve the above nominal output, add two logs or briquettes every half hour and set the air control to the position that suits best the desired flame level. Empty the ash pan regularly. Start the fire with a small amount of crumpled newspaper and well-seasoned dry kindling.
Set the air control to fully open position and pull out the damper rod. At outdoor temperatures above 15°C there might be some problems with the firing due to insufficient negative pressure within the chimney (poor draught). In that case, try to achieve the sufficient negative pressure by firing the chimney directly. Never use spirit, petrol or similar fuel to start the fire. Do not keep inflammable liquids near the cooker.
Keep the firebox door always firmly shut, except when reloading the cooker. The cooker should be regularly cleaned and inspected by a chimney sweeper or some other qualified person. The chimney, the flue channels and pipes shall be cleaned at least 6 times a year. Clean the cooker with maximum caution and only when completely cooled down. Remove and clean the top plate and flue pipe. Brush off the soot built up on the internal walls and pull the oven bottom plate out to discharge soot and ash. Clean and inspect the cooker every time after a prolonged suspension of operation.
To control the flame, add fuel as necessary and control the air supply by means of the air control. Minimum output (low flame) is achieved by setting the air supply to minimum. In case of overload (flame too high), set the air control to minimum and wait for the flame to abate gradually.
When using the oven, particularly for bread and other leavened dough baking, proceed, in order to avoid burning on top, as follows:
- Flue damper rod shall be pushed inwards
- Pre-heat the oven to 170-190 °C
- Add only one smaller log at a time to keep the fire at a moderate level for even baking on all sides. It is recommendable to turn the baking pan once during the baking.
- Fast boiling and better cook plate heating is achieved with the flue damper in open position, i.e. with the knob being pulled out.
Always bear in mind that the cooker parts, and particularly the top plate, INOX knobs, firebox door, handrail and damper rod, are hot and that only adults may operate the cooker. FOR THATPURPOSE USEAPROTECTIVE GLOVE!
The cooker must not be subject to any unauthorised repairs and/or modifications. Such operations may be performed only by qualified persons and only original spare parts should be used.
During normal operation, particularly if the cooker is fired with wet wood, soot and tar build up, posing a risk of fire in the chimney if it is not regularly inspected and cleaned. If the chimney catches fire, proceed as follows:
- Do not use water to extinguish the fire
- Close all air inlets to the cooker and chimney
- After the fire has gone out, call a chimney sweeper to inspect the chimney
- Call authorised service, i.e.the Manufacturer to inspect the cooker.
It’s used for cleaning enamel and painted parts using soap and water, non abrasive or chemically non-aggressive detergents.
Spare Parts – Accessories


Pos. No. | DENOMINATION | Pos. No. | DENOMINATION |
| 01-000 | Oven assembly | 145 | Cover of the handle opening |
| 12 | Flue gas outlet cover | 146 | Drawer cover |
| 13.1 | Flue collar | 155 | Main handrail |
| 14 | Partition | 156 | Main handrail holder |
| 15 | Flue dumper | 200 | Glass holder |
| 16 | Cover | 211 | Oven protection |
| 17 | Ring | 213 | Cover of the cleaning opening |
| 19 | Rectangular insert | 218 | Ashtray |
| 20 | Plate | 219 | Crossbar mask |
| 23-000 | Door handle Slavonac N left | 226 | Secondary air sheet |
| 24-000 | Door handle Slavonac N right | 227 | Mantle safety |
| 46 | Flue dumper lever Fi5,2×339 | 241 | Mantle |
| 57 | Ashtray guide | 242 | Central sheet |
| 62 | Partition for smoke | 243 | Air control sheet |
| 87 | Baking pan | 244 | Side plate |
| 94 | Drawer | 245 | Drawer mounting tray |
| 98 | Side drawer | 246 | Drawer Cloak |
| 109 | Frame | 247 | Back of the drawer |
| 116.1 | Firebox rear plate | 250 | Sidewall protection |
| 118.1 | Firebox side wall, outer | 303 | Handrail – damper rod |
| 120 | Firebox side wall, inner | 313 | Thermometer |
| 129 | Platform | 403 | Firebox glass |
| 130 | Frame flue collar | 404 | Oven glass |
| 133 | Grate | Accessories: | |
| 140 | Upper plate | 820 | Poker 60 |
| 141 | Lower plate | 803 | Cleaning shovel |
| 142 | Firebox door | 804 | Serving handle |
| 143 | Oven door | 806 | Protective glove with an attached PLAMEN logo-red |
| 144 | Air control |
WE RESERVE THE RIGHT TO ANY MODIFICATION NOT AFFECTING THE FUNCTIONALITY AND/OR SAFETY OF THE COOKSTOVE.
DECLARATION OF CONFORMITY
We hereby declare that this product meets all relevant criteria of the standard EN 12815:2001/A2:2004/AC:2007-08, and has
marking affixed to it in accordance with the Council
Directive EU 305/2011.
Intermitte nt burning appliances.
EN 12815:2001/A2:2004/AC:2007-08
Residental cookers fired by solid fuel
Tip: Slavonac N
Minimum distance to adjacent combustible materials: [mm]
front: 800/ side: 400/ back: 250/top: 800
Emission of CO in combustion products calc. to 13%O2: 0,09 [ %]
Fluegas temperature: 194 [°C]
Nominal output: 8 [kW]
Energy efficiency(fuel): 83,7 [%]
Wood
Serial No:
Read and follow the operating instructions. Use only recommended fuels.
The above mentioned values are valid only in proof conditions.
Made in Croatia
Number of the DoP: 0062-CPR-2021/03/31
Number of the notified test laboratory: NB 1015
Do not use the appliance in a shared flue.
HR-34000 Požega, Njemačka 36
tel.: +385 (0)34 254 600, 254 602, fax: +385 (0)34 254 710
www.plamen.hr





















