GABOR UPMP-1000/ACCUGEAR Universal Projector Mount

Thank you for choosing Gabor
The Gabor UPMP-1000 AccuGear Universal Projector Mount provides an easy and professional solution for mounting your projector to a ceiling. The AccuGear’s dual-gear mechanism offers exact image alignment which allows you to quickly dial in ideal tilt and roll viewing angles. Preassembled parts and the quick-release mount make the installation process fast and simple, and the adjustable arms can be configured to fit most projectors with a maximum mounting-hole diagonal length of 17.6-inches. Mount your projector at home, your office’s conference room, or a school classroom for unobstructed overhead viewing.
If you have safety concerns about installing this product, contact a qualified professional or installation contractor.
If this product is missing hardware or there are defective parts, visit www.madebygabor.com or call Customer Service at 212-594-2353.
Safety Warnings
- Read through this manual carefully, and save it for future reference.
- When installing this product, be sure to refer to the mounting instructions detailed in this manual; failure to abide by the mounting instructions may void the product warranty.
- It is strongly recommended that this product be installed by a qualified professional or installation contractor; Gabor takes no responsibility for any product damage or personal injury resulting from mishandling, incorrect mounting, faulty assembly, or improper use of this product.
- Do not use this product for any device other than what it is intended for; the exact specifications, size parameters, and weight limits are found in this instruction manual.
- Do not exceed the maximum load capacity of 50 lb. (22.7 kg), as you risk personal injury or damage to your equipment.
- Failure to provide adequate structural support for this product can result in serious personal injury or damage to your equipment; it is the installer’s responsibility to make sure the structure to which the product is attached can support four times the combined weight of all the equipment.
- Do not overtighten the screws or supports, as this can lead to damage.
- The provided hardware is for attaching the projector mount to wood studs or to solid concrete. If installing the Gabor ceiling mounts to a wood stud covered by drywall (gypsum board), verify the studs are a minimum 2 × 4 in. size. Do not install this mount over drywall greater than 5/8 inches thick.
If installing this Gabor ceiling mount to a concrete ceiling, it must be at least 8 inches thick with a minimum compressive strength of 2000 psi.
Never install the anchor to concrete covered with plaster, drywall, or other finishing material. - Do not mount this product on structures that may be affected by vibrations or noticeable impacts; do not install near a heater, fireplace, or any other source of direct heat.
- This product contains small parts which can pose a choking hazard; keep out of reach of children and pets.
- All images are for illustrative purposes only.
Overview

Projector Placement
Before installing the Gabor AccuGear, you will need to determine the projector’s placement and identify surrounding ceiling or wall supports for attachment.
- Measure the width at the top of your projector’s screen, and locate the center. Make a mark above the center point.
- Find your projector’s throw distance (check your projector’s manual). Use the throw distance measurement, and form a straight line from the mark you made in step 1. This will determine the placement of your projector.
- To locate the mounting plate’s placement, add the throw distance to the
distance between the projector’s lens and the projector mount’s center when attached to the projector. You can easily determine this by placing the projector mount onto the housing of the projector.
Plate Installation
The mounting plate needs to be secured to a concrete or wood studded ceiling or wall.
Optional: If you’re running cables, such as audio, video, or low-voltage power cables, through the rotating column’s cable access, you’ll need to drill an extra hole in the wood or concrete support structure to fit the cables and connect them to the projector.
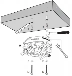
Wood Studs
Wood studs run vertically inside the wall or across the ceiling, behind the drywall or plaster. The plate must be mounted to a wood stud, or the plate could fall out and damage the projector or cause personal harm.
Make sure the studs are at least 1.5 inches (38 mm) wide.
- Use a stud finder to locate the edges of the wooden stud.
- Mark the centerline of the stud.
- Place the mounting plate at the location marked for your projector, and mark the spot of the two mounting plate holes for drilling. Make sure this is on the center line of the stud.
- Use a 5/32-inch (4 mm) wood drill bit to predrill the two marked spots for support holes 2.5 inches (64 mm) deep, and then clean out the debris.

- Attach the plate by inserting the anchor screws through the washers and mounting plate holes and screwing them into the predrilled support holes until secure.
- Use a 3/8 inch (10 mm) crescent wrench to tighten the anchor screws through the plate’s access slots.

Concrete
Warning! Make sure the concrete anchors are installed into solid concrete that is at least 8 inches (20 cm) thick. If concrete exhibits cracks or other defects, this may result in failure of the concrete anchors and cause serious personal injury or equipment damage.
- Place the mounting plate at the location marked for your projector, and mark the spot of the two mounting plate holes for drilling.
- Use a 5/16-inch (8 mm) concrete drill bit to make holes 2.5-inches (64 mm) deep on the marked spots, and then clean out debris.

- Insert the concrete anchors flush to the concrete, and use a mallet to hammer the anchors into the drilled holes.
- Attach the plate by inserting the anchor screws through the washers and mounting plate holes, and screwing them into the concrete anchors until secure.
- Use a 3/8 inch (10 mm) crescent wrench to tighten the anchor screws through the plate’s access slots.

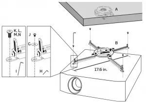
Attaching the Projector
- Determine which screws (J, K, L, M, or N) to use with your projector

Note: The maximum mounting-hole diagonal length is 17.6-inches. - Loosen the projector mount’s arms with the hex key (I).

If your projector model has only three holes for mounting, then remove the fourth arm with the hex key (I).
Warning! Do not use the projector mount with only two arms.
- Slide the arms around the projector mount and along the arm’s shaft to position them over your projector’s mounting holes.
Note: Make sure the notch on the mount is as close to the center of gravity for your projector as possible.
- Use the hex key (I) and the screws from step 1 to secure the mount to the projector, and tighten the arms until secure.
- Once the projector mount is attached to your projector, adjust the feet of the arms vertically to level the mount.

- Slide the projector mount into the mounting plate’s flange, and secure it with the spring screw. Push the screw in, and rotate until secure.


Secure the projector in the mounting plate with the included security screw (E).
Note: If you have a high ceiling, use a compatible 1.5 NPT extension column (not included).
Refer to the instructions listed in Using the AccuGear with 1.5 NPT-Compatible Mounting Plates and Extension Columns below.
Adjusting the Projector’s Alignment
You can easily change the projector’s viewing angles with the AccuGear’s
dual-gear mechanism. With the simple pull and twist of a lever you can precisely adjust up to ±20° tilt and ±10° roll. In addition, you can swivel the projector 360° or ±15° for ideal viewing angles.
Caution! Make sure to support the projector with one hand while making any adjustments. After altering the projector’s alignment, tighten all security screws to lock the projector’s position.




Cable Management
For a clean look, you can run A/V and low-voltage power cables through the mounting plate. You may need to drill an extra hole in the wood or concrete support structure to fit the cables and connect them to the projector.
Adjust the pitch, and run the cables through the mount as shown.

Using the AccuGear with 1.5 NPT-Compatible Mounting Plates and Extension Columns
Use the AccuGear with other 1.5 NPT-compatible structural mounts or mounting plates as well as extension columns.
Extend or suspend your projector from high ceilings with 1.5 NPT compatible hardware such as ceiling mounting plates and extension columns.
- Attach a 1.5 NPT extension column to your compatible mount.
- Remove your projector from the mounting plate if attached.
- Loosen the extension column security screw on the AccuGear’s mounting plate, and screw the mounting plate onto the end of the extension column.
- Tighten the security screw.


Gabor’s Compatible 1.5 NPT mounting plates and extension columns available for purchase:
Extension Columns:
EC-3: 3 in.
EC-6: 6 in.
EC-9: 9 in.
EC-12: 12 in.
EC-24: 24 in.
Mounting Plates:
CP-6: 6×6 in. Fixed 1.5 NPT Mounting Plate
CP-8: 8×8 in. Fixed 1.5 NPT Mounting Plate
SCP-770: Suspended Ceiling Mounting Plate with 3-inch threaded extension column included.
Product Specifications
| Maximum load capacity | 50 lb. (22.7 kg) |
| Max. projector mounting hole width | 17.6 in. (44.7 cm) diagonal |
| Color | Black |
| Tilt | ±20° |
| Roll | ±10° |
| Rotation | 360° / ±15° |
| Dimensions (H × W × D) | 4.5 × 18 × 18 in. (11.4 × 45.7 × 45.7 cm) |
| Weight | 3.1 lb. (1.4 kg) |
Five-Year Limited Warranty
This Gabor product is warranted to the original purchaser to be free from defects in materials and workmanship under normal consumer use for a period of five (5) years from the original purchase date or thirty (30) days after replacement, whichever occurs later.
The warranty provider’s responsibility with respect to this limited warranty shall be limited solely to repair or replacement, at the provider’s discretion, of any product that fails during normal use of this product in its intended manner and in its intended environment.
Inoperability of the product or part(s) shall be determined by the warranty provider. If the product has been discontinued, the warranty provider reserves the right to replace it with a model of equivalent quality and function.
This warranty does not cover damage or defect caused by misuse, neglect, accident, alteration, abuse, improper installation or maintenance. EXCEPT AS PROVIDED HEREIN, THE WARRANTY PROVIDER MAKES NEITHER ANY EXPRESS WARRANTIES NOR ANY IMPLIED WARRANTIES, INCLUDING BUT NOT LIMITED TO ANY IMPLIED WARRANTY OF MERCHANTABILITY OR FITNESS FOR A PARTICULAR PURPOSE. This warranty provides you with specific legal rights, and you may also have additional rights that vary from state to state.
To obtain warranty coverage, contact the Gabor Customer Service Department to obtain a return merchandise authorization (“RMA”) number, and return the defective product to Gabor along with the RMA number and proof of purchase. Shipment of the defective product is at the purchaser’s own risk and expense.
For more information or to arrange service, visit www.madebygabor.com or call Customer Service at 212-594-2353.
Product warranty provided by the Gradus Group.
www.gradusgroup.com
Gabor is a registered trademark of the Gradus Group.
© 2021 Gradus Group LLC. All Rights Reserved.






























