
![]()

DESCRIPTION OF SYMBOLS USED
DANGER SIGNALS
WARNING: Important Information!
Wear gloves
REMARKS
General indications with no danger to people or objects
Please read this!
Visual Examination
AREA OF APPLICATION
The torque wrench is used for dental requirements in the area of dental surgery (enamel and dentine treatment, cutting crowns. etc); any other form of use is forbidden and can cause danger. (1) This is an instrument with a precise system of torque control allowing the screwing of prosthetic parts at a definite torque.
For this torque wrench, we applied Community Directive 93/42/EEC, transposed by the French regulations on medical equipment (Official Bulletin – L169 – 12 July 1993).
In accordance with these provisions, the torque wrench must only be used by someone with experience of dental medicine, and specially knowledge in implantology as well as in prosthetic technique related to the dental implant for the application described here above, and in compliance with the provisions in effect in relation to the prevention of accidents at work, protection of employment and the instructions for use.
In accordance with these provisions, the user must:
– only use working instruments without defects,
– observe the principle of correct use,
– protect themselves and the patient or third party against any danger
– prevent all contamination by the product.
GENERAL SAFETY INFORMATION
Before use, check that the torque wrench is not damaged or that no part of it is missing. Use protective gloves, glasses and a mask. After insertion of a rotary instrument, check that it is correctly held, by a slight rotary movement. Do not handle the rotary instrument during operation.
If you press the push button during the operation of the instrument, the mandrel can get out of its position. It is recommended to the practitioner to test the torque wrench before using it on the patient in order to check the good functioning.
In the event of visible malfunction or damage, immediately stop using the instrument and inform your approved distributor or the manufacturer.
In the event of any questions on the equipment, contact either your approved distributor or the manufacturer.
TECHNICAL CHARACTERISTICS
| Weight (g) | 130 |
| Input power | Manual |
| Tool type according to NF EN ISO 1797-1 | Type 1 |
| Diameter of tools (mm) according to NF EN ISO 1797-1 | 2.35 |
| Head height (mm) | 12 |
| Head angulation (°) | 100 |
| The maximum total length of the tool (mm) * | 34 |
| Precision (N.cm) | +/- 1.5 |
* Approximate values: In the event of the use of rotational instruments which are longer in diameter, the user is responsible for the appropriate choice of operating conditions that will prevent any risk to the patient or to another person.
Table of the torque value according to Anthogyr prosthetic parts
* In general :
| 10 | 15 | 20 | 25 | 30 | 32 | 35 | |
| M2 covering screw | ✓ | ||||||
| M2 healing screw | ✓ | ✓ | ✓ | ||||
| M2 prosthetic screw (gold, titanium) | ✓ | ✓ | ✓ | ||||
| M2 gingival abutment (gold, titanium) | ✓ | ✓ | ✓ | ✓ | |||
| M1,4 prosthetic screw-on abutment (gold, titanium) | ✓ | ✓ | |||||
| M1,6 prosthetic screw (titanium) | ✓ | ✓ |
All the values are indicative. In choosing the torque, follow the recommendations of the implant manufacturers.
USING THE TORQUE WRENCH
The torque wrench is supplied unlubricated and unsterilized. Before first using it, the torque wrench must be lubricated and sterilized. (See “Hygiene and maintenance” §.).
Before use, check that the torque wrench is not damaged and no part of it is missing.
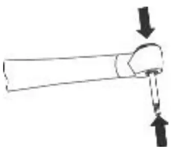
5.1. Connecting/disconnecting the rotary instrument
The use of protective gloves is recommended each time the tools are handled. Check
the condition of the rotating instruments to be used, and handle them properly and carefully. Inspect the push button regularly to ensure that it is properly fixed.
To insert and tight the mandrel
– Apply pressure with the thumb to the center of the push button.
– Put the instrument into position by turning it slightly in both directions, until it engages, then release the push button.
– Check that the rotating instrument is properly attached, through a slight axial movement on each tool change.
Removal of the rotating instrument
– Apply pressure with the thumb to the center of the push button.
– At the same time, remove the rotating instrument.
5.2. Torque selection
– Turn the selector A in the direction of the arrow while maintaining the B ring fixed
– The torque values are indicated on the instrument.
– The implant manufacturer’s recommendations are to be followed when choosing the torque.
5.3. How to screw and reach the torque
Screwing/ Unscrewing
– Maintain the torque wrench in one hand.
– Turn the cylindrical component B until an audible click is heard, indicating that declutching has taken place and that the selected torque has been attained.
Medical device lifecycle If used in a proper manner, all medical device parts have a two-year lifecycle (corresponding to 250 sterilization cycles). However, these indications are not a warranty because wear may appear prematurely, depending on how the device is maintained (cleaning and sterilization).
HYGIENE AND MAINTENANCE
The re-sterilization of reusable medical devices must be performed by a properly trained and protected member of staff, in accordance with the regulations currently in force. The re-sterilization protocol must take into account the risk of infection. Refer to the manufacturer’s instructions for each product used. Take particular care to adhere to the instructions regarding concentrations, lengths of exposure, the replacement of solutions, and the lifespan of the products. Never combine products. Adhere to the guidelines regarding the disposal of used products.
Wear suitable protective clothing.
In order to avoid any risk of infection and injury, it is vital to wear protective gloves.
Never immerse the torque wrench in any kind of solution. Never clean the torque wrench in an ultrasonic tank.
6.1. Cleaning
The device must be cleaned immediately after the operation.
Use only detergent or disinfectant solutions with a neutral or slightly alkaline PH. It is extremely unadvisable to use products which may fix X proteins to the unit (eg.alcohol, aldehydes…).
Do not use sodium hypochlorite (bleach) : there is a high risk of corrosion.
External cleaning
The torque wrench can be cleaned by using a brush under tap water. External disinfection using a spray or a wipe soaked with disinfectant products microbiologically controlled (ph between 2.5-9). In any case, it is important to follow the reaction time of the disinfectant product used.
Do not use disinfectants containing alkaline and chlorine.
Do not immerse the torque wrench in a disinfectant solution or in an ultrasound container.
6.2. Lubrification
This should be done before using for the first time, and before each sterilization.
Keep away from any source of heat or ignition. In particular, do not smoke!
Wear a protective face mask.
– Place a turbine-type nozzle (P/N 1933X) on the spray can.
– Place the spray can nozzle into the opening located on the backside of the torque wrench.
– Maintain the spray can nozzle against the torque wrench until the pressure drops again. Vaporize for 1 to 2 seconds. The oil passes over the entire instrument, acting as a cleanser and a lubricant. Prior to each sterilization, lubrication is to be carried out using a spray can.
Sterilization
We strongly recommend the use of a class B sterilizer. Any other method of sterilization should be avoided.
Read the instruction leaflet provided by the sterilizer manufacturer. Adhere to the space specified between pouches and do not overload the sterilizer.
– Only sterilize instruments that have previously been disinfected, cleaned, lubricated, and tested.
– Remove the rotating instrument from the torque wrench prior to sterilization. (See §5.1)
– Make sure that the device does not have any areas of corrosion or cracks, and check that it is operating properly. Ensure that the product is dry; if necessary, dry any residual water with medical quality pressurized air.
– Use sterilization pouches suitable for the torque wrench and the sterilizer. Always use one single torque wrench per pouch.
– In order to prevent any retention of water, place the pouch in the sterilizer in such a way that any concave parts are face down.
– If the sterilizer has several types of cycle, choose a cycle designed for medical devices (a minimum of 135°C at 2.13 bars (275°F at 30.88 psi) for 18 minutes.)
– After each sterilization cycle, check that there is no water remaining on the inside and outside of the packaging.
Make sure that the flow indicator has changed to the correct color.
– Keep the devices in the sterilization pouches away from light, moisture, and any kind of contamination. Follow the manufacturer’s recommendations as seen on the packaging. – The duration for which the device is kept after sterilization should not exceed 1 month. Label the devices, specifying the expiration date. After the expiration date, repeat the cleaning and sterilization procedure.
CALIBRATION
In order to maintain the precision of the torque values, it is recommended that the torque wrench be returned for calibration every 2,000 uses or every 2 years.
REPAIR
In the event of breakage, please contact your approved distributor or the Anthogyr after-sales service department directly.
All repairs must be carried out with parts and subassemblies approved by the manufacturer.
Repairs must only be carried out by an approved distributor or by the after-sales service department in the factory.
For service or repair, the equipment must be returned complete and sterile to the after-sales service department. The equipment must be sent together with a document stating the problem as well as the complete name and address of the dentist.
For any claims to be considered under the guarantee, please enclose a copy of the invoice or the delivery note with the equipment. For every service or repair, send the complete torque wrench. Replacement parts are available for 7 years beyond the sales discontinuation of the model.
GUARANTEES
This MD is guaranteed parts and labor against all manufacturing defects for 12 months from the date of invoice.
This guarantee does not apply to wear and tear parts.
All changes or additions to the product without the express agreement of Anthogyr render this guarantee null and void.
The guarantee becomes null and void if the technical instructions are not followed.
Anthogyr cannot be held responsible for damage resulting from or which could result from normal wear, use, cleaning or incorrect maintenance, the non-observance of instructions for use or connection, scaling or corrosion, impurities in the water supply system or unusual chemical or electrical influences or nonobservance of the instructions, maintenance instructions, and assembly of Anthogyr and other manufacturer’s instructions.
Delivery charges incurred when sending an instrument back to Anthogyr for repair will be paid by the client, even if the repair itself is covered by the guarantee.
Postage and packing fees when returning the instrument to the client are covered by the guarantee.
So that guarantee requests are taken into consideration, please attach a copy of the invoice or a copy of the delivery slip to the MD.
MEDICAL DEVICE REFERENCES
Description
DYNAMOMETRIC C.A TORQCONTROL
DYNAMOMETRIC C.A TORQCONTROL
DYNAMOMETRIC C.A TORQCONTROL
References 15501 15501-P 15501S
DISPOSAL OF THE PRODUCT
As far as is currently known, the product does not contain any substances which are harmful to the environment. The product must be sterilized before being disposed of. Observe national rules with regard to disposal.
2237 avenue André Lasquin 74700 SALLANCHES – FRANCE
Tél. +33 (0) 4 50 58 02 37
Fax +33 (0)4 50 93 78 60
N°SAV / Repairs : 33 (0)4 50 58 50 53
E-mail : [email protected]
www.anthogyr.com
16315500_NOT_A
Validity date : 2021-03
Made in France
















