User’s Manual
Automatic Sediment Filter
52365
Illustration similar, may vary depending on model
52365 Automatic Sediment Filter
Read and follow the operating instructions and safety information before using for the first time.
Technical changes reserved! Illustrations, functional steps, and technical data may deviate insignificantly due to continuous further developments.
Updating the documentation
If you have suggestions for improvement or have found any irregularities, please contact us.
The information contained in this document may alter at any time without prior notice. No part of this document may be copied or otherwise duplicated without prior written consent. All rights reserved. WilTec Wildanger Technik GmbH cannot be held liable for any possible mistakes in this operating manual, nor in the diagrams and illustrations shown. Although WilTec Wildanger Technik GmbH has made every possible effort to ensure that this operating manual is complete, accurate, and up-to-date, errors cannot be ruled out entirely. If you have found an error or wish to suggest an improvement, we look forward to hearing from you. Send us an e-mail to: [email protected]
or use our contact form: https://www.wiltec.de/contacts/
The most recent version of this manual in several languages can be found in our online shop: https://www.wiltec.de/docsearch
Our postal address is:
WilTec Wildanger Technik GmbH
Königsbenden
12 52249 Eschweiler Germany
To return your goods for exchange, repair, or other purposes, please use the following address. Attention! To allow for a trouble-free complaint or return, it is important to contact our customer service team before returning your goods.
Retourenabteilung
WilTec Wildanger Technik GmbH Königsbenden 28 52249 Eschweiler Germany
E-mail: [email protected]
Tel: +49 2403 555920
Fax: +49 2403 5559215
Introduction
Thank you for choosing to purchase this quality product. To minimise the risk of injury, we ask you to always take some basic safety precautions when using this product. Please read this operating manual carefully and make sure that you understand it. Keep these operation instructions in a safe place.
Product notes
- The sediment filter can be installed in a horizontal or inclined position; however, it is explicitly recommended to install it in an upright position.
- When installing the device, please note the corresponding national and local prescriptions referring to pipelines, devices, and environment protection.
- Install the sediment filter so that it is not exposed to intense sunlight; this might provoke deformations and damages to non-metal components.
- The device can only be used together with cold water. Do not install it in a warm-water conduct.
- Do not use this filter together with water coming from an unknown source. Only use it for tap water. The sediment filter can be used together with communal water.
- Make sure that the transparent filter housing does not come into contact with chemical solvents or abrasive materials; these would damage the housing.
- Respect the special national provisions referring to the elimination of used electric devices. These provisions can differ depending on the country and region. Only eliminate the filter in accordance with the pertinent prescriptions of the country and the local authorities. · After delivery, check the parts for completeness and intactness.
Scope of delivery

| № | Name | № | Name |
| 1 | Main product | 4 | Power-supply unit |
| 2 | Holder and screws | 5 | Pipe saddle |
| 3 | Drain hose (3 m) | 6 | Brass connection piece |
Technical specifications
| Connections | 33.89 IT (G1″) / 26.16 ET (G¾″) |
| Operating pressure (bar) Permeability of the filter (µm) | 2–7 |
| 40–80 | |
| Temperature range (℃) Size (㎜) | 5–49 |
| 133 × 105 × 381 |

Mounting
The automatic sediment filter must be connected to the tap-water source of your house (behind the water level indicator) to be able to clean the entire supply of drinking water. In case there is a water softening or a heating system, this system must be preceded by the automatic sediment filter (as shown in the following illustration).

Proceeding
The automatic sediment filter must be connected to the tap-water source of your house. It filters out the sediment particles found in the water, is able to clean itself automatically and on a regular basis, and empties out the dirt that it has collected.
Attention! This product is used to reduce the quantity of sand, gravel, hard dirt, and other sediments in the water. In case the source water contains viscous depositions, e.g., clay, you must take the filter apart and clean the filter sieve.
The device is also equipped with an electronic control. The “Flush cycle time” and “Flush seconds” can be set. The “Flush cycle time” setting value defines the number of days between two flushings; the “Flush seconds” setting value defines the number of seconds that the individual flushing shall last.
The electric control system works with a standard transformer or with 6 V batteries. The control panel indicates a low tension and the sign “EE” in case the battery requires to be replaced. To avoid any battery replacement, it is recommended to use the transformer.
The tissue of the standard filter sieve is 60 micron. However, you can also choose a 100 micron or 150 micron filter sieve if necessary.
Vertical installation
- To work normally, the automatic sediment filter is installed in a vertical position.
- The cartridge filter should point downwards.
- If possible, the filter should be installed on a horizontal pipe.
- In case the pipe that you wish to install the filter on is vertical, you must use an additional 90° elbow.
There must be a 15 cm distance under the lower cartridge and over the upper cover for you to be able to take off the filter housing when cleaning and replacing the filter sieve and the upper cover when removing a component (e.g., the battery for replacement; see fig.).

Inverting function of the control panel
The side labelled IN of the automatic sediment filter must be the inlet. You can open the upper cover of the filter to determine the correct installation position of the inlet and outlet with the help of the IN and OUT symbols. Depending on the installation conditions and the different position of the inlet and outlet, the control panel can be inverted as shown.
- To do so, remove the upper cover of the lid of the housing.
- Use a screwdriver to untighten the two screws of the control panel.
- Lift the entire control panel and turn it by 180°. While doing so, make sure not to damage the connection valve and electric cable attached to the card.
- Fix the control panel at the corresponding position in the opposite direction and retighten the two screws.
- Re-place the lid onto the valve and screw it tight.

1. Remove the two screws to turn the control panel.
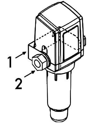
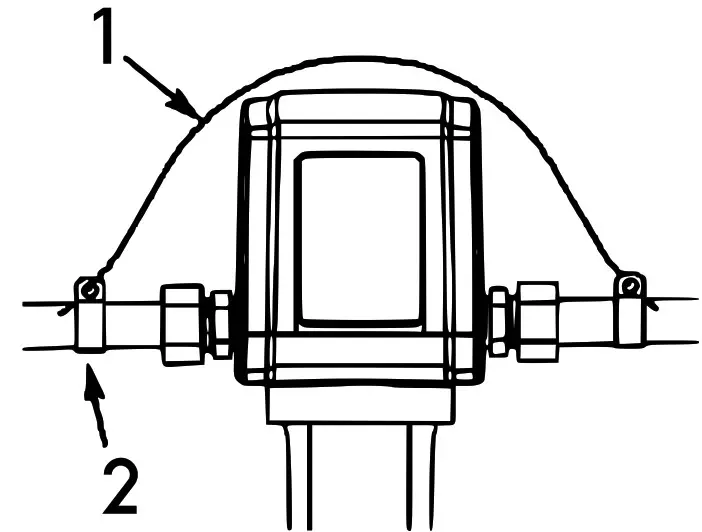
Bracket
Included in the scope of delivery, there are a metal bracket and two brass connection pieces with that you attach the filter to the pipe. You can fix the filter to a wall or frame construction (as shown).
Before fixing the filter to the pipe, you should attach it at the bracket first by using the two brass connectors; only then attach it to the pipe.
Attention! If using a hard pipe (e.g., PPR or metal pipe) for the connection, you must fix the filter to the bracket first; otherwise, the filter cannot be fixed.

- Bracket
- Brass connection pieces
Installation requirements
Installation standard
All installation procedures should answer to the pertinent provisions of the national and local authorities.
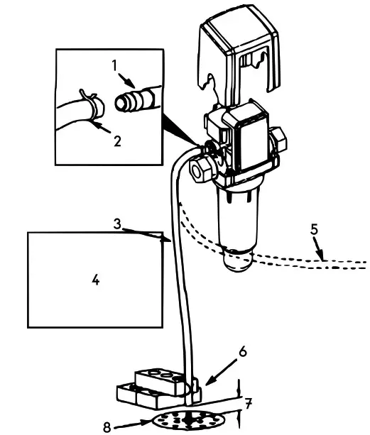
Air-gap requirement
It is better to install the filter near the floor drain, the drain of the washer, and the vertical drain pipe, as the wastewater must be able to flow off correctly from the washer. The drain pipe must be fixed, as the water flows out of the drain pipe with high speed when flushing. Moreover, there must be an air gap of approx. 4 cm between the end of the drain pipe and the bottom sieve. This gap can prevent that wastewater be sucked back into the filter. The drain pipe cannot be inserted into the bottom sieve.
Installation requirement for drain pipe
The drain pipe should not exceed 3 m of length and be short and straight; otherwise, it could impair the automatic flushing performance. It in particular water softening system that can have a flow rate going from 19 to 38 /min (510 gpm; the actual speed depends on the water source pressure). The depositions are removed when flushing at a low water pressure.
Drain pipe connection

| № | Name |
| 1 | Fitting |
| 2 | Connecting clamp |
| 3 | Drain pipe |
| 4 | Attention! Make sure to fix the drain pipe correctly and to check if the pipe shakes when water is drained, as the flow rate is approx. 34 ℓ ⁄min under a high water pressure. |
| 5 | The pipe must be properly fixed if not connected to the floor grid. |
| 6 | Place the pipe outlet in the centre of the floor grid and fix it correctly. |
| 7 | 4 cm air gap |
| 8 | Floor grid |
About the earth cable (when connecting to a metal pipe)
In certain houses, metal pipes are used as earth cables to avoid electric shocks. When connecting the automatic sediment filter to such a metal pipe, it will destroy the circuit. To avoid this, you can use a copper wire firmly clamped into a metal pipe and linked with both ends to the automatic sediment filter.

| № | Name |
| 1 | Earth cable connection (should be provided by user) |
| 2 | Pipe saddle (should be checked by user) |

| № | Name |
| 1 | 4 cm air gap |
| 2 | Washbasin |
| 3 | Drain pipe |
Notes on installation
Drain pipe installation
Do the following steps before permitting water to enter the system:
- Choose a drain pipe with an appropriate length and connect it to the drain. Fix it with a standard pipe saddle.
- Install the drainpipe near the bottom grid. Fix it in case it should shake when the machine begins to flush. Pay as well attention to the air gap.
Tightness check
- After the installation, open the water supply valve.
- Make sure that all connectors are tight.
- Make sure that the circuitry is dry before switching the device on.
Battery installation (battery not included)
- Insert the 4 AA batteries into the battery compartment.
- Remove the cover and make sure that the device is vertical.
- Connect the plug of the battery compartment with the connection socket of the card.
- Set the battery compartment connected into the battery compartment slot.
- Reset the cover and attach it to the correct position.

| № | Name | № | Name |
| 1 | over | 4 | Pipe saddle |
| 2 | Drain opening | 5 | Slot |
| 3 | Battery compartment |
Power-supply unit
The power-supply unit can replace the batteries concerning in terms of power supply.
Note! Do not use other power-supply units than the one included in the scope of delivery.
To install the power-supply unit, do the following steps:
- Remove the cover.
- Remove the battery compartment installed, then unplug the battery connection plug (very important!).
- Plug the round plug of the power-supply unit into the socket of the card.
- Connect the power-supply unit to the mains.
- Put the power-supply cable into the cable slot of the inlet.
- Re-place the cover onto the device, making sure that no wire are pinched.

| № | Name/explanation | № | Name/explanation |
| 1 | Plug the plug into the power connection of the card. | 3 | Standard power-supply unit |
| 2 | Power supply | 4 | Put through the slot. |
Setting the electronic control
Keys
- SET
- LEAN
Factory settings
- Flush cycle: 7 days
- Flush duration: 60 s
LCD background lighting
When pressing one of the keys, the L D background lighting is lit. To save energy, the L D background lighting is turned off if during 10 s no other key has been pressed.
Starting the device up
- When starting the device up, the screen will indicate the software version number for a short moment (e.g., “01”).
- After that, it indicates the days of flush cycle, e.g., “7,” and in the meantime, the “Work” status is shown.
- Press the ” LEAN” key to flush by hand when starting the device up for the first time.
Starting flushing by hand
- Make sure that the drain pipe has been fixed and does not have any leakage before commissioning the device.
- With the “Work” mode activated, press the LEAN key and pass to the flush mode. “Flush” is shown on the screen, two “0” signs start to flash.
- The device opens the flush valve automatically until flushing has finished. After that, it indicates the days of flush cycle, e.g., “7,” and, at the same time, the “Work” status is shown.
- With the “Flush” mode activated, press the LEAN key. The valve is closed immediately and flushing stopped.
- With the “Flush” mode activated, the SET key is inoperable.
- However, you can manually start flushing without the automatic flushing function being activated.

| № | Explanation |
| 1 | Press LEAN key. |
| 2 | With the “Flush” mode activated, press the LEAN key again to stop flushing and return to the “Work” mode. |
| 3 | Two “0” begin to flash. |
Setting of days and seconds
- Adjust the days of flushing cycle. Press the SET key for more than 2 s. When the “Set” mode is shown, disengage the key. The “Set” mode is activated, the days of flushing cycle are shown.
- Press the SET key once shortly to increase the day value by 1. After the day value has been increased to 30, the value will return to 0. With the value set to 0, the automatic flushing function is deactivated; however, you can press the LEAN key to start flushing by hand.
- When the screen shows the day value, wait for 10 s (do not press any other key) until the “Work” mode is shown; it is at that moment that the days of flushing cycle are saved.
- If you do not wish to wait for 10 s, press the LEAN key to save the days of flushing cycle; at the same time, the flushing seconds are shown, e.g., “60 sec.”
- Press the SET key once shortly to increase the seconds value by 1 (199).
- After then flushing seconds have been set, wait for 10 s (do not press any other key) until the “Work” mode is shown. It is at that moment that the flushing seconds are saved; at the same time, the days of flushing cycle are shown, e.g., “8.”
- When you press the LEAN key in the second setting mode, the days setting mode is activated and, at the same time, the flushing seconds are saved.
- The days of flushing cycle and flushing seconds are not deleted when the battery is replaced or the power supply interrupted.

| № | Explanation | № | Explanation |
| 1 | Press the SET key for 2 s to activate the days setting mode. | 4 | Press the SET key once shortly to increase the seconds value by 1. |
| 2 | Press the SET key once shortly to increase the day value by 1. | 5 | Do not press any key for 10 s. Then return to the “Work” mode. The values “8 days” and “61 s” are shown. |
| 3 | Press LEAN key. |
Flushing time
- The days of flushing cycle have been reached.
- Press LEAN key.
Low battery indication
- This status can only be seen in case you use the device with batteries.
- The low battery status and “EE” are shown on the screen; at that moment, the batteries must be replaced.
- In the low battery status, the timer is stopped and the system does not respond to any pressing of a key.

Installing the filter cartridge
Without siliphos filter
- Insert the central drain pipe into the large filter.
- Set the large filter into the housing and pay attention to the O-ring at the large filter.
- Screw the housing onto the lid and make sure that the O-ring of the housing rests in place.
With siliphos filter
- Set the siliphos filter into the large filter and make sure that the siliphos filter is correctly aligned.
- Set the large filter into the housing and pay attention to the O-ring at the large filter.
- Screw the housing onto the lid and make sure that the O-ring of the housing rests in place.
Routine maintenance
Cleaning the filter sieve
At times, it might be necessary to clean the filter, in particular when the water contains clay or mud. To do so, remove the filter housing and clean the filter on a regular basis. If, for certain reasons, the automatic sediment filter has not been flushed for a longer time, it is advisable that you clean the filter by hand to avoid any obstruction.
- Before closing the water valve, prepare a bucket of fresh water to wash the filter.
- Fully close the water valve.
- Open all water cocks present in the room to release the pressure from the filter. After that, close the water cock of the filter.
- Clockwise unscrew the lower part of the housing of the device. Note that a small quantity of water can escape.
- Move off the filter part components and remove the housing.
- Prepare water to wash the filter out. If necessary, use a soft brush to remove depositions found on the tissue of the filter.
- To install a filter, refer to “Installing the filter cartridge.” If using a siliphos filter, read the “Replacing the siliphos filter” section.
- Open a water cock present in the room.
- Open the water supply.
- As soon as there is a constant water flow out of the cock, close it again.
- Make sure that no water leaks off the housing.
Replacing the siliphos filter
In case there is no longer a sufficient quantity of siliphos, the limescale prevention effect is impaired. Buy a new siliphos filter.

| № | Name/explanation |
| 1 | Housing |
| 2 | Screw off clockwise (after having released the water pressure). |
Installation pictures

| № | Name | № | Name |
| 1 | Housing cover | 1 | Housing cover |
| 2 | entral drain pipe | 2 | Siliphos filter |
| 3 | ruciform mounting bracket | 3 | Small stainless-steel net |
| 4 | O-ring | 4 | O-ring |
| 5 | Housing | 5 | Housing |
| 6 | O-ring | 6 | O-ring |
| 7 | Large filter | 7 | Large filter |
Regulations for waste disposal
The Waste Electrical and Electronic Equipment Directive (WEEE Directive, 2012/19/EU) of the EU was implemented in the German law related to electrical and electronic equipment and appliances.
All WilTec electric devices that fall under the WEEE directive are labelled with the symbol of a crossedout wheeled rubbish bin. This symbol indicates that this electric device must not be disposed of with the domestic waste.
WilTec Technik GmbH is registered with the German registration authority EAR (Stiftung ElektroAltgeräte Register) under the WEEE-registration number DE45283704.
Disposal of used electrical and electronic devices (intended for use in the countries of the European Union and other European countries with a separate waste collection system for these devices). The symbol on the packaging or the product itself indicates that this product must not be treated as normal domestic waste but must be disposed of at a recycling collection station for electrical and electronic waste. By disposing of this product correctly, you contribute to the protection of the environment and the health of your fellow people. Inappropriate disposal threatens the environment and health.
Material recycling helps to reduce the consumption of raw materials.
Additional information about the recycling of this product can be provided by your local commune, the municipal waste disposal facilities, or the store where you purchased the product.
Address:
WilTec Wildanger Technik GmbH
Königsbenden 12 / 28
52249 Eschweiler Germany
Important Note:
Reproduction and any commercial use (of parts) of this operating manual, requires a written permission of WilTec Wildanger Technik GmbH.
https://www.naturewater.eu
Item 52365
















