Bestway 58497 Hmax 1.5 m Flowclear Sand Filters

SAFETY INSTRUCTIONS
WARNING
IMPORTANT SAFETY INSTRUCTIONS –
READ AND FOLLOW ALL SAFETY INSTRUCTIONS – SAVE THESE INSTRUCTIONS
When installing and using this electrical equipment, basic safety precautions should always be followed, including the following:
- The pump is to be supplied by an isolating transformer or supplied through a residual current device (RCD)having a rated residual operating current not exceeding 30 mA.
- The power source on the wall of building should keep more than 4m away from pool.
- The appliance must be supplied by earthed power source.
- RISK OF ELECTRIC SHOCK – The pump cannot be using while people are inside the pool. Forbid the access of the pool in case of damage of the sand filter.
- DO NOT BURY CORD. Locate cord to minimize abuse from lawn mowers, hedge trimmers, and other equipment.
- To reduce the risk of electric shock, replace damaged cord immediately.
- If the supply cord is damaged, it must be replaced by the manufacturer, its service agent or similarly qualified persons in order to avoid a hazard.
- Extension cords can’t be used.
- Risk of electric shock. Using the sand filter with an unmatched electrical supply is dangerous and will permanently damage the sand filter.
- Do not remove the grounding prong or modify the plug in anyway. Do not use adaptor plugs. Consult a qualified electrician for any questions relating to validity of your plugs or grounding.
- Handle the sand filter with care. Do not pull or carry the sand filter by the power cord. Never pull a plug from the outlet by yanking the power cord. Keep cord free from abrasions. Sharp objects, oil, moving parts, and heat should never be exposed to the sand filter.
- Always unplug this product from the electrical outlet before removing, cleaning, servicing or making any adjustment to the product.
- Don’t plug or unplug the appliance if hand is wet
- Always unplug the appliance:
- On raining days
- Before cleaning or other maintenance
- Leave it unattended on holidays
- When the appliance will be not used for long time, such as in the winter, the pool set should be disassembled and stored indoor.
- CAUTION: Read the instruction before using the appliance and installation/reassembly every time.
- Safekeeping the instruction. For reconstruction the pool set every time, please always refer to the instructions.
- If instruction is missed, please contact with Bestway or search it in website: www.bestwaycorp.com
- Electric installations should follow national wiring rules. Consult a qualified electrician for any questions.
CAUTION: This sand filter is for use with storable pools only. Do not use with permanently-installed pools. A storable pool is constructed so that it is capable of being readily disassembled for storage and reassembled to its original integrity. A permanently-installed pool is constructed in or on the ground or in a building such that it cannot be readily disassembled for storage. - This appliance can be used by children aged from 8 years and above and persons with reduced physical, sensory or mental capabilities or lack of experience and knowledge if they have been given supervision or instruction concerning use of the appliance in a safe way and understand the hazards involved. Children shall not play with the appliance. Cleaning and user maintenance shall not be made by children without supervision.
- Cleaning and user maintenance must be performed by an adult above18 years old who is familiar with the risk of electric shock.
NOTES: - Place the sand filter on solid, level ground. Ensure the sand filter is at least 3.5 meters away from poolside. Keep distance as far as possible.
- Pay attention to position pool and sand filter so adequate ventilation, drainage, and access for maintenance is available. Never place the sand filter in an area that may accumulate water, or on a walking path with lots of foot traffic.
- It is necessary to have the plug accessible after installation of the pool. The plug of the sand filter shall be at least 3.5m away from the pool.

- Atmospheric conditions may affect the performance and life span of the sand filter; take adequate precautions to protect the sand filter from unnecessary wear and tear that may occur during periods of cold or hot weather and/or exposure to sun.
- Please examine and verify all sand filter components are present before use. Notify Bestway at the customer service address listed on this manual for any damaged or missing parts at the time of purchase.
- It is imperative to change as soon as possible all deteriorated parts. Only use parts approved by the manufacturer.
- Do not allow children or adults to lean or sit on the apparatus.
- Do not add chemicals to the sand filter.
- When chemical products are used to clean the pool water, it is recommended to respect a minimum filtration time to preserve the health of swimmers which depends on compliance of health regulation.
- Only the media provided or specified by the manufacturer is to be used with product installation.
- It is essential to check that the suction openings are not obstructed.
- It is advisable to stop the filtration during maintenance operations on the filtration system.
- Regularly monitor the filter clogging level.
- A weekly check is recommended for backwashing or cleaning. Minimum daily filtration operating time of 8 hours is recommended to
ensure clear pool water. - It is essential to change any damaged element or set of elements as soon as possible. Use only parts approved by person responsible for placing the product on the market.
- All filters and filter media shall be inspected regularly to ensure that there is not a build-up of detritus thus preventing good filtration. The disposal of any used filter media should also be in accordance with applicable regulations/legislation.
- Mind all the safety requirements and recommendations described in the manual. In case of doubt on the pump or any circulation devices, contact a qualified installer, or the manufacturer/importer/distributor. The water circulation installation shall comply with the European as well as national/local regulations, especially when dealing with electrical issues. Any change of valve position, pump size, grille size can cause a change of the flow and the suction velocity can be increased.
- This product is not intended for commercial use.
PLEASE READ THE INSTRUCTION MANUAL CAREFULLY
AND KEEP IT FOR FUTURE REFERENCE.
SAVE THESE INSTRUCTIONS
RCD WARNING
WARNING: Before inserting plug into a power outlet, make sure the current rate of the power outlet is suitable for the sand filter.
WARNING: Risk of electric shock. The RCD plug must be tested before each use.
WARNING: Insert the RCD plug into a residual current device (RCD) having a rated residual operating not exceeding 30 mA.
WARNING: Do not use the sand filter if this test fails. For assistance, please visit the support section on our website, www.bestwaycorp.com.
PUMP DISPOSAL
Meaning of crossed-out wheeled dustbin:
Waste electrical products should not be disposed of with household waste. Please recycle where facilities exist. Check with your local authority or retailer for recycling advice.
SPECIFICATIONS
|
| Filter Diameter: | 385 mm |
| Effective Filter Area: | 0.11 m2(1.18 ft2) | |
| Max. Operating Pressure: | 0.83 Bar(12 PSI) | |
| Working sand filter pressure: | <0.45 Bar(6.5 PSI) | |
| Max. Water Temperature: | 35°C | |
| Sand: | Not included | |
| Sand Size: | #20 silica sand,0.45-0.85 mm | |
| Sand Capacity: | Approximately 36 kg |
PARTS REFERENCE OVERVIEW
Before assembling the sand filter, take a few minutes to become familiar with all the sand filter parts.

| REF.NO | SPARE PART NO. | A | B | C |
| 1 | P03831 | 1 | 1 | 1 |
| 2 | P61138ASS16 | 1 | 1 | 1 |
| 3 | P03832 | 2 | 2 | 2 |
| 4 | P61209ASS16 | 1 | 1 | 1 |
| 5 | P03843 | 1 | 1 | 1 |
| 6 | P03844 | 1 | 1 | 1 |
| 7 | P61211ASS16 | 1 | 1 | 1 |
| 8 | P6581ASS16 | 1 | 1 | 1 |
| 9 | P6580ASS16 | 1 | 1 | 1 |
| 10 | P03845 | 1 | 1 | 1 |
| 11 | P6614ASS16 | 1 | 1 | 1 |
| 12 | P6029ASS16 | 5 | 5 | 5 |
| 13 | P03830 | 1 | 1 | 1 |
| 14 | P61214ASS16 | 1 | 1 | 1 |
| 15 | P61210ASS16 | 8 | 8 | 8 |
| 16 | P03829 | 1 | 1 | 1 |
| 17 | P6916ASS16 | 2 | 0 | 0 |
| 18 | P6124ASS16 | 2 | 0 | 0 |
| 19 | P6561ASS16 | 1 | 1 | 1 |
| 20 | P6562ASS16 | 1 | 1 | 1 |
| 21 | P6563ASS16 | 1 | 1 | 1 |
| 22 | P00561 | 1 | 1 | 1 |
| 23 | P03840 | 1 | 1 | 1 |
| 24 | P6028FRASS16 | 2 | 2 | 2 |
| 25 | P61322ASS16 | 1 | 0 | 0 |
| P61318ASS16 | 1 | 0 | 0 | |
| 26 | P6643ASS16 | 1 | 1 | 1 |
ASSEMBLY
(You will need a screwdriver.)
- Carefully remove all components from the package and check to ensure nothing is damaged. If equipment is damaged, immediately notify the retailer from where the equipment was purchased.
- The sand filter should be placed on solid, level ground, preferably a concrete slab. Position the sand filter so the Ports and Control Valve are accessible for operation, servicing and winterizing.
- EN60335-2-41 TEST standard requires the sand filter to be vertically fixed on ground or a certain pedestal made of wood or concrete before use to prevent the sand filter from accidentally falling. Fully assembled sand filter will exceed 18 kg. The mounting holes should be 8 mm in diameter and spaced 86 mm apart. Use two bolts and nuts with a maximum of 8 mm in diameter to fasten the sand filter to the pedestal.
LOAD POOL-GRADE FILTER SAND/FLOWCLEAR™ POLYSPHERE. NOTE: Use only special pool-grade filter sand, free of all limestone or clay: #20 Silica sand 0.45-0.85 mm, approximately one 36 kg bag should suffice. If you do not use the recommended size filter sand, filtering performance will be reduced and the sand filter may damaged, thereby voiding warranty.
IMPORTANT: We suggest using #20 silica sand with your pool sand filter. It is specially graded to trap particles in the 20 – 100 micron range.
Some small debris can pass throw the sand and back into the pool. This is normal, especially if the debris is fine or silt.
To limit this, it is better to follow the maintenance instructions, and backwash and rinse when necessary.
We also suggest contacting your pool dealer for the chemical product specifically made to clean the sand. The correct maintenance of the sand will optimize the cleaning efficiency and avoid accumulation of oils or scale.
When you are vacuuming the bottom of the pool that has a large amount of debris, we suggest to backwash the sand when you finish cleaning half of the pool.
Remember to backwash and rinse the sand after vacuuming the bottom of the pool each time.
NOTE: To avoid damaging the Skimmer when adding sand, pour some water into the Bottom Tank to submerse the Skimmer on the Collector Hub.
NOTE: Sand/Flowclear™ Polysphere not included.
NOTE: Use 28 g (0.06 lbs) Flowclear™ Polysphere to replace 1 kg (2.20 lbs) sand.

CONNECT TO THE POOL


FOR POOL WITH 32 MM (1.25 IN.) VALVE

STOP Before switching on, please read the manual carefully.
RCD TEST

OPERATION
TIMER
- Plug into power source, adjust power switch to “ON” (-) position. The sand filter will begin working immediately.
- Adjust power switch to “OFF” (0) position. The sand filter will stop working immediately.

- After turning on, you can adjust work time, rest time and cycle time by turning the knob to desired position. See the table below for more details.
- When the timer knob is moved into new position, the filter’s previous cycle automatically cancels so new cycle can begin.
- Each time the filter is powered on or restarted, a new cycle will begin based on timer knob position.
NOTE: If the knob is adjusted to the 24-hour position (24), the sand filter will work continuously without any rest period.
| Knob Position | Working time(H) | Rest time(H) | Cycle period(H) |
| 4 | 4 | 20 | 24 |
| 6 | 6 | 18 | 24 |
| 8 | 8 | 16 | 24 |
| 10 | 10 | 14 | 24 |
| 12 | 12 | 12 | 24 |
| 24 | 24 | 0 | 24 |
| P4 | 4 | 4 | 8 |
| P6 | 6 | 6 | 12 |
| P8 | 8 | 8 | 16 |
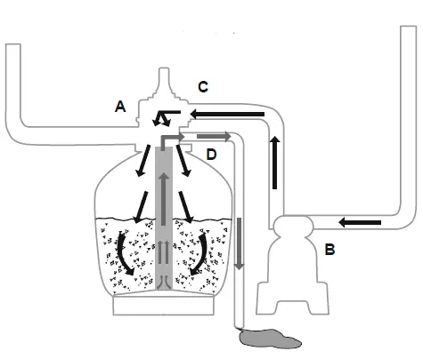
CONTROL VALVE OVERVIEW WARNING: To prevent equipment damage and possible injury, always switch off sand filter before changing the Control Valve function.
Changing valve positions while the pump is running can damage the Control Valve, which may cause personal injury or property damage.
How to Use the Control Valve:
Press down on the Control Valve handle and rotate to desired function.
CONTROL VALVE FUNCTIONS
The Control valve is used to select 6 different filter functions: Filter, Closed, Backwash, Rinse, Drain and Circulate.
Filter: This function is used to filter pool water and should be positioned here 99% of the time. Water is pumped through the sand filter, where it is cleaned and returned to the pool.
Closed: This function stops water flowing between the sand filter and the pool.
Backwash: This function is used to clean the sand bed; water is pumped down through the Collector Hub, upwards through the sand bed, and deposited out of Port D.
Rinse: This function for initial startup, cleaning, and sand bed leveling after Backwash; water is pumped downwards through the sand bed, up through the Collector Hub and deposited out of the valve Port D.
Drain: This function drains water from the pool; another filter bypass setting, water is pumped and deposited out of Port D, instead of returning it to the pool.
Circulate: This function circulates pool water by passing the sand filter; use this function if the filter is broken to collect debris in the Debris Screens.
NOTE:
- Be sure all provisions for wastewater disposal meet applicable local, state or national codes. Do not discharge water where it will cause flooding or damage.
- When the Control Valve is set to the Backwash, Rinse, or Drain position, water will discharge from Port D on the Control Valve.
- Do not switch on or operate the sand filter with the Control Valve set to the Closed function or it will seriously damage the sand filter.
- Do not set the Control Valve between two functions, or it will lead to leaking.
- To avoid water leakage, screw the Port D Cap onto the Control Valve Port D before operating the sand filter.
AIR RELEASE
Press down the control valve handle and wait until the water flow from Port D to release the air.
NOTE: It is important to repeat this operation every time you start the pump after winterizing, maintenance and backwashing the sand bed.
FIRST TIME USE INSTRUCTIONS
Backwash and Rinsing must be performed to prepare the pump for its first use and to wash the sand.
CAUTION: DO NOT DRY RUN THE SAND FILTER
- Press down on the Control Valve handle and rotate to the Backwash function.
- Plug in and run the sand filter for 3-5 minutes, or until the water runs clear.
- Switch off the sand filter and set the Control Valve to the Rinse function.
- Switch on the sand filter and run the sand filter for 1 min. This circulates water backwards through the sand filter and drains water out Port D.
- Switch off the sand filter. Set the Control Valve to the Closed function.
- Top up pool water if required.

IMPORTANT: This procedure removes water from the pool, which you’ll need to replace.
Switch off the sand filter immediately if water levels near the pool’s Inlet and Outlet valves.
- Now the sand filter is ready for use. Set the Control Valve to the Filter function.
NOTE: To prevent the risk of electrical shock dry any excess water from yourself and the sand filter. - Switch on the sand filter to run it.
NOTE: The sand filter has now started its filtering cycle. Check that water is returning to the pool and take note of the filter pressure on Pressure Gauge. Generally, the recommended sand filter pressure is less than 0.45 Bar (6.5 PSI) when it is running.
SAND FILTER MAINTENANCE

CAUTION: You must ensure the sand 0.8 filter is switched off and unplugged before any maintenance begins or severe risk of injury or death exists. As dirt builds up in the sand filter, the pressure reading on Pressure Gauge will increase. When the Pressure Gauge is 0.45 Bar (6.5 PSI) or higher, or water flow to the pool is too low, it is time to clean the sand. To clean the sand bed, follow all instructions outlined previously in:
Backwash and Rinsing.
NOTE: Pressure gauge is for maintenance purpose only, and the pressure gauge value is just for reference, it should not be used as a precision instrument.
NOTE: We recommend you clean the sand bed once a month or less regularly depending on how often the pool is used. Do not clean the sand too frequently.
CLEANING THE STRAINER
- Switch off the sand filter and set the Control Valve to the Closed function.

- Close the connection valves.

- Remove the Strainer Cover by unscrewing it.

- Take out the Strainer, remove any debris.

- Put the Strainer back into position. Ensure the hole in the strainer is aligned.
- Ensure the Seal Ring is in place. Secure the Strainer Cover back.
- Open the connection valves.
NOTE: The Strainer must be emptied and cleaned periodically. A dirty or blocked strainer will reduce the performance of the sand filter.
LOWERING OR DRAINING POOL WATER
- Switch off the sand filter and set Control Valve to the Drain function.
- Detach the Hose from the pool’s Port A and sand filter Port A and attach to Port D.
- Switch on the sand filter and press the “RESET” button to run the filter and remove the pool water.
WARNING: DO NOT DRY RUN THE SAND FILTER.
STORAGE
In areas that have freezing winter temperatures, pool equipment must be winterized to protect against damage. Allowing water to freeze will damage the sand filter and void warranty.
- Backwash the sand filter.
- Drain the pool according to the pool owner’s manual.
- Unscrew the drain valve cap at the bottom of the tank and release the remaining water.
- Disconnect the two Hoses from the pool and the sand filter.
- Completely pour the sand out of the tank and dry all components.
- Store the sand filter in a dry location out of child’s reach.
TROUBLESHOOTING
| Problems | Probable Causes | Solutions |
| Sand is flowing to the pool |
|
|
| No water flow |
|
|
| Excessive filter pressure |
|
|
| Control Valve leaks from the port D |
|
|
| Connectors leak |
|
|



























