
SAND FILTER
OWNER’S MANUAL
Visit Bestway YouTube
channel![]()
SAFETY INSTRUCTIONS
WARNING
IMPORTANT SAFETY INSTRUCTIONS – READ AND FOLLOW ALL SAFETY INSTRUCTIONS – SAVE THESE INSTRUCTIONS
When installing and using this electrical equipment, basic safety precautions should always be followed, including the following:
- The pump is to be supplied by an isolating transformer or supplied through a residual current device (RCD)having a rated residual operating current not exceeding 30 mA.
- The power source on the wall of the building should keep more than 4 m away from the pool.
- The appliance must be supplied by the earthed power source.
- RISK OF ELECTRIC SHOCK – The pump cannot be used while people are inside the pool. Forbid the access of the pool in case of damage to the sand filter.
- DO NOT BURY THE CORD. Locate cord to minimize abuse from lawn mowers, hedge trimmers, and other equipment.
- To reduce the risk of electric shock, replace the damaged cord immediately.
- If the supply cord is damaged, it must be replaced by the manufacturer, its service agent, or similarly qualified persons in order to avoid a hazard.
- Extension cords can’t be used.
- Risk of electric shock. Using the sand filter with an unmatched electrical supply is dangerous and will permanently damage the sand filter.
- Do not remove the grounding prong or modify the plugin anyway. Do not use adaptor plugs. Consult a qualified electrician for any questions relating to the validity of your plugs or grounding.
- Handle the sand filter with care. Do not pull or carry the sand
filter by the power cord. Never pull a plug from the outlet by
yanking the power cord. Keep cord free from abrasions.
Sharp objects, oil, moving parts, and heat should never be
exposed to the sand filter. - Always unplug this product from the electrical outlet before removing, cleaning, servicing, or making any adjustments to the product.
- Don’t plug or unplug the appliance if the hand is wet.
- Always unplug the appliance:
- On raining days
- Before cleaning or other maintenance
- Leave it unattended on holidays
- When the appliance will be not used for a long time, such as in the winter, the pool set should be disassembled and stored indoors.
- CAUTION: Read the instruction before using the appliance and installation/reassembly every time.
- Safekeeping the instruction. For reconstruction of the pool set every time, please always refer to the instructions.
- If the instruction is missed, please contact Bestway or search it on the website: www.bestwaycorp.com
- Electric installations should follow national wiring rules. Consult a qualified electrician for any questions.
CAUTION: This sand filter is for use with storable pools only.
Do not use permanently-installed pools. A storable pool is constructed so that it is capable of being readily disassembled for storage and reassembled to its original integrity. A permanently-installed pool is constructed in or on the ground or in a building such that it cannot be readily disassembled for storage. - This appliance can be used by children aged 8 years and above and persons with reduced physical, sensory or mental capabilities or lack of experience and knowledge if they have been given supervision or instruction concerning the use of the appliance in a safe way and understand the hazards involved. Children shall not play with the appliance. Cleaning and user maintenance shall not be made by children without supervision. (For EU market)
- This appliance is not intended for use by persons (including children) with reduced physical, sensory or mental capabilities, or lack of experience and knowledge unless they have been given supervision or instruction concerning the use of the appliance by a person responsible for their safety. Children should be supervised to ensure that they do not play with the appliance. (For markets other than EU)
- Cleaning and user maintenance must be performed by an adult above 18 years old who is familiar with the risk of electric shock.
NOTES: - Place the sand filter on solid, level ground. Ensure the sand filter is at least 2 meters away from the poolside. Keep distance as far as possible.
- Pay attention to the position pool and sand filter so adequate ventilation, drainage, and access for maintenance are available. Never place the sand filter in an area that may accumulate water, or on a walking path with lots of foot traffic.
- It is necessary to have the plug accessible after installation of the pool. The plug of the sand filter shall be at least 3.5 m away from the pool.
- Atmospheric conditions may affect the performance and life span of the sand filter; take adequate precautions to protect the sand filter from unnecessary wear and tear that may occur during periods of cold or hot weather and/or exposure to the sun.
- Please examine and verify all sand filter components are present before use. Notify Bestway at the customer service address listed on this manual for any damaged or missing parts at the time of purchase.
- It is imperative to change as soon as possible all deteriorated parts. Only use parts approved by the manufacturer.
- Do not allow children or adults to lean or sit on the apparatus.
- Do not add chemicals to the sand filter.
- When chemical products are used to clean the pool water, it is recommended to respect a minimum filtration time to preserve the health of swimmers depending on compliance with health regulations.
- Only the media provided or specified by the manufacturer is to be used with product installation.
- It is essential to check that the suction openings are not obstructed.
- It is advisable to stop the filtration during maintenance operations on the filtration system.
- Regularly monitor the filter clogging level.
- A weekly check is recommended for backwashing or cleaning.
Minimum daily filtration operating time of 8 hours is recommended to ensure clear pool water. - It is essential to change any damaged element or set of elements as soon as possible. Use only parts approved by the person responsible for placing the product on the market.
- All filters and filter media shall be inspected regularly to ensure that there is not a build-up of detritus thus preventing good filtration. The disposal of any used filter media should also be in accordance with applicable regulations/legislation.
- Mind all the safety requirements and recommendations described in the manual. In case of doubt on the pump or any circulation devices, contact a qualified installer, or the manufacturer/importer/distributor. The water circulation installation shall comply with European as well as national/local regulations, especially when dealing with electrical issues. Any change in valve position, pump size, or grille size can cause a change in the flow and the suction velocity can be increased.
- This product is not intended for commercial use.
PLEASE READ THE INSTRUCTION MANUAL CAREFULLY AND KEEP IT FOR FUTURE REFERENCE. SAVE THESE INSTRUCTIONS
PUMP DISPOSAL
Meaning of crossed-out wheeled dustbin:
Waste electrical products should not be disposed of with household waste. Please recycle where facilities exist. Check with your local authority or retailer for recycling advice.
SPECIFICATIONS
![]() | Filter Diameter | 270 mm |
| Effective Filter Area: | 0.059 m2(0.635 ft2) | |
| Max. Operating Pressure: | 0.42 Bar(6 PSI) | |
| Working sand filter pressure: | <0.25 Bar(3.5 PSI) | |
| Max. Water Temperature: | 35°C | |
| Sand: | Not included | |
| Sand Size: | #20 silica sand,0.45-0.85 mm | |
| Sand Capacity: | Approximately 8.5 kg |
PARTS REFERENCE OVERVIEW
Before assembling the sand filter, take a few minutes to become familiar with all the sand filter parts.

| REF.NO | SPARE PART NO. | A | B |
| 1 | P61138ASS16 | 1 | 1 |
| 2 | P03822 | 1 | 1 |
| 3 | P03830 | 1 | 1 |
| 4 | P03823 | 2 | 2 |
| 5 | P03825 | 1 | 1 |
| 6 | P03829 | 3 | 3 |
| 7 | P03824 | 2 | 2 |
| 8 | P6005ASS16 | 4 | 4 |
| 9 | P6124ASS16 | 6 | 4 |
| 10 | P6132ASS16 | 1 | 1 |
| 11 | P03828 | 2 | 2 |
| 12 | P05881(EU)/P05883(GB) | 1 | 1 |
| 13 | P6614ASS16 | 1 | |
| 14 | P6029ASS16 | 3 | 3 |
| 15 | P6149ASS16 | 1 | 1 |
| 16 | P6660ASS16 | 1 | 1 |
| 17 | P6661ASS16 | 1 | 1 |
| 18 | P6662ASS16 | 1 | 1 |
| 19 | P6663ASS16 | 1 | 1 |
| 20 | P6664ASS16 | 1 | 1 |
| 21 | P6665ASS16 | 1 | 1 |
| 22 | P6022ASS16 | 2 | 2 |
| 23 | P61322ASS16 | 1 | 0 |
| P61318ASS16 | 1 | 0 |
ASSEMBLY
(You will need a screwdriver).
- Carefully remove all components from the package and check to ensure nothing is damaged. If equipment is damaged, immediately notify the retailer from where the equipment was purchased.

- The sand filter should be placed on solid, level ground, preferably a concrete slab. Position the sand filter so the Ports and Control Valve are accessible for operation, servicing, and winterizing.
- EN60335-2-41 TEST standard requires the sand filter to be vertically fixed on the ground or a certain pedestal made of wood or concrete before use to prevent the sand filter from accidentally falling. A fully assembled sand filter will exceed 18 kg. The mounting holes should be 8 mm in diameter and spaced 285 mm apart. Use two bolts and nuts with a maximum of 8 mm in diameter to fasten the sand filter to the pedestal.
LOAD POOL-GRADE FILTER SAND/FLOWCLEAR™ POLY SPHERE
NOTE: Use only special pool-grade filter sand, free of all limestone or clay: #20 Silica sand 0.45-0.85 mm, approximately one 8.5 kg bag should suffice. If you do not use the recommended size filter sand, filtering performance will be reduced and the sand filter may be damaged, thereby voiding the warranty.
NOTE: To avoid damaging the Skimmer when adding sand, pour some water into the Bottom Tank to submerse the Skimmer on the Collector Hub.
NOTE: Sand/Flowclear™ Polysphere not included.
NOTE: Use 28 g (0.06 lbs) Flowclear™ Polysphere to replace 1 kg (2.20 lbs) sand.
CONNECT TO THE POOL


STOP Before switching on, please read the manual carefully.
OPERATION
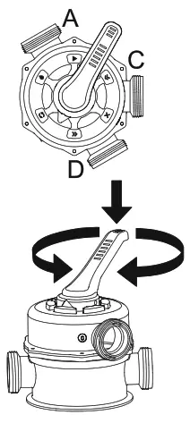
CONTROL VALVE OVERVIEW
WARNING: To prevent equipment damage and possible injury, always switch off the sand filter before changing the Control Valve function. Changing valve positions while the pump is running can damage the Control Valve, which may cause personal injury or property damage.
How to Use the Control Valve:
Press down on the Control Valve handle and rotate it to the desired function. 
CONTROL VALVE FUNCTIONS
The Control valve is used to select 6 different filter functions: Filter, Closed, Backwash, Rinse, Drain and Circulate.
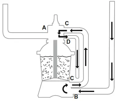
Filter: This function is used to filter pool water and should be positioned here 99% of the time. Water is pumped through the sand filter, where it is cleaned and returned to the pool.

Backwash: This function is used to clean the sand bed; water is pumped down through the Collector Hub, upwards through the sand bed, and deposited out of Port D. 
Closed: This function stops water flowing between the sand filter and the pool.

Rinse This function for initial startup, cleaning, and sand bed leveling after Backwash; water is pumped downwards through the sand bed, up through the Collector Hub, and deposited out of the valve Port D.

Drain: This function drains water from the pool; another filter bypass setting, water is pumped and deposited out of Port D, instead of returning it to the pool. 
Circulate: This function circulates pool water bypassing the sand filter; use this function if the filter is broken to collect debris in the Debris Screens. 
NOTE:
- Be sure all provisions for wastewater disposal meet applicable local, state, or national codes. Do not discharge water where it will cause flooding or damage.
- When the Control Valve is set to the Backwash, Rinse, or Drain position, water will discharge from Port D on the Control Valve.
- Do not switch on or operate the sand filter with the Control Valve set to the Closed function or it will seriously damage the sand filter.
- Do not set the Control Valve between two functions, or it will lead to leaking.
- To avoid water leakage, screw the Port D Cap onto the Control Valve Port D before operating the sand filter.
AIR RELEASE
Press down the control valve handle and wait until the water flows from Port, D to release the air.
NOTE: It is important to repeat this operation every time you start the pump after winterizing, maintenance, and backwashing the sand bed.
FIRST TIME USE INSTRUCTIONS
Backwash and Rinsing must be performed to prepare the pump for its first use and to wash
the sand.
CAUTION: DO NOT DRY RUN THE SAND FILTER
- Press down on the Control Valve handle and rotate to the Backwash function.
- Plug in and run the sand filter for 3-5 minutes, or until the water runs clear.
- Switch off the sand filter and set the Control Valve to the Rinse function.
- Switch on the sand filter and run the sand filter for 1 min. This circulates water backward through the sand filter and drains water out of Port D.
- Switch off the sand filter. Set the Control Valve to the Closed function.

- Top up pool water if required.
IMPORTANT: This procedure removes water from the pool, which you’ll need to replace.
Switch off the sand filter immediately if water levels near the pool’s Inlet and Outlet valves.
- Now the sand filter is ready for use. Set the Control Valve to the Filter function.
NOTE: To prevent the risk of electrical shock dry any excess water from yourself and the sand filter. - Switch on the sand filter to run it.

NOTE: The sand filter has now started its filtering cycle. Check that water is returning to the pool and take note of the filter pressure on the Pressure Gauge.
Generally, the recommended sand filter pressure is less than 0.25 Bar (3.5 PSI) when it is running.
SAND FILTER MAINTENANCE
CAUTION: You must ensure the sand filter is switched off and unplugged before any maintenance begins or a severe risk of injury or death exists. As dirt builds up in the sand filter, the pressure reading on the Pressure Gauge will increase. When the Pressure Gauge is 0.25 Bar (3.5 PSI) or higher, or the water flow to the pool is too low, it is time to clean the sand. To clean the sand bed, follow all instructions outlined previously in Backwash and Rinsing.
NOTE: The pressure gauge is for maintenance purposes only, and the pressure gauge value is just for reference, it should not be used as a precision instrument.
NOTE: We recommend you clean the sand bed once a month or less regularly depending on how often the pool is used. Do not clean the sand too frequently.
CLEANING THE STRAINER
- Switch off the sand filter and set the Control Valve to the Closed function.
- Replace the Debris Screens with Stopper Plugs to prevent water from escaping.
- Remove the Strainer Cover by unscrewing it.
- Take out the Strainer, and remove any debris.
- Put the Strainer back into position. Ensure the hole in the strainer is aligned.
- Ensure the Seal Ring is in place. Secure the Strainer Cover back.
- Remove the Stopper Plugs and insert the Debris Screens.
![]()
NOTE: The Strainer must be emptied and cleaned periodically. A dirty or blocked strainer will reduce the performance of the sand filter.
LOWERING OR DRAINING POOL WATER
- Switch off the sand filter and set Control Valve to the Drain function.
- Detach the Hose from the pool’s Port A and sand filter Port A and attach to Port D.
NOTE: Remember to replace the Debris Screen with a Stopper Plug to prevent water from escaping.
3. Switch on the sand filter to run the filter and remove the pool water.
WARNING: DO NOT DRY RUN THE SAND FILTER.
STORAGE
In areas that have freezing winter temperatures, pool equipment must be winterized to protect against damage. Allowing water to freeze will damage the sand filter and void the warranty.
- Backwash the sand filter.
- Drain the pool according to the pool owner’s manual.
- Disconnect the two Hoses from the pool and the sand filter.
- Completely pour the sand out of the tank and dry all components.
- Store the sand filter in a dry location out of the child’s reach.
TROUBLESHOOTING
| Problems | Probable Causes | Solutions |
| Sand is flowing into the pool | – Sand is too small – Move the control valve from the backwash to the filter function without stopping the sand filter – The level of the sand is too high – The skimmer is broken | – Recommend 0.45 mm to 0.85 mm #20 silica sand – Stop the sand filter every time set the control valve – Check if the level of the sand is between the marked “MAX” and ” MIN” on the collector hub – Replace the skimmer |
| No water flow | – Stopper plugs were not removed – Air was not released – The control valve is set to Close – The strainer is blocked – Sand filter broken | – Remove the stopper plugs and insert the debris screens – Release the air – Set to filter function – Clean the strainer – Call for service |
| Excessive filter pressure | – Dirty filter – Calcified sand bed – Insufficient backwashing – The pressure gauge is broken | – Backwash – Inspect sand and change if necessary – Backwash until water runs clear – Replace the pressure gauge |
| Control Valve leaks from the port D | _ Control Valve is set between two functions – The gasket is broken | – Set to one function – Replace the gasket |
| Connectors leak | – Washer of the connectors not in place – Washer of the connectors broken – 0-ring on the hose connection is broken – Loose Hoses | – Reposition the washer – Replace the washer – Replace the 0-ring – Tighten them |
Visit www.stwaycorp.com/support for help

WE SUGGEST NOT TO RETURN
THE PRODUCT TO THE STORE
QUESTIONS? PROBLEMS?
MISSING PARTS?
For FAQ, Manuals, Videos Or
Spare Parts, Please Visit
bestwaycorp.com/support
For support please visit us at: bestwaycorp.com/support
©2021 Bestway Inflatables & Material Corp.
All rights reserved
Trademarks used in some countries under license from
Marchi utilizzati in alcuni paesi concessi in licenza a
Bestway Inflatables & Material Corp., Shanghai, China
Manufactured, distributed, and represented in the European Union by
Bestway Central & South America Ltda, Salar Ascotan 1282, Parque Enea, Pudahuel, Santiago, Chile
Distributed in Australia & New Zealand by Bestway Australia Pty Ltd, Unit 2/98-104 Carnarvon St Silverwater, NSW 2128, Australia
Tel: Australia: (+61) 29 0371 388; New Zealand: 0800 142 101
Distributed in the United Kingdom by Bestway Corp UK Ltd. 8 Wentworth Road, Heathfield Industrial Estate, Newton Abbot, Devon, TQ12 6TL
Exported by
Bestway (Hong Kong) International Ltd./Bestway Enterprise Company Limited
Suite 713, 7/Floor, East Wing, Tsim Sha Tsui Centre, 66 Mody Road, Kowloon, Hong Kong
Tel: +86 21 69135588 (For U.S. and Canada)
www.bestwaycorp.com



















