58500E Flowclear Pool Pump
Owner’s Manual
IMPORTANT, RETAIN FOR FUTURE REFERENCE: READ CAREFULLY.
bestwaycorp.com/support Visit Bestway YouTube channel
SAFETY INSTRUCTIONS
WARNING IMPORTANT SAFETY INSTRUCTIONS
When installing and using this electrical equipment, basic safety precautions should always be followed, including the following:
READ AND FOLLOW ALL INSTRUCTIONS
WARNING – TO REDUCE THE RISK OF INJURY – do not permit children to use this product unless they are closely supervised at all times.
WARNING – RISK OF ELECTRIC SHOCK – Connect only to a grounding-type receptacle. This product is provided with a ground-fault circuit interrupter.
If replacement of the plug is needed, use only identical replacement parts.
WARNING – The unit is provided with a ground-fault circuit interrupter (GFCI). To test the GFCI, push the test button. The GFCI should interrupt power.
Push the reset button. Power should be restored. If the GFCI fails to operate in this manner, the GFCI is defective. If the GFCI interrupts power to the pump without the test button being pushed, a ground current is flowing, indicating the possibility of an electric shock. Do not use this pump. Disconnect the pump and have the problem corrected by a qualified service representative before using it.
CAUTION – To reduce the risk of electric shock the pool must be installed no closer than 6 feet (1.8 m) from any electrical outlet. Do not place portable appliances closer than 5 feet (1.5 m) from the pool.
DO NOT BURY CORD – Locate cord to minimize abuse from lawnmowers, hedge trimmers, and other equipment.
WARNING – To reduce the risk of electric shock, replace the damaged cord immediately.
WARNING – To reduce the risk of electric shock, do not use an extension cord to connect the unit to the electric supply; provide a properly located outlet.
CAUTION: This pump is for use with storable pools only. Do not use with permanently-installed pools. A storable pool is constructed so that it is capable of
being readily disassembled for storage and reassembled to its original integrity. A permanently-installed pool is constructed in or on the ground or in a building such that it cannot be readily disassembled for storage.
Please examine and verify all sand filter components are present before use. Notify Bestway at the customer service address listed on this manual for any damaged or missing parts at the time of purchase.
- THERMALLY PROTECTED MOTOR. CSA ENCLOSURE 3
- FOR USE WITH SWIMMING POOLS ONLY.
- CAUTION: TO ENSURE CONTINUED PROTECTION AGAINST SHOCK HAZARDS, USE ONLY IDENTICAL REPLACEMENT PARTS WHEN SERVICING.
- WARNING: RISK OF ELECTRIC SHOCK. CONNECT ONLY TO A GROUNDING-TYPE RECEPTACLE.
- CAUTION: THIS PUMP IS FOR USE WITH STORABLE POOLS ONLY – DO NOT USE WITH PERMANENTLY-INSTALLED POOLS.
- CAUTION: CONNECT ONLY TO GROUNDING TYPE RECEPTACLE PROTECTED BY A CLASS A GROUND FAULT CIRCUIT INTERRUPTER.
- CAUTION: FOR CONTINUED PROTECTION AGAINST POSSIBLE ELECTRIC SHOCK THIS UNIT IS TO BE MOUNTED TO THE BASE IN ACCORDANCE WITH THE INSTALLATION INSTRUCTIONS.
- WARNING – RISK OF ELECTROCUTION
1) Connect Only To Properly Grounded Outlet. Do Not Remove Ground Pin.
2) Inspect Cord Before Using – Do Not Use If Cord Is Damaged.
3) Keep Ground-Fault Circuit-Interrupter Dry And Off The Ground.
4) Do Not Touch Plug With Wet Hands.
5) Double Insulated – When Servicing Use Only Identical Replacement Parts.
6) Read Instruction Manual Before Using.
DO NOT REMOVE THIS TAG SAVE THESE INSTRUCTIONS.
This device complies with part 15 of the FCC Rules. Operation is subject to the following two conditions: (1) This device may not cause harmful interference, and (2) this device must accept any interference received, including interference that may cause undesired operation.
WARNING: Any changes or modifications to this unit not expressly approved by the party responsible for compliance could void the user’s authority to operate the equipment.
NOTE: This equipment has been tested and found to comply with the limits for a Class B digital device, pursuant to part 15 of the FCC Rules. These limits are designed to provide reasonable protection against harmful interference in a residential installation. This equipment generates, uses, and can radiate radio frequency energy and, if not installed and used in accordance with the instructions, may cause harmful interference to radio communications. However, there is no guarantee that interference will not occur in a particular installation. If this equipment does cause harmful interference to radio or television reception, which can be determined by turning the equipment off and on, the user is encouraged to try to correct the interference by one or more of the following measures:
- Reorient or relocate the receiving antenna.
- Increase the separation between the equipment and receiver.
- Connect the equipment into an outlet on a circuit different from that to which the receiver is connected.
- Consult the dealer or an experienced radio/ TV technician for help.
POOL SUCTION FITTING INSTRUCTIONS
When installing and using this equipment, basic safety precautions shall always be followed, including the following:
IMPORTANT SAFETY INSTRUCTIONS READ, FOLLOW, AND UNDERSTAND ALL INSTRUCTIONS AND WARNINGS.
- Any modification that increases the flow rate of the circulation system shall require a re-evaluation of the cover/grate and sump to ensure that the flow rating of the Suction Outlet Fitting Assembly (SOFA) is not exceeded.
- Missing, broken, or cracked cover/grates, sumps, mud-frames, or any other SOFA component shall be replaced before bathers are allowed to use the pool.
- Loose cover/grates shall be reattached before bathers are allowed to use the pool.
- Replace suction fittings every 2 years.
- The use of adhesives or other attachment methods that prevent access to suction piping or SOFA components requiring periodic servicing is prohibited.
- Refer to the following diagram for each SOFA component part instructions:
- – Any field modification made to a SOFA not authorized by the manufacturer’s installation instructions shall void the SOFA certification.
– No modification shall be made to a SOFA structure or flow path unless the new configuration has been certified as new SOFA.
– Cover/grates and all other SOFA components shall be replaced at or before the end of their service life and that service life begins the month and year in which a SOFA component is installed with or without water.
- Winterizing instructions. Dry the suction fittings completely, and store the product in a dry room at a storage temperature of 15 ℃ ~ 40 ℃.
- Use the screwdriver (not included) to disassemble the suction fitting to clean or service.
– Cover/grate, including fasteners, shall be observed for damage or tampering each operational day.
– Missing, broken, or cracked cover/grates shall be replaced before bathers are allowed to use the pool.
– Loose cover/grates and associated components shall be reattached before bathers are allowed to use the pool.
– SOFA components and fastener receptacles shall be clean and free of debris or obstructions during installation of cover/grate and fasteners.
– Remember to hand-check cover/grate for snugness to the sump/ frame after installation. - Before using the product, please check the integrity of the head of the suction fitting. If the product is broken, cracked, or the color has significantly faded, please do not use it.
- – All SOFAs shall be installed in accordance with the manufacturer’s installation instructions.
– No modification shall be made to a SOFA structure or flow path unless the new configuration has been certified to the original SOFA.
– These SOFA-configuration-specific flow ratings NOT be exceeded at any time the pool is open to bathers.
– Cover/grates, when installed, shall not protrude more than 2 in. (51 mm) from the finished surface of the pool in which the SOFA is installed. - Installation Information label (copy) Manufacturers name:
GOLEADER INDUSTRIES (JINJHUA) CO., LTD.
Cover part number: F4070
The service life of the cover: 2 Years
Cover flow rating: 38 GPM
The installer needs to fill in the balance of the information and permanently post it as near as feasible to the pump control. Keep a copy of this information with the other important pool-related documents.
Configuration and installed orientation:_________
Location:_______
Installed Date:_________
Please research and download the General Certificate of Conformity through www.bestwaycorp.com
SAVE THESE INSTRUCTIONS GFCI WARNING
WARNING: Risk of electric shock. The GFCI must be tested before each use.
WARNING: Do not use the pump if this test fails. For assistance, please visit the support section on our website, www.bestwaycorp.com.
SPECIFICATIONS
![]() | Filter Diameter: | 320 mm |
| Effective Filter Area: | 0.075 m2 (0.81 ft2 ) | |
| Max. Operating Pressure: | 1.58 Bar (23 PSI) | |
| Working sand filter pressure: | < 0.56 Bar (8 PSI) | |
| Max. Water Temperature: | 35°C | |
| Sand: | Not included | |
| Sand Size: | #20 silica sand, 0.45-0.85 mm | |
| Sand Capacity: | Approximately 20 kg |
PARTS REFERENCE OVERVIEW
Before assembling the sand filter, take a few minutes to become familiar with all the sand filter parts.


| REF.NO | SPARE PART NO. | A | B |
| 1 | P03850 | 1 | 1 |
| 2 | P61138ASS16 | 1 | 1 |
| 3 | P03832 | 2 | 2 |
| 4 | P61209ASS16 | 1 | 1 |
| 5 | P03833 | 1 | 1 |
| 6 | P03834 | 1 | 1 |
| 7 | P61211ASS16 | 1 | 1 |
| 8 | P6581ASS16 | 1 | 1 |
| 9 | P6580ASS16 | 1 | 1 |
| 10 | P03835 | 1 | 1 |
| 11 | P6614ASS16 | 1 | 1 |
| 12 | P6029ASS16 | 5 | 5 |
| 13 | P03830 | 1 | 1 |
| 14 | P61214ASS16 | 1 | 1 |
| 15 | P61210ASS16 | 8 | 8 |
| 16 | P03829 | 1 | 1 |
| 17 | P6916ASS16 | 2 | 0 |
| 18 | P6124ASS16 | 5 | 4 |
| 19 | P6561ASS16 | 1 | 1 |
| 20 | P6562ASS16 | 1 | 1 |
| 21 | P6563ASS16 | 1 | 1 |
| 22 | PO4451 | 1 | 1 |
| 23 | P03840 | 1 | 1 |
| 24 | P6517ASS16 | 2 | |
| 25 | P06188 | 2 | 0 |
| P61318ASS16 | 1 | 0 | |
| 26 | P6019ASS16 | 2 | 2 |
| 27 | P61408ASS16 | 1 | 1 |
| 28 | P6005ASS16 | 2 | 2 |
| 29 | P6783ASS16 | 1 | 1 |

ASSEMBLY (You will need a screwdriver.)
- Carefully remove all components from the package and check to ensure nothing is damaged. If equipment is damaged, immediately notify the retailer from
where the equipment was purchased.
- The sand filter should be placed on solid, level ground, preferably a concrete slab. Position the sand filter so the Ports and Control Valve are accessible for operation, servicing, and winterizing.
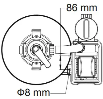
- The sand filter to be vertically fixed on the ground or a certain pedestal made of wood or concrete before use to prevent the sand filter from accidentally falling. A fully assembled sand filter will exceed 18 kg. The mounting holes should be 8 mm in diameter and spaced 86 mm apart. Use two bolts and nuts with a maximum of 8 mm in diameter to fasten the sand filter to the pedestal.
LOAD POOL-GRADE FILTER SAND/FLOWCLEAR™ POLY SPHERE.
NOTE: Use only special pool-grade filter sand, free of all limestone or clay: #20 Silica sand 0.45-0.85 mm, approximately one 20 kg bag should suffice. If you do not use the recommended size of filter sand, filtering performance will be reduced and the sand filter may be damaged, thereby voiding the warranty.
IMPORTANT: We suggest using #20 silica sand with your pool sand filter. It is specially graded to trap particles in the 20 – 100 micron range.
Some small debris can pass throw the sand and back into the pool. This is normal, especially if the debris is fine or silt.
To limit this, it is better to follow the maintenance instructions, and backwash and rinse when necessary.
We also suggest contacting your pool dealer for the chemical product specifically made to clean the sand.
The correct maintenance of the sand will optimize the cleaning efficiency and avoid the accumulation of oils or scale.
When you are vacuuming the bottom of the pool that has a large amount of debris, we suggest backwashing the sand when you finish cleaning half of the pool.
Remember to backwash and rinse the sand after vacuuming the bottom of the pool each time.
NOTE: To avoid damaging the Skimmer when adding sand, pour some water into the Bottom Tank to submerse the Skimmer on the Hub.
NOTE: Sand/Flowclear™ Polysphere not included.
NOTE: Use 28 g (0.06 lbs) Flowclear™ Polysphere to replace 1 kg (2.20 lbs) sand.

CONNECT TO THE POOL



FOR POOL WITH 32 MM VALVES

STOP Before switching on, please read the manual carefully.
GFCI TEST

OPERATION
CONTROL VALVE OVERVIEW

WARNING: To prevent equipment damage and possible injury, always switch off the sand filter before changing the Control Valve function.
Changing valve positions while the pump is running can damage the Control Valve, which may cause personal injury or property damage.
How to Use the Control Valve: Press down on the Control Valve handle and rotate to the desired function.
Filter: This function is used to filter pool water and should be positioned here 99% of the time. Water is pumped through the sand filter, where it is cleaned and returned to the pool.

Backwash: This function is used to clean the sand bed; water is pumped down through the Collector Hub, upwards through the sand bed, and deposited out of Port D.

Drain: This function drains water from the pool; another filter bypass setting, water is pumped and deposited out of Port D, instead of returning it to the pool.

Closed: This function stops water flowing between the sand filter and the pool.

Rinse: This function for initial startup, cleaning, and sand bed leveling after Backwash; water is pumped downwards through the sand bed, up through the Collector Hub, and deposited out of the valve Port D.

Circulate: This function circulates pool water bypassing the sand filter; use this function if the filter is broken to collect debris in the Debris Screens.

NOTE:
- Be sure all provisions for wastewater disposal meet applicable local, state, or national codes. Do not discharge water where it will cause flooding or damage.
- When the Control Valve is set to the Backwash, Rinse, or Drain position, water will discharge from Port D on the Control Valve.
- Do not switch on or operate the sand filter with the Control Valve set to the Closed function or it will seriously damage the sand filter.
- Do not set the Control Valve between two functions, or it will lead to leaking.
- To avoid water leakage, screw the Port D Cap onto the Control Valve Port D before operating the filter or circulate function.
AIR RELEASE
Press down the control valve handle and wait untill the water flow from Port D to release the air.
NOTE: It is important to repeat this operation every time you start the pump after winterizing, maintenance, and backwashing the sand bed.
FIRST TIME USE INSTRUCTIONS
Backwash and Rinsing must be performed to prepare the pump for its first use and to wash the sand.
CAUTION: DO NOT DRY RUN THE SAND FILTER
- Press down on the Control Valve handle and rotate to the Backwash function.
- Plugin and run the sand filter for 3-5 minutes, or until the water runs clear.
- Switch off the sand filter and set the Control Valve to the Rinse function.
- Switch on the sand filter and run the sand filter for 1 min. This circulates water backward through the sand filter and drains water out of Port D.
- Switch off the sand filter. Set the Control Valve to the Closed function.
- Top up pool water if required.
IMPORTANT: This procedure removes water from the pool, which you’ll need to replace.
Switch off the sand filter immediately if water levels near the pool’s Inlet and Outlet valves.
- Now the sand filter is ready for use. Set the Control Valve to the Filter function.
NOTE: To prevent the risk of electrical shock dry any excess water from yourself and the sand filter.
IMPORTANT: Before the operation, make sure the tank is placed steadily on its base and connected correctly to the pump. - Switch on the sand filter to run it.
NOTE: The sand filter has now started its filtering cycle. Check that water is returning to the pool and take note of the filter pressure on the Pressure Gauge. Generally, the recommended sand filter pressure is less than 0.56 Bar (8.0 PSI) when it is running.
SAND FILTER MAINTENANCE

CAUTION: You must ensure the sand filter is switched off and unplugged before any maintenance begins or severe risk of injury or death exists. As dirt builds up in the sand filter, the pressure reading on the Pressure Gauge will increase. When the Pressure Gauge is 0.56 Bar (8.0 PSI) or higher, or water flow to the pool is too low, it is time to clean the sand. To clean the sand bed, follow all instructions outlined previously in :
Backwash and Rinsing.
NOTE:
- The Pressure Gauge is just used for measuring the water pressure, not used for precision measurement.
- We recommend you clean the sand bed once a month or less regularly depending on how often the pool is used. Do not clean the sand too frequently.
CLEANING THE STRAINER

- Switch off the sand filter and set the Control Valve to the Closed function.
- Close the connection valves.
- Remove the Strainer Cover by unscrewing it.
- Take out the Strainer, remove any debris.
- Put the Strainer back into position. Ensure the hole in the strainer is aligned.
- Ensure the Seal Ring is in place. Secure the Strainer Cover back.
- Open the connection valves.
NOTE: The Strainer must be emptied and cleaned periodically. A dirty or blocked strainer will reduce the performance of the sand filter.
LOWERING OR DRAINING POOL WATER
- Switch off the sand filter and set Control Valve to the Drain function.
- Detach the Hose from the connection valve’s Port A and sand filter Port A and attach to Port D.
- Switch on the sand filter to remove pool water.
WARNING: DO NOT DRY RUN THE SAND FILTER.
STORAGE
In areas that have freezing winter temperatures, pool equipment must be winterized to protect against damage.
Allowing water to freeze will damage the sand filter and void the warranty.
- Backwash the sand filter.
- Drain the pool according to the pool owner’s manual.
- Unscrew the drain valve cap at the bottom of the tank and release the remaining water.
- Disconnect the two Hoses from the pool and the sand filter.
- Completely spill the sand out of the tank and dry all components.
- Move away the sand filter from the pool area, store the sand filter in a dry indoor location out of the child’s reach.
TROUBLESHOOTING
| Problems | Probable Causes | Solutions |
| Sand is flowing to the pool | – Sand is too small – Move the control valve from the backwash to the filter function without stopping the sand filter – The level of the sand is too high – The skimmer is broken | – Recommend 0.45 mm to 0.85 mm #20 silica sand – Stop the sand filter every time set the control valve – Check if the level of the sand is between the marked “MAX” and ” MIN” on the collector hub – Replace the skimmer |
| No water flow | – Stopper plugs were not removed – Air was not released – The control valve is set to Close – The strainer is blocked – Sand filter broken | – Remove the stopper plugs and insert the debris screens – Release the air – Set to filter function – Clean the strainer – Call for service |
| Excessive filter pressure | – Dirty filter – Calcified sand bed – Insufficient backwashing – The pressure gauge is broken | – Backwash – Inspect sand and change if necessary – Backwash until water runs clear – Replace the pressure gauge |
| Control Valve leaks from the port D | – Control Valve is set between two functions – The gasket is broken | – Set to one function – Replace the gasket |
| Connectors leak | – Washer of the connectors not in place – Washer of the connectors broken – 0-ring on the hose connection is broken – Loose Hoses | – Reposition the washer – Replace the washer – Replace the 0-ring – Tighten them |
Visit www.bestwaycorp.com/support for help
WE SUGGEST NOT TO RETURN
THE PRODUCT TO THE STORE
QUESTIONS? PROBLEMS?
MISSING PARTS?
For FAQ, Manuals, Videos Or
Spare Parts, Please Visit
bestwaycorp.com/support



NOTE: To prevent the risk of electrical shock dry any excess water from yourself and the sand filter.

















