
Naturewater NW-PR305 Filter Instruction Manual

Illustration similar, may vary depending on model
Read and follow the operating instructions and safety information before using for the first time.
Technical changes reserved!
Due to further developments, illustrations, functioning steps, and technical data can differ insignificantly.
Updating the documentation
If you have suggestions for improvement or have found any irregularities, please contact us.
The information contained in this document may alter at any time without previous notice. It is prohibited to copy or spread any parts of this document in any way without prior written allowance. All rights re-served.
The WilTec Wildanger Technik GmbH cannot be held accountable for any possible mistakes in this operating manual, nor in the diagrams and figures shown.
Even though, the WilTec Wildanger Technik GmbH has undergone biggest possible efforts to ensure that the operating manual is complete, faultless, and up to date, mistakes cannot be entirely avoided.
If you should find a mistake or wish to make a suggestion for improvement, we look forward to hearing from you.
Send an e-mail to:
[email protected]
or use our contact form:
https://www.wiltec.de/contacts/
The most recent version of this manual in various languages can be found in our online shop via:
https://www.wiltec.de/docsearch
Our postal address is:
WilTec Wildanger Technik GmbH
Königsbenden 12
52249 Eschweiler
Germany
Do you wish to pick goods up? Our pick-up address is:
WilTec Wildanger Technik GmbH
Königsbenden 28
52249 Eschweiler
Germany
To shorten the waiting time and allow for a rapid on-site transaction, we ask you to call us previously or placing your order via the webshop.
E-mail: [email protected]
Tel: +49 2403 55592–0
Fax: +49 2403 55592–15
To return orders for exchange, repair, or other purposes, please use the following address. Attention! To allow for a smooth execution of your complaint or return, it is important to contact our customer service team before returning the goods.
Returns Department
WilTec Wildanger Technik GmbH
Königsbenden 28
52249 Eschweiler
E-mail: [email protected]
Tel: +49 2403 55592–0
Fax: +49 2403 55592–15
Introduction
Thank you for purchasing this quality product. To minimise the risk of injury we urge that our clients take some basic safety precautions when using this device. Please read the operation instruc-tions carefully and make sure you have understood its content.
Keep these operation instructions safe.
Parts and installation


Mounting the water tap


Connecting the plastic hose with a connector
- Trim a plastic hose according to previous measurement.
- Insert the plastic hose into the hexagon nut.
- Set the white hose plug in the end fitting of the white plastic hose, press it into the hose by hand or using a tool.
- Place the plastic hose into the connector.
- Tightly screw the hexagon nut.
Connecting the plastic hose with a quick coupling
- Trim a plastic hose according to previous measurement.
- Deeply slide the plastic hose into the connector.
Disconnecting the plastic hose from the quick coupling
- Remove the small piece.
- Press on the round piece until it touches the main body of the quick coupling.
- Move off the plastic hose.
Open the three housings, set the three filter cartridge types, PP, CTO, and UDF, into the housings and seize them (clean the CTO filter and the UDF Filter before setting them into their housings). Then con-nect the activated carbon afterfilters T33 A and T33B to the third filtering step. - The other areas require a PE hose for connecting.
- Attach the short three-way valve and the spherical valve to the water tap.
Filter cartridges and their functions

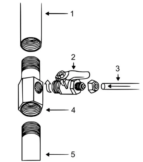
Installing the shut-off valve and the water supply connection
- Switch off the cold-water supply.
- Fix the T-shaped valve by screwing and tightening the shut-off valve into the water supply con-nection (use sealing tape for the threads).
- Disconnect the water supply line from the cold-water supply.
- Attach the T valve unit in line with the water supply tubes and the water supply.
- Remove the nut from the supply side of the shut-off valve and slide it over the filter inlet hose.
- Press the hose end on the exposed fitting of the shut-off valve. Make sure that it has a firm seat.
- Slide the cap nut on the hose and tighten it on the shut-off valve.
- Slowly switch on the cold-water supply and check it for leaks.
- Slowly open the T-shaped shut-off valve to feed the filter with water.
Connections


Important notice:
The reprint or reproduction, even of excerpts, and any commercial use, even in part, of this instruction manual require the written permission of WilTec Wildanger Technik GmbH.
Read More About This Manual & Download PDF:
















