VI UAL COMFORT SL 2710 Cabinet Maker 18 Inch Double Library Light
NOTICE:
This light fixture should be installed in accordance with all applicable, local installation codes, and by a person familiar with the construction and operation of it, as well as the hazards involved. Inspect item and contents carefully. If any damage or defect is found, do not install. Retain all packaging material until installation is complete and approved.
TOOLS REQUIRED
- Phillips Screwdriver
- Slotted Screwdriver
- Drill
- Hammer
- Pencil
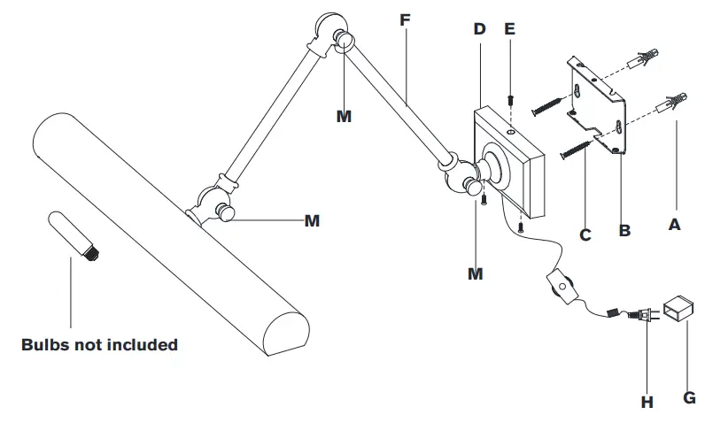
Portable assembly
- Carefully remove all parts from the box. Place on a clean, soft surface.
- Remove portable mounting plate (B) from fixture body (D) by removing screws (E).
- Using portable mounting plate (B) as a guide, mark anchor positions.
- Using a drill bit slightly smaller than the anchor, drill holes in the marked positions. Install anchors (A) into the holes using a hammer.
- Install portable mounting plate (B) to wall anchors using wood screws (C). then secure fixture body (D) to portable mounting plate (B) using screws (E).
- Insert light bulbs into the sockets.
- To adjust the fixture shade loosen the adjustment knobs (M), adjust to desired position, then tighten knobs (M).
- Remove protective plug cover (G) from plug (H).
- Plug into a proper electrical outlet and test the fixture
Care Instructions:
Clean only with a soft dry cloth or feather duster. Do not use abrasive or chemical agents.
Hardwire assembly
TOOLS REQUIRED (NOT INCLUDED)
- Phillips Screwdriver
- Slotted Screwdriver
- Carefully remove all parts from the box. Place on a clean, soft surface.
- Remove portable mounting plate (B) from fixture body (D) by removing screws (E).
- Install hardwire mounting plate (I) to the junction box and secure with mounting screws (J).
- Remove the portable cord by loosening the wire nuts.
- Install direct wire plug (K) to the bottom of fixture body (D).
- Wrap fixture ground wire (bare copper) around the green grounding screw (see diagram 1). Tighten. Continue fixture ground wire and connect to supply ground wire (usually green or bare copper) using wire nut (L).
NOTE: It is imperative that the fixture is grounded. - Connect fixture neutral wire (white) to the supply neutral wire (usually white) using wire nut (L).
- Connect fixture hot wire (black) to the supply hot wire (usually black) using wire nut (L).
CAUTION: Do not reverse the hot and neutral connections. - Make sure all wire connections are tight, then carefully tuck into the junction box.
- Install fixture body (D) to hardwire mounting plate (I) and secure with screws (E).
- Insert light bulbs into the sockets.
- To adjust the fixture shade loosen the adjustment knobs (M), adjust to desired position, then tighten knobs (M).
Care Instructions:
Clean only with a soft dry cloth or feather duster. Do not use abrasive or chemical agents.
















