Hisense U3120G 3.1.2 Channel Soundbar and Wireless Sub Woofer

Before using the soundbar, please read this manual thoroughly and retain it for future reference.
Important Safety Instructions
![]() | CAUTION | ![]() |
RISK OF ELECTRIC SHOCK |
The lightning flash with arrowhead symbol, within an equilateral triangle, is intended to alert the user to the presence of uninsulated “dangerous voltage” within the product’s enclosure that may be of sufficient magnitude as to constitute a risk of electric shock to persons.
The exclamation point within an equilateral triangle is intended to alert the user to the presence of important operating and maintenance (servicing) instructions in the literature accompanying the appliance.
Safety
- Read these instructions – All the safety and operating instructions should be read before this product is operated.
- Keep these instructions – The safety and operating instructions should be retained for future reference.
- Heed all warnings – All warnings on the appliance and in the operating instructions should be adhered to.
- Follow all instructions – All operating and usage instructions should be followed.
- Do not use this apparatus near water – The appliance should not be used near water or moisture – for example, in a wet basement or near a swimming pool and the like.
- Clean only with a dry cloth.
- Do not block any ventilation openings. Install in accordance with the manufacturer’s instructions.
- Do not install near any heat sources such as radiators, heaters, stoves, or other apparatus (including amplifiers) that produce heat.
- Do not defeat the safety purpose of the polarized or grounding plug. A polarized plug has two blades with one wider than the other. A grounding plug has two blades and a third grounding prong. The wide blade or the third prong is provided for your safety. If the provided plug does not fit into your outlet.
- Protect the power cord from being walked on or pinched particularly at plugs, convenience receptacles, and the point where they exit from the apparatus.
- Only use attachments/accessories specified by the manufacturer.
Use only with the cart, stand, tripod, bracket or table specified by the manufacturer, or sold with the apparatus. When a cart or rack is used, use caution when moving the cart/ apparatus combination to avoid injury from tip-over.- Unplug the apparatus during lightning storms or when unused for long periods of time.
- Refer all servicing to qualified personnel. Servicing is required when the apparatus has been damaged in any way, such as power supply cord or plug is damaged, liquid has been spilled or objects have fallen into the apparatus, the unit has been exposed to rain or moisture, does not operate normally, or has been dropped.
This equipment is a Class II or double insulated electrical appliance. It has been designed in such a way that it does not require a safety connection to electrical earth.- The apparatus shall not be exposed to dripping or splashing. No objects filled with liquids, such as vases, shall be placed on the apparatus.
- Minimum distance around the apparatus for sufficient ventilation is 5cm.
- The ventilation should not be impeded by covering the ventilation openings with items, such as newspapers, table-cloths, curtains, etc…
- No naked flame sources, such as lighted candles, should be placed on the apparatus.
- Batteries should be recycled or disposed of as per state and local guidelines.
- The use of apparatus in moderate or tropical climates.
Caution:
- Use of controls or adjustments or performance of procedures other than those described herein, may result in hazardous radiation exposure or other unsafe operation.
- To reduce the risk of fire or electric shock, do not expose this apparatus to rain or moisture. The apparatus must not be exposed to dripping or splashing and objects filled with liquids, such as vases, must not be placed on apparatus.
- The mains plug/appliance coupler is used as the disconnect device, the disconnect device must remain readily operable.
- Danger of explosion if battery is incorrectly replaced. Replace only with the same or equivalent type.
Warning
- The battery (batteries or battery pack) shall not be exposed to excessive heat such as sunshine, fire or the like.
- Before operating this system, check the voltage of this system to see if it is identical to the voltage of your local power supply.
- Do not place this unit close to strong magnetic fields.
- Do not place this unit on the amplifier or receiver.
- Do not place this unit close to damp areas as the moisture will affect the life of the laser head.
- If any solid object or liquid falls into the system, unplug the system and have it checked by qualified personnel before operating it any further.
- Do not attempt to clean the unit with chemical solvents as this may damage the finish. Use a clean, dry or slightly damp cloth.
- When removing the power plug from the wall outlet, always pull directly on the plug, never yank on the cord.
- Changes or modifications to this unit not expressly approved by the party responsible for compliance will void the user’s authority to operate the equipment.
- The rating label is pasted on the bottom or back of the equipment.
Battery usage CAUTION
To prevent battery leakage which may result in bodily injury, property damage, or damage to the apparatus:
- Install all batteries correctly,+ and – as marked on the apparatus.
- Do not mix old and new batteries.
- Do not mix alkaline, standard (Carbon-Zinc) or rechargeable (Ni-Cd, Ni- MH, etc.) batteries.
- Remove batteries when the unit is not used for a long time.
Correct Disposal of this product. This marking indicates that this product should not be disposed with other – household wastes throughout the EU. To prevent possible harm to the environment or human health from uncontrolled waste disposal, recycle it responsibly to promote the sustainable reuse of material resources. To return your used device, please use the return and collection systems or contact the retailer where the product was purchased. They can take this product for environmental safe recycling.
We hereby declares that this product is in compliance with the essential requirements and other relevant provisions of Directive 2014/53/EU.
![]()
The Bluetooth word mark and logos are registered trademarks owned by Bluetooth SIG,. Inc.
![]()
The terms HDMI and HDMI High-Definition Multimedia Interface, and the HDMI Logo are trademarks or registered trademarks of HDMI Licensing Administrator, Inc.
![]()
Manufactured under license from Dolby Laboratories. Dolby, Dolby Atmos, Dolby Audio, and the double-D symbol are trademarks of Dolby Laboratories.

For DTS patents, see http://patents.dts.com. Manufactured under license from DTS, Inc. (for companies headquartered in the U.S./Japan/Taiwan) or under license from DTS Licensing Limited (for all other companies). DTS, DTS:X, Virtual:X, and the DTS:X logo are registered trademarks or trademarks of DTS, Inc. in the United States and other countries. © 2021 DTS, Inc. ALL RIGHTS RESERVED.

Roku, the Roku logo, Roku TV, Roku TV Ready, and the Roku TV Ready logo are trademarks and/or registered trademarks of Roku, Inc. This product is Roku TV Ready-supported in the United States, Canada, and Mexico. Countries are subject to change. For the most current list of countries in which this product is Roku TV Ready-supported, please email [email protected].
FCC INFORMATION {for US customers)
Warning:
Changes or modifications to this unit not expressly approved by the party responsible for compliance could void the user’s authority to operate the equipment.
NOTE:
- This equipment has been tested and found to comply with the limits for a Class B digital device, pursuant to Part 15 of the FCC Rules. These limits are designed to provide reasonable protection against harmful interference in a residential installation. This equipment generates, uses and can radiate radio frequency energy and, if not installed and used in accordance with the instructions, may cause harmful interference to radio communications.
- However, there is no guarantee that interference will not occur in a particular installation. If this equipment does cause harmful interference to radio or television reception, which can be determined by turning the equipment off and on, the
- user is encouraged to try to correct the interference by one or more of the following measures:
- Reorient or relocate the receiving antenna.
- Increase the separation between the equipment and receiver.
- Connect the equipment into an outlet on a circuit different from that to which the receiver is connected.
- Consult the dealer or an experienced radio/ TV technician for help.
- This device complies with Part 15 of the FCC Rules. Operation is subject to the following two conditions:
(1) this device may not cause harmful interference, and
(2) this device must accept any interference received, including interference that may cause undesired operation.
FCC RF Radiation Exposure Statement Caution:
To maintain compliance with the FCC’s RF exposure guidelines, place the product at least 20cm from nearby persons.
IC Notice:
This device contains licence-exempt transmitter(s)/receiver(s) that comply with Innovation, Science and Economic Development Canada’s licence- exempt RSS(s). Operation is subject to the following two conditions:
(1) This device may not cause interference.
(2) This device must accept any interference, including interference that may cause undesired operation of the device.
CAN ICES-003 (B) / NMB-003 (B)
To maintain compliance with the RF exposure guidelines, place the product at least 20cm from nearby persons.
Information
Supported input audio formats
The audio formats supported by this system are as follows.
| Format | Function | ||||
| HDMI | eARC | ARC | OPT | COA | |
| LPCM 2ch | ✓ | ✓ | ✓ | ✓ | ✓ |
| LPCM 5.lch | ✓ | ✓ | X | X | X |
| LPCM 7.lch | ✓ | ✓ | X | X | X |
| Dolby Digital | ✓ | ✓ | ✓ | ✓ | ✓ |
| Dolby TrueHD | ✓ | ✓ | X | X | X |
| Dolby Digital Plus | ✓ | ✓ | ✓ | X | X |
| Dolby Atmos – DolbyTrueHD | ✓ | ✓ | X | X | X |
| Dolby Atmos – Dolby Digital Plus | ✓ | ✓ | ✓ | X | X |
| DTS Ditital Surround | ✓ | ✓ | ✓ | ✓ | ✓ |
| DTS:X | ✓ | ✓ | X | X | X |
✓: Supported formats.
X : Unsupported format.
Note: The HDMI IN jack does not support copy-protected audio formats such as Super Audio CD or DVD-Audio.
Supported HDMI video formats
The video formats supported by this system are as follows.
| Resolution | Frame rate | 3D | Color space | Color depth | [HDMI Signal Format] setting |
| 4K 4096 x 2160p3) 3840 x 2160p | 50/59.94/60 Hz | – | RGB 4:4:4 YCbCr 4:4:4 | 8 bits | [enhanced format] 1) |
| – | YCbCr 4:2:2 | 8/10/12 bits | |||
| – | YCbCr 4:2:0 | 10/12 bits | |||
| 23.98/24/25/ 29.97/30 Hz | – | RGB 4:4:4 YCbCr 4:4:4 | 10/12 bits | ||
| 4K 4096 x 2106p3) 3840 x 2106p | 50/59.94/60 Hz | – | YCbCr 4:2:0 | 8 bits | [standard format] 2) |
| 23.98/24/25/ 29.97/30 Hz | – | RGB 4:4:4 YCbCr 4:4:4 | 8 bits | ||
| – | YCbCr 4:2:2 | 8/10/12 bits | |||
| 1920 x 1080p | 25/29.97/30/50/ 59.94/60 Hz | – | RGB 4:4:4 YCbCr 4:4:4 YCbCr 4:2:2 |
8/10/12 bits | |
| 23.98/24 Hz | ![]() | ||||
| 1920 x 1080i | 50/59.94/60 Hz |
| |||
| 1280 x 720p | 50/59.94/60 Hz | ![]() | |||
| 23.98/24/29.97/30 Hz | – | ||||
| 720 x 480p | 59.94/60 Hz | – | |||
| 720 x 576p | 50 Hz | – | |||
| 640 x 480p | 59.94/60 Hz | – | RGB 4:4:4 |
: Compatible with side-by-side (half width) 3) format 3D signals
: Compatible with frame packing and 3D signals in 3) format
- Please use a high-quality high-speed HDMI Ethernet cable that supports 18Gbps.
- Please use a high quality high speed HDMI Ethernet cable.
Supported USB formats
| Extension | Codec | Sampling Rate | Bit Rate |
| * .MP3 | MP1 | No limit | No limit |
| MP2 | No limit | No limit | |
| MP3 | No limit | No limit | |
| *.WAV | “IMA-ADPCM MS-ADPCM” | ,,;192kHz | ,,;9216kbps |
| PCM | ,,;192kHz | ‘59216kbps | |
| *.WMA | WMASTD | ‘548kHz | ‘5768kbps |
| *.M4A/AAC | ALAC | ,,;192kHz | No limit |
| * .FLAC | FLAC | ,,;192kHz | ‘59216kbps |
- for *.WMA audio files, only support WMA V2N7 N8N9
- for *.FLAC audio files, below are supported formats: a)channel=8, block size<= 8192; b)channel=6, block size<= 16384
What’s in the Box
- Main Unit

- Remote Control / AAA Battery x 2

- Wireless Subwoofer

- * AC Power Cord x2

- HDMI Cable

- User Manual/Quick Start Guide

- Screw x 2 Expansion screw x 2

- Optical Cable

* Power cord quantity and plug type vary by regions.
* Design and specifications are subject to change without notice.
* lmages, illustrations and drawings shown on this User Manual are for reference only,
actual product may vary in appearance.
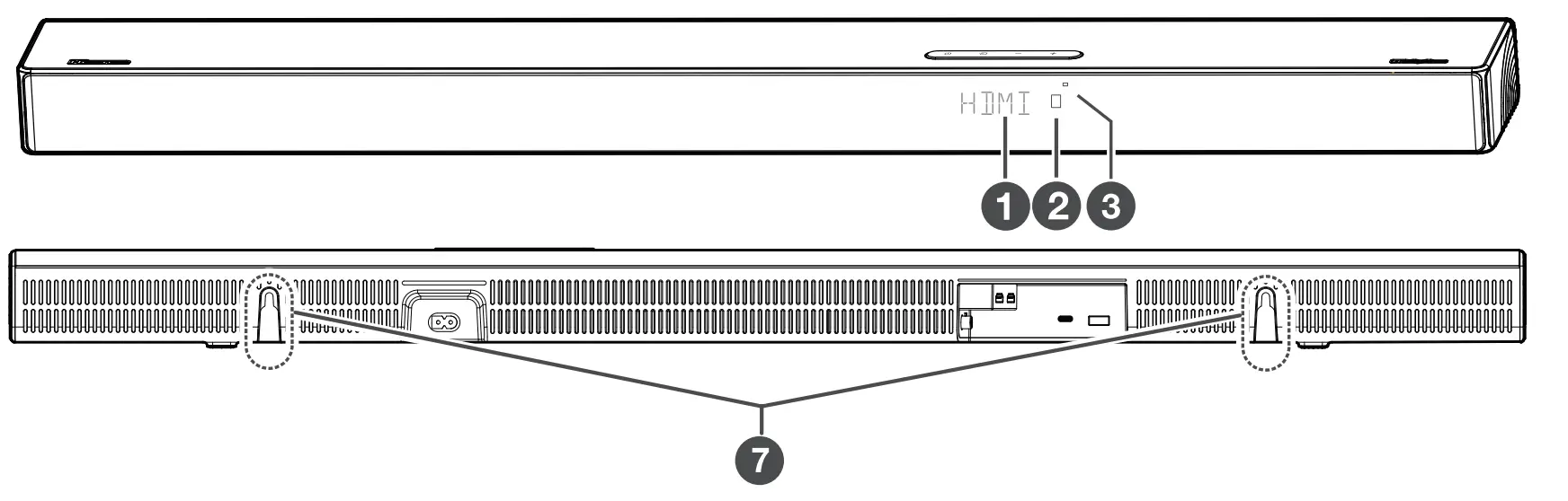
Identifying the Parts
Main Unit



- Display Window
Show the current status. - Remote Control Sensor
Receive signal from the remote control. - Standby indicator
(ON/OFF) button
Switch the unit between ON and Standby mode.
(SOURCE) button Select the play function.- VOL+NOL- buttons
Increase/decrease the volume level. - Wall Mount
Install the wall mounting screws into the wall mount ofthe unit. - COAXIAL Socket
- OPTICAL Socket
- HDMI OUT (eARC/ARC) Socket Connect to a TV via HDMI cable.
- HDMI IN Sockets
- TYPE-C Sockets (Only for rear surround Speakers)
- USB Socket
Insert the USB device to play music. - AC IN Socket
Connect to the power supply.
Wireless Subwoofer

- PAIR Indicator
Light stops blinking once the Subwoofer is paired with the Sound bar. - PAIR button
Press activate the pairing function between the main unit and the subwoofer. - AC IN Socket
Connect to power.
Remote Control
Switch the unit between ON and STANDBY mode.
(SOURCE) Select the play mode.- SURR Adjust the surround ON/OFF.
(BT) Select the Bluetooth mode.- EQ Select MUSIC/MOVIE/NEWS/SPORT/NIGHT/GAME/Al EQ sound effect.
Skip to previous/next track in BT/USB mode.- VOL+/VOL- Increase/decrease the volume level.
Play/pause/resume playback in BT/USB mode.- BASS+/- Increase/decrease the bass level.
- TREBLE+/- Increase/decrease the treble level.
- DIMMER+/- Adjust display brightness.
(MUTE) Mute or resume the volume.
Preparations
Prepare the Remote Control
The provided Remote Control allows the unit to be operated from a distance.
- Even if the Remote Control is operated within the effective range 19.7 feet (6ml, remote control operation may be impossible if there are any obstacles between the unit and the remote control.
- If the Remote Control is operated near other products which generate infrared rays, or if other remote control devices using infra-red rays are used near the unit, it may operate incorrectly. Conversely, the other products may operate incorrectly.
Replace the Remote Control Battery
- Press and slide the back cover to open the battery compartment of the remote control.

- lnsert two AAA size batteries. Make sure the (+)and(-) ends of the batteries match the ( +) and (-) ends indicated in the battery compartment.
- Close the battery compartment cover.

Precautions Concerning Batteries
- Be sure to insert the batteries with correct positive ”
” and negative ”
” polarities. Use batteries of the same type. Never use different types of batteries together. - Either rechargeable or non-rechargeable batteries can be used. Refer to the precautions on their labels.
- Be aware of your fingernails when removing the battery cover and the battery.
- Do not drop the remote control.
- Do not allow anything to impact the remote control.
- Do not spill water or any liquid on the remote control.
- Do not place the remote control on a wet object.
- Do not place the remote control under direct sunlight or near sources of excessive heat.
- Remove the battery from the remote control when not in use for a long period of time, as corrosion or battery leakage may occur and result in physical injury, and/or property damage, and/or fire.
- Do not use any batteries other than those specified.
- Do not mix new batteries with old ones.
- Never recharge a battery unless it is confirmed to be a rechargeable type.
Placement and Mounting
Placement
A If your TV is placed on a table, you can place the unit on the table directly in front of the TV stand, centered with the TV screen.
B If your TV is attached to a wall, you can mount the unit on the wall directly below the TV screen.
Wall Mounting (if using option-B)
Note:
- Installation must be carried out by qualified personnel only. Incorrect assembly can result in severe personal injury and property damage (if you intend to install this product yourself, you must check for installations such as electrical wiring and plumbing that may be buried inside the wall). It is the installer’s responsibility to verify that the wall will safely support the total load of the unit and wall brackets.
- Additional tools (not included) are required for the installation.
- Do not overtighten screws.
- Keep this instruction manual for future reference.
- Use an electronic stud finder to check the wall type before drilling and mounting.
- Drill 2 parallel holes (0 5.5-6 mm each according to wall type) in the wall. The distance between the holes should be 652 mm.
- Firmly fix 1 dowel into each hole in the wall if necessary. Tighten the wall mount brackets on the wall with screws and screwdriver. Make sure that they are securely installed.
- Lift the unit onto the wall mount screws into place.

Connections
Dolby Atmos®
Dolby Atmos® gives you immersive listening experience by delivering sound in three dimensional space, and all the richness, clarity, and power of Dolby sound. For more information, please visit dolby.com/technologies/dolby-atmos
DTS:X
DTS: X The border sound is no longer constrained by fixed-position speaker placement or specific channel signals. It can be flexibly debugged according to the playback environment to achieve the best sound performance in this environment.
For using Dolby Atmos®/ DTS: X
Dolby Atmos® I DTS: Xis available in HDMI IN 1 / HDMI IN 2 and HDMI eARC/ARC mode. For the details of the connection, please refer to “HDMI Connection”.
- To use Dolby Atmos® I DTS: X in HDMI IN mode, Your TV had to support Dolby Atmos® I DTS: X or HDMI audio passthrough.
- Make sure that “Bitstream”, “RAW” or “No Encoding” is selected for bitstream in the audio output of the connected external device (e.g. Blu-ray DVD player, TV etc.).
- While entering Dolby Atmos/ DTS: X,the sound bar will show DOLBY ATMOS/ DTS: X.
Use the HDMI Socket
Some 4K HOR TVs require the HDMI input or picture settings to be set for HOR content reception. For further setup details on HOR display, please refer to the instruction manual of your TV.
Using HDMI to connect the sound bar, AV equipment and TV:
Method 1: eARC/ ARC (Audio Return Channel)
The eARC/ARC (Audio Return Channel) function allows you to send audio from your ARC- compliant TV to your sound bar through a single HDMI connection. To enjoy the eARC/ARC function, please ensure your TV is both HDMI-CEC and ARC compliant and set up accordingly. When correctly set up, you can use your TV remote control to adjust the volume output (VOL+/- and MUTE) of the soundbar.
Connect the HDMI cable from unit’s HDMI OUT (eARC/ARC) socket to the HDMI (eARC/RAC) socket on your ARC compliant TV. Then press the remote control to select HDMI eARC/ARC.
Tips:
- Your TV must support the HDMI-CEC and ARC function. HDMI-CEC and ARC must be set to On.
- The setting method of HDMI-CEC and ARC may differ depending on the TV. For details about ARC function, please refer to the owner’s manual.
Method 2: Standard HDMI
If your TV is not HDMI ARC-compliant, connect your sound bar to the TV through a standard HDMI connection.
- Use an HDMI cable to connect the sound bar’s HDMI OUT (eARC/ARC) socket to the TV’s HDMI IN socket.
- Use an HDMI cable to connect the sound bar’s HDMI IN socket to your external devices (e.g. games consoles, DVD players and blu ray).

Use the OPTICAL Socket
– Connect an OPTICAL cable to the TV’s OPTICAL OUT socket and the OPTICAL socket on the unit.
Use the COAXIAL Socket
- You also can use the COAXIAL cable to connect the TV’s COAXIAL OUT socket and COAXIAL socket on the unit.

Tip: The unit may not be able to decode all digital audio formats from the input source. In this case, the unit will mute. This is NOT a defect. Ensure that the audio setting of the input source (e.g. TV, game console, DVD player, etc.) is set to PCM or Dolby Digital (Refer to the user manual of the input source device for its audio setting details) with HDMI / OPTICAL / COAXIAL input.
Connect Power
Risk of product damage!
- Ensure that the power supply voltage corresponds to the voltage printed on the back or the underside of the unit.
Subwoofer
- Connect the AC power cord to the AC IN Socket of the subwoofer and then into a mains socket.
Soundbar
- Connect the AC power cord to the AC IN Socket of soundbar and then into a mains socket.

*Power cord quantity and plug type vary by regions.
Pair up With The Subwoofer
Automatic pairing
Press the
button on the unit or on the remote control to switch the unit ON.
The subwoofer and sound bar will automatically pair.
NOTE:
– Do not press the Pair button on the subwoofer, except for manual pairing.
– If the automatic pairing fails, pair the subwoofer with the main unit manually.
Manual pairing
If no audio from the wireless subwoofer can be heard, manually pair up the subwoofer.
- Power up soundbar by remote control or touch pad.
- Power up subwoofer and press Pair key for 3 seconds until the LED turn to fast flashing.
- Press sound bar SOURCE key or remote control key for 5 seconds until the screen shows “SUB PAIRING”. It is connected when the LED of subwoofer turns to normal.
NOTE:
- The subwoofer should be within 6 m of the sound bar in an open area (the closer the better).
- Remove any objects between the subwoofer and the soundbar.
If the wireless connection fails again, check if there is a conflict or strong interference (e.g. interference from an electronic device) around the location. Remove these conflicts or strong interferences and repeat the above procedures.
Basic Operation
Standby/ON
- When you first connect the main unit to the mains socket, the main unit will be in Standby mode.
- Press the
button on the unit or on the remote control to switch the unit ON. - Press the
button again to switch the unit back to STANDBY mode. - Disconnect the mains plug from the mains socket if you want to switch the unit OFF completely.
Auto Wake
When AUTO-WAKE function is “on”,system could be wake up from standby mode In HDMI /eARC/ARC source by CEC or in OPT/COAX source.
Auto Wake ON/OFF
Press remote control play/pause key for 3s, enter MENU MODE, press NEXT key to select AUTO WAKE UP MENU, system shows Auto Wake ON/OFF, press V+ or V-, switch to Auto Wake ON/OFF. Press remote control play/pause key to exist MENU and finish setting.
When Auto Wake mode switch to on, standby indicator LED will slow blink after system enter standby. When Auto Wake mode switch to off, standby indicator LED will solid light after system enter standby.
Auto STANDBY
When the system AUTO-STANDBY function is “ON”, the sound bar will turn to STANDYBY mode if there is no user operation and video/audio signal input for 15 minutes.
Auto Standby ON/OFF
Press remote control play/pause key for 3s, enter MENU MODE, press NEXT key to AUTO STANDBY MENU, system shows Auto Standby ON/OFF, press V+ or V-, switch to Auto Standby ON/OFF. Press remote control play/pause key to exist MENU and finish setting.
- To switch the unit off completely, remove the mains plug from the mains socket.
- Please turn the unit off completely to save energy when not in use.
Select Modes
Press the
(SOURCE) button repeatedly on the unit or the SOURCE button on the remote control to select the OPT,COAX, ARC,HDMl,BT_IN (Bluetooth) and USB mode. The selected mode will show on the display.
Adjust the Bass/Treble Level
- Press TREBLE then press VOL+/- button to increase or decrease the treble. (treble+S / treble-5)
- Press BASS then press VOL+/- button to increase or decrease the bass. (bass+S / bass-5)
- After about 5 seconds, the unit will exit from bass/treble setting. The display will show the current selected mode. You may now press the VOL+/ – buttons to adjust volume. Turn the Surround Sound ON/
Turn the Surround Sound ON/OFF
- Press the SURR button on the remote control to turn off the surround sound. Press this button again to turn on the surround sound.
Adjust the Volume
Press the VOL+/ VOL- buttons on the unit or on the remote control to adjust the volume. If you wish to mute the sound off, press the
(MUTE) button on the remote control. Press the
(MUTE) button again or press the VOL+ /VOL- buttons to resume normal listening.
Adjust the Brightness
Press the DIMMER+/- button on the remote control to select brightness level. When dimmer set to low level, display will close after no user action or audio format change for 3 seconds
Select a Preset Sound Effect
- While playing, press the EQ button on the remote control to select desired preset equalizers:
MUSIC, MOVIE, NEWS, SPORT, NIGHT, GAME,AIEQ.
OPTICAL/ COAXIAL /HDMI ARC Operation
- Ensure that the unit is connected to the TV or audio device.
2 Press the
button repeatedly on the unit or the SOURCE button on the remote control to select the OPT,COAX, ARC mode.
3 Operate your audio device directly for playback features.
4 Press the VOL+/- button to adjust the volume to your desired level.
Tip:
- The unit may not be able to decode all digital audio formats from the input source. In this case, the unit will mute. This is NOT a defect. Ensure that the audio setting of the input source (e.g. TV, game console, DVD player, etc.) is set to PCM, Dolby Digital or DTS (Refer to the user manual of the input source device for its audio setting details) with HDMI IN/ HDMI ARC (eARC) / OPTICAi / COAXIAL input.
- When selecting a different audio format, the unit will display the following as follows:
| Audio (abbreviation) | Display |
| LPCM 2ch | PCM AUDIO |
| LPCM 5.1ch | MPCM AUDIO |
| LPCM 7.1ch | MPCM AUDIO |
| Dolby Digital | DOLBY SURROUND / DOLBY AUDIO |
| Dolby TrueHD | |
| Dolby Digital Plus | |
| Dolby Atmos – Dolby TrueHD | DOLBY SURROUND / DOLBY ATMOS |
| Dolby Atmos – Dolby Digital Plus | DOLBY SURROUND / DOLBY ATMOS |
| DTS Ditital Surround | DTS |
| DTS:X | DTS-X |
Bluetooth Operation
Pair Bluetooth-enabled Devices
The first time you connect your bluetooth device to this unit, you need to pair your device to this unit.
Note:
- The operational range between this player and a Bluetooth device is approximately 26 feet (Sm) (without any object between the Bluetooth device and the unit).
- Before you connect a Bluetooth device to this unit, ensure the device has Bluetooth function.
- Any obstacle between this unit and a Bluetooth device can reduce the operational range.
- When the soundbar is on, repeatedly push the
button on the sound bar or the
key of the remote control to choose BT mode. the screen will show “NO BT” - Enable your Bluetooth device and select the search mode. “HisenseU3120G” will appear on your Bluetooth device list.
– I*f yo u cannot find the unit, press and hold the
(BT) button on the remote control to be searchable. The display will show ” BT PAIRING” and you will hear “Pairing” from the unit. - Select “Hisense U3120G” in the device list. After successful pairing, you will hear “Connected” and the display panel shows “BT_IN”.
- Play music from the connected Bluetooth device.
To disconnect the Bluetooth function, you can :
– Switch to another function on the unit.
– Disable the function from your Bluetooth device. The Bluetooth device will be disconnected.
Tips:
- Enter “0000” for the password if necessary.
- The player will also be disconnected when your device is moved beyond the operational range.
- Press and hold BT key on the remote control, when the screen display “BT PAIRING”, the sound bar will auto disconnect the current Bluetooth conntection and enter pairing mode.
- If you want to reconnect your device to this unit, place it within the operational range.
- If the device is moved beyond the operational range, when it is brought back, please check if the device is still connected to the unit.
- If the connection is lost, follow the instructions above to pair your device to the unit again.
Listen to Music from Bluetooth Device
– Listen to Music from Bluetooth Device If the connected Bluetooth device supports Advanced Audio Distribution Profile (A2DP), you can listen to the music through the unit.
- Pair your device with the unit.
- Play music via your device (if it supports A2DP).
- Use remote control to control play (if it supports AVRCP).
– To pause/resume play, press the
button on the remote control.
– To skip to a track, press the
buttons on the remote control.
USB Operation

- Insert the USB device.
- Press the
button repeatedly on the unit or press the SOURCE button on the remote control to select USB mode. - During playback:
To pause or resume play, press the
button on the remote control.
To skip to the previous/next file, press the
buttons on the remote control.
Tips:
- This unit can play MP3/WAV/WMA/FLAC/ALAC.
- Support a USB port: FAT32, exFAT.
Othe Function
Hisense EzPlay function
With this function, Hisense Soundbar can interact with Hisense TV(when ARC connected).
* Only for some models of Hisense TV, please consult the distributor for details.
Surround
The sound bar has an interface for surround speaker. When the dongle plug in soundbar and connect the surround successfully, the pairing light is on, the surround function is active.
Dongle and Surround speakers need to be purchased separately.
- In normal status, soundbar will show current channel information, such as “ARC’; “OPT”. User press play/pause key of the remote control for 3 seconds, will active the MENU and shows “MENU”.
- In this stage, the user press “previous'”‘next”. will show the status of all settings.
- In current settings, press v+/-, can adjust the setting value
- Menu settings list as below table
Display Description Music Select the EQ mode, 7 preset EQ modes are available MUSIC/MOVIE/NEWS/SPORT /NIGHT/GAME/AI SUR ON Switch surround mode on/off BAS 0 Adjust bass level TRE 0 Adjust treble level DIM H Adjust the display brightness AUTO WAKE OFF Switch auto wake up on/off AUTO STANDBY ON Switch auto standby on/off BEEP ON Switch beep on/off LT XX Adjust the delay time DRC ON Switch DTS DRC on/off DLG 0 Adjust the DTS dialog level NEURALX OFF Switch DTS Neural on/off VIRTUALX OFF Switch DTS Virtual: X on/off BASSBOOST Switch Bassboost mode on/off - When user press the play key of the remote control, will exit the MENU mode, or the user has no operation for 10s, will exit the MENU mode.
Factory Setting Reset
OPT mode, press “standby” key of the soundbar for 5 seconds, the screen shows “RESET’; the sound bar will beidle in 2s, and recover to factory setting.
Troubleshooting
To keep the warranty valid, never try to repair the system yourself. If you encounter problems when using this unit, check the following points before requesting service.
No power
- Ensure that the AC cord of the apparatus is properly connected.
- Ensure that there is power at the AC outlet.
- Press standby button to turn the unit on.
Remote control does not work
- Before you press any playback control button, first select the correct source.
- Reduce the distance between the remote control and the unit.
- Insert the battery with its polarities ( +/-) aligned as indicated.
- Replace the battery.
- Aim the remote control directly at the sensor on the front of the unit.
No sound
- Make sure that the unit is not muted. Press MUTE or VOL+NOL- button to resume normal listening.
- Press
button on the unit or on the remote control to switch the sound bar to standby mode. Then press the
button again to switch the sound bar on. - Unplug both the sound bar and the subwoofer from the mains socket, then plug them again. Switch on the soundbar.
- Ensure the audio setting of the input source (e.g. TV, game console, DVD player, etc.) is set to PCM or Dolby Digital mode while using digital (e.g. HDMI, OPTICAL, COAXIAL) connection.
- The subwoofer is out of range, please move the subwoofer closer to the sound bar. Make sure the subwoofer is within 5 m of the sound bar (the closer the better).
- The soundbar may have lost connection with the subwoofer. Re-pair the units by following the steps on the section “Pairing the Wireless Subwoofer with the Soundbar”.
- The unit may not be able to decode all digital audio formats from the input source. In this case, the unit will mute. This is NOT a defect. device is not muted.
I can’t find the Bluetooth name of this unit on my Bluetooth device for Bluetooth pairing
- Ensure the Bluetooth function is activated on your Bluetooth device.
- Ensure you have paired the unit with your Bluetooth device.
This is a 15 mins power off function, one of the ERPII standard requirement for saving power
When the unit’s external input signal level is too low, the unit will be turned off automatically in 15 minutes. Please increase the volume level of your external device.
The subwoofer is idle or the indicator of subwoofer do not light up.
- The subwoofer is idle when it is not connected to soundbar over 1 minute.
The indicator is off when the subwoofer is idle.
Please disconnect the AC power and power up again after 5 minutes.
Specifications
| Soundbar | |
| Power Supply | AC100-240V~ 50/60Hz |
| Power Consumption | 30 W |
| Standby Power | < 0.5 W |
| USB port for playback USB Compatibility | 5V 500mA High-Speed USB (2.0) / FAT32, exFAT. 32G (max) , MP3/WAV/WMA/FLAC/ALAC. |
| Dimension (WxHxD) | 960 x 58 x 85 mm (37.8 x 2.3 x 3.3 inch) |
| Net weight | 4.85 lbs (3.4 kg) |
| Audio input sensitivity | -12dBFS |
| Frequency Response | 120Hz – 20KHz |
| Wireless Specification | |
| Bluetooth Version | V 5.3 |
| Bluetooth frequency bands | 2402 MHz ~ 2480 MHz |
| 2.4G wireless frequency bands | 2404 MHz ~ 2476 MHz |
| Subwoofer | |
| Power Supply | AC100-240V~ 50/60Hz |
| Power Consumption | 60 W |
| Standby Power | < 0.5 W |
| Dimension (WxHxD) | 200 x 304 x 295 mm (7.9 x 12.0 x 11.6 inch) |
| Net weight | 8.82 lbs (7.2 kg) |
| Frequency Response | 40Hz – 120Hz |
| Reference Output Power | |
| Soundbar | 240W |
| Subwoofer | 180W |
| Total | 420W |
| Remote Control | |
| Distance/Angle | 19.7 feet (6m) / 30° |
| Battery type | AAA (1.5V X 2) |



Use only with the cart, stand, tripod, bracket or table specified by the manufacturer, or sold with the apparatus. When a cart or rack is used, use caution when moving the cart/ apparatus combination to avoid injury from tip-over.

































