Hisense HS205G 2.0 Channel Soundbar Home Theater System

Important Safety Instruction
CAUTION
RISK OF ELECTRIC SHOCK DO NOT OPEN
The lightning flash with the arrowhead symbol, within an equilateral triangle, is intended to alert the user to the presence of uninsulated “dangerous voltage” within the product’s enclosure that may be of sufficient magnitude as to constitute a risk of electric shock to person. The exclamation point within an equilateral triangle is intended to alert the user to the presence of important operating and maintenance (servicing) instructions in the literature accompanying the appliance.
Safety
- Read these instructions – All the safety and operating instructions should be read before this product is operated.
- Keep these instructions – The safety and operating instructions should be retained for future reference.
- Heed all warnings – All warnings on the appliance and in the operating instructions should be adhered to.
- Follow all instructions – All operating and usage instructions should be followed.
- Do not use this apparatus near water – The appliance should not be used near water or moisture – for example, in a wet basement or near a swimming pool and the like.
- Clean only with a dry cloth.
- Do not block any ventilation openings. Install in accordance with the manufacturer’s instructions.
- Do not install near any heat sources such as radiators, heaters, stoves, or other apparatus (including amplifiers) that produce heat.
- Do not defeat the safety purpose of the polarized or grounding plug. A polarized plug has two blades with one wider than the other. A grounding plug has two blades and a third grounding prong. The wide blade or the third prong is provided for your safety. If the provided plug does not fit into your outlet, consult an electrician for the replacement of the obsolete outlet.
- Protect the power cord from being walked on or pinched particularly at plugs, convenience receptacles, and the point where they exit from the apparatus.
- Only use attachments/accessories specified by the manufacturer.
- Use only with the cart, stand, tripod, bracket or table specified by the manufacturer, or sold with the apparatus. When a cart or rack is used, use caution when moving the cart/apparatus combination to avoid injury from tip-over.
- Unplug the apparatus during lightning storms or when unused for long periods of time.
- Refer all servicing to qualified personnel. Servicing is required when the apparatus has been damaged in any way, such as power supply cord or plug is damaged, liquid has been spilled or objects have fallen into the apparatus, the unit has been exposed to rain or moisture, does not operate normally, or has been dropped.
- This equipment is a Class II or double insulated electrical appliance. It has been designed in such a way that it does not require a safety connection to the electrical earth.
- The apparatus shall not be exposed to dripping or splashing. No objects filled with liquids, such as vases, shall be placed on the apparatus.
- The minimum distance around the apparatus for sufficient ventilation is 5cm.
- The ventilation should not be impeded by covering the ventilation openings with items, such as newspapers, tablecloths, curtains, etc.
- No naked flame sources, such as lighted candles, should be placed on the apparatus.
- Batteries should be recycled or disposed of as per state and local guidelines.
- The use of apparatus in moderate or tropical climates.
Caution:
- Use of controls or adjustments or performance of procedures other than those described herein may result in hazardous radiation exposure or other unsafe operation.
- To reduce the risk of fire or electric shock, do not expose this apparatus to rain or moisture. The apparatus must not be exposed to dripping or splashing and objects filled with liquids, such as vases, must not be placed on the apparatus.
- The mains plug/appliance coupler is used as the disconnect device, the disconnect device must remain readily operable.
- The danger of explosion if the battery is incorrectly replaced. Replace only with the same or equivalent type.
Warning
- The battery (batteries or battery pack) shall not be exposed to excessive heat such as sunshine, fire or the like.
- Before operating this system, check the voltage of this system to see if it is identical to the voltage of your local power supply.
- Do not place this unit close to strong magnetic fields.
- Do not place this unit on the amplifier or receiver.
- If any solid object or liquid falls into the system, unplug the system and have it checked by qualified personnel before operating it any further.
- Do not attempt to clean the unit with chemical solvents as this may damage the finish. Use a clean, dry or slightly damp cloth.
- When removing the power plug from the wall outlet, always pull directly on the plug, never yank on the cord.
- Changes or modifications to this unit not expressly approved by the party responsible for compliance will void the user’s authority to operate the equipment.
- The rating label is pasted on the bottom or back of the equipment.
WARNING: This product can expose you to chemicals including lead, which is known to the State of California to cause cancer. For more information go to www.P65Warnings.ca.gov
Battery usage CAUTION
To prevent battery leakage which may result in bodily injury, property damage, or damage to the apparatus:
- Install all batteries correctly, + and – as marked on the apparatus.
- Do not mix old and new batteries.
- Do not mix alkaline, standard (Carbon-Zinc) or rechargeable (Ni-Cd, Ni-MH, etc.) batteries.
- Remove batteries when the unit is not used for a long time.
Correct Disposal of this product. This marking indicates that this product should not be disposed with other household wastes throughout the EU. To prevent possible harm to the environment or human health from uncontrolled waste disposal, recycle it responsibly to promote the sustainable reuse of material resources. To return your used device, please use the return and collection systems or contact the retailer where the product was purchased. They can take this product for environmental safe recycling.
BLUETOOTH
The Bluetooth word mark and logos are registered trademarks owned by Bluetooth SIG,. Inc.
The terms HDMI and HDMI High-Definition Multimedia Interface, and the HDMI Logo are trademarks or registered trademarks of HDMI Licensing Administrator, Inc.
Roku TV Ready and the Roku TV Ready logo are trademarks of Roku, Inc.
Manufactured under license from Dolby Laboratories. Dolby, Dolby Audio, and the double – D symbol are trademarks of Dolby Laboratories Licensing Corporation.
For DTS patents, see http://patents.dts.com Manufactured under license from DTS, Inc. (for companies headquartered in the U.S./Japan/Taiwan) or under license from DTS Licensing Limited (for all other companies). DTS, Digital Surround, Virtua:X, and the DTS logo are registered trademarks or trademarks of DTS, Inc. in the United States and other countries. © 2021 DTS, Inc. ALL RIGHTS RESERVED.
FCC INFORMATION (for US customers)
Warning:
Changes or modifications to this unit not expressly approved by the party responsible for compliance could void the user’s authority to operate the equipment.”
NOTE:
- This equipment has been tested and found to comply with the limits for a Class B digital device, pursuant to Part 15 of the FCC Rules. These limits are designed to provide reasonable protection against harmful interference in a residential installation. This equipment generates, uses and can radiate radio frequency energy and, if not installed and used in accordance with the instructions, may cause harmful interference to radio communications.
- However, there is no guarantee that interference will not occur in a particular installation. If this equipment does cause harmful interference to radio or television reception, which can be determined by turning the equipment off and on, the user is encouraged to try to correct the interference by one or more of the following measures:
- Reorient or relocate the receiving antenna.
- Increase the separation between the equipment and receiver.
- Connect the equipment into an outlet on a circuit different from that to which the receiver is connected.
- Consult the dealer or an experienced radio / TV technician for help.
- This device complies with Part 15 of the FCC Rules. Operation is subject to the following two conditions:
- this device may not cause harmful interference, and
- this device must accept any interference received, including interference that may cause undesired operation.
- This equipment should be installed and operated with minimum distance 20cm between the radiator&your body.
IC Notice:
This device contains licence-exempt transmitter(s)/receiver(s) that comply with Innovation, Science and Economic Development Canada’s licence-exempt RSS(s). Operation is subject to the followingtwo conditions:
- This device may not cause interference.
- This device must accept any interference, including interference that may cause undesired operation of the device. CAN ICES-3 (B) / NMB-3 (B)
Package Contents
- Main Unit
- Remote Control / AAA Batteries(x2)
- AC Power Cord
- Power Adapter
- Wall Plug(x2) / screw(x2)
- Optical Cable
- HDMI Cable
- User Manual
Design and specifications are subject to change without notice.
Product Diagram
Main Unit

- Remote Control Sensor
Receive signal from the remote control. - LED Indicators
Red : In STANDBY mode.
Orange : In Optical mode.
Blue : In Bluetooth mode.
White : In HDMI ARC mode.
Green: In USB mode
You can quickly check the above LED Indicators mode on the back label of the remote control.
- Screws
Install the wall mounting screws into the wall mount of the unit.
- (ON/OFF) Button
Switch the unit between ON and Standby mode. - (SOURCE)
Button Select the play function. - +/- (Vol+/Vol-) Buttons
Increase/decrease the volume level.
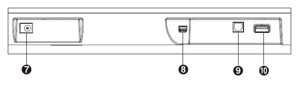
- DC Socket
Connect to the power adapter. - HDMI ARC Socket
Connect to a TV via HDMI cable. - OPTICAL Socket
Connect to an optical audio output on the TV. - USB Socket
Insert the USB device to play music.
Remote Control
- Switch the unit between ON and STANDBY mode.
- MUSIC
Switch to MUSIC EQ effect. - VOL+/VOL-
Increase/decrease the volume level. - SURR
Adjust the surround ON/OFF. - (Source)
Select the play mode. - (MUTE)
Mute or resume the sound. - NEWS
Switch to NEWS EQ effect. - Skip to previous/next track in BT/USB mode.
- Play/pause/resume playback in BT/USB mode. Press and hold to activate the pairing function in Bluetooth mode or disconnect the existing paired Bluetooth device.
- NIGHT
Switch to NIGHT EQ effect. - MOVIE
Switch to MOVIE EQ effect. - BASS+/-
Increase/decrease the bass level.

Preparations
Prepare the Remote Control
The provided Remote Control allows the unit to be operated from a distance.
- Even if the Remote Control is operated within the effective range 19.7 feet (6m), remote control operation may be impossible if there are any obstacles between the unit and the remote control.
- If the Remote Control is operated near other products which generate infrared rays, or if other remote control devices using infra-red rays are used near the unit, it may operate incorrectly. Conversely, the other products may operate incorrectly.
Replace the Remote Control Battery
- Press and slide the back cover to open the battery compartment of the remote control.
- Insert two AAA size batteries (included). Make sure the (+) and (–) ends of the batteries match the (+) and (–) ends indicated in the battery compartment.
- Close the battery compartment cover.

Precautions Concerning Batteries
- Be sure to insert the batteries with correct positive “ (+) ” and negative “(–)” polarities.
- Use batteries of the same type. Never use different types of batteries together.
- Either rechargeable or non-rechargeable batteries can be used. Refer to the precautions on their labels.
- Be aware of your fingernails when removing the battery cover and the battery.
- Do not drop the remote control.
- Do not allow anything to impact the remote control.
- Do not spill water or any liquid on the remote control.
- Do not place the remote control on a wet object.
- Do not place the remote control under direct sunlight or near sources of excessive heat.
- Remove the battery from the remote control when not in use for a long period of time, as corrosion or battery leakage may occur and result in physical injury, and/or property damage, and/or fire.
- Do not use any batteries other than those specified.
- Do not mix new batteries with old ones.
- Never recharge a battery unless it is confirmed to be a rechargeable type.
Placement and Mounting Placement
- If your TV is placed on a table, you can place the unit on the table directly in front of the TV stand, centered with the AB TV screen.
- If your TV is attached to a wall, you can mount the unit on the wall directly below the TV screen.

Wall Mounting (if using option-B)
Note:
- Installation must be carried out by qualified personnel only. Incorrect assembly can result in severe personal injury and property damage (if you intend to install this product yourself, you must check for installations such as electrical wiring and plumbing that may be buried inside the wall). It is the installer’s responsibility to verify that the wall will safely support the total load of the unit and wall brackets.
- Additional tools (not included) are required for the installation.
- Do not overtighten screws.
- Keep this instruction manual for future reference.
- Use an electronic stud finder to check the wall type before drilling and mounting.

Connections
Connect to HDMI (ARC) Socket
Your Soundbar supports HDMI with Audio Return Channel (ARC). If your TV is HDMI ARC compliant, you can hear the TV audio through your Soundbar by using a single HDMI cable.
- Using a High Speed HDMI cable, connect the HDMI ARC connector on your Soundbar to the HDMI ARC Connector on the TV.
The HDMI ARC connector on the TV might be labeled differently. For details, see the TV user manual - On your TV, turn on HDMI-CEC operations. For details, see the TV user manual.

Tips:
- Your TV must support the HDMI-CEC and ARC function. HDMI-CEC and ARC must be set to On.
- The setting method of HDMI-CEC and ARC may differ depending on the TV. For details about ARC function, please refer to your TV owner’s manual.
- Only HDMI 1.4 compatible cables can support the ARC function.
Connect to OPTICAL Socket
- Remove the protective cap of the OPTICAL cable, then connect an OPTICAL cable to the TV’s OPTICAL OUT socket and the OPTICAL socket on the unit.

Tip:
- While in OPTICAL or HDMI ARC mode, if there’s no sound output from the unit, you may need to activate PCM Signal output on your source device (eg. TV, DVD or Blu-ray player).
Connect Power
Risk of product damage!
- Ensure that the power supply voltage corresponds to the voltage printed on the back or the underside of the unit and the power adapter.
- Before connecting the AC power cord, ensure you have completed all other connections.
- Connect the DC cable of the power adapter to the DC Socket of main unit.
- Connect the mains cable to the AC~ Socket of power adapter and then into a mains socket.

Power cord quantity and plug type vary by regions.
Basic Operation
Standby/ON
When you first connect the main unit to the mains socket, the main unit will be in Standby mode.
- Press the button on the unit or on the remote control to switch the unit ON.
- Press the button again to switch the unit back to STANDBY mode.
- Disconnect the mains plug from the mains socket if you want to switch the unit OFF completely.
Auto Wake
- If a TV or an external device is connected (OPTICAL / HDMI ARC), the unit will switch on automatically when the TV or the external device is switched on and output audio signals .
How to Enable Auto Wake
- Short press the (SOURCE) button and VOL + button on the unit to enable or disable Auto Wake function.
- Auto Wake On: white and green LED blink twice sequentially. While in STANDBY mode, the RED LED is breathing.
- Auto Wake Off: white and red LED blink twice sequentially. While in STANDBY mode, the LED is in solid red.
Automatic Power Off Function
The unit automatically turns to STANDBY mode after about 15 minutes if the TV or the external unit is disconnected, switched off.
- To switch the unit off completely, remove the mains plug from the mains socket.
- Please turn the unit off completely to save energy when not in use.
- In optical mode, press in sequence to turn on Auto Standy mode, the Green LED Flash 3 times quickly.
- In optical mode, press in sequence to turn off Auto Standy mode, the Green LED Flash 3 times slowly.
Select Modes
Press the (SOURCE) button repeatedly on the unit to select the desired mode. The indicator light on the front of the main unit will show which mode is currently in use.
Adjust the Volume
Press the VOL+ / VOL- buttons on the unit or on the remote control to adjust the volume. If you wish to turn the sound off, press the button on the remote control. Press the button again or press the VOL+ / VOL- buttons to resume normal listening.
Note: While adjusting the volume, the status LED indicator will flash once. When the volume has hit maximum/minimum value level, the status LED indicator will flash quickly.
Select a Preset Sound Effect
While playing, press the EQ button on the remote control to select desired preset equalizers: MUSIC, MOVIE, NEWS , NIGHT.
| Indicator light function | DTS Digital Surround | Cyan-Cyan-Cyan, quickly | DTS signal received | ||||
| Features | Display | Operation | |||||
| Dolby Digital | Green-Green-Green, quickly | Dolby signal received | |||||
| Automatic Standby On | Green-Green-Green, quickly | Optical mode, “Prev”- “Prev”-“Next”-“Next” | |||||
| Automatic Standby Off | Green-Green-Green, slowly | ||||||
| Bass Boost On | The light flashes 3 times, quickly |
Optical mode, “Prev”+”Play”+”Next” | |||||
|
Bass Boost Off |
The light flashes 3 times, slowly | ||||||
| Auto Wake Mode On | White-White-Green-Green | Soundbar: “Source” + “Vol+” | |||||
| Auto Wake Mode Off | White-White-Red-Red | ||||||
| Volume limit | The light flashes 3 times | Adjust volume | |||||
| Bluetooth pairing | Red-Blue-Red-Blue……. | In Bluetooth Mode, Press and hold the Play button | |||||
| Failed to play | Red-Green-Red-Green……. | ||||||
| Surround On | The light flashes 5 times, quickly | Press “SURR” | |||||
| Surround Off | The light flashes 5 times, slowly | ||||||
OPTICAL / HDMI ARC Operation
- Ensure that the unit is connected to the TV or audio device.
- Press the button repeatedly on the unit or on the remote control to select the OPTICAL, HDMI ARC mode.
- Operate your audio device directly for playback features.
- Press the VOL +/– button to adjust the volume to your desired level. Tips:
Tips:
- The unit may not be able to decode all digital audio formats from the input source. In this case, the unit will mute. This is NOT a defect. Ensure that the audio setting of the input source (e.g. TV, game console, DVD player, etc.) is set to PCM, Dolby Digital, Dolby Digital Plus or DTS, refer to the table“Supported Input Audio Formats”(Refer to the user manual of the input source device for its audio setting details) with HDMI ARC / OPTICAl input.
- While in OPTICAL or HDMI ARC mode , you may need to set the sound output device of your TV to OPTICAL or HDMI ARC, for the detailed operation please refer to the manual of your TV.
Bluetooth Operation
Pair Bluetooth-enabled Devices
The first time you connect your bluetooth device to this player, you need to pair your device to this player.
Note:
- The operational range between this player and a Bluetooth device is approximately 26 feet (8m) (without any object between the Bluetooth device and the unit).
- Before you connect a Bluetooth device to this unit, ensure you know the device’s capabilities.
- Compatibility with all Bluetooth devices is not guaranteed.
- Any obstacle between this unit and a Bluetooth device can reduce the operational range.
- If the signal strength is weak, your Bluetooth receiver may disconnect, but it will re-enter pairing mode automatically.
- During ON mode, press the button repeatedly on the unit to select Bluetooth mode. The Blue indicator will light flash.
- Activate your Bluetooth device and select the search mode. “Hisense HS205G” will appear on your Bluetooth device list.’
If you cannot find the unit, press and hold the / button on the remote control to be searchable. The system has entered pairing mode. You will hear audio prompt from the unit and the Bluetooth indicator will flash quickly. - Select “Hisense HS205G” in the pairing list. After audio prompt, the system is successfully connected and the Bluetooth indicator will light up solidly.
- Play music from the connected Bluetooth device.
To disconnect the Bluetooth function, you can :
- Switch to another function on the unit.
- Disable the function from your Bluetooth device. The Bluetooth device will be disconnected from the soundbar after audio prompt.
- Press and hold the button on the remote control.
Tips:
- Enter “0000” for the password if necessary.
- If no other Bluetooth device pairs with this player within two minutes, the player will recover its previous connection.
- The player will also be disconnected when your device is moved beyond the operational range.
- If you want to reconnect your device to this player, place it within the operational range.
- If the device is moved beyond the operational range, when it is brought back, please check if the device is still connected to the player.
- If the connection is lost, follow the instructions above to pair your device to the player again.
Listen to Music from Bluetooth Device
- If the connected Bluetooth device supports Advanced Audio Distribution Profile (A2DP), you can listen to the music stored on the device through the player.
- If the device also supports Audio Video Remote Control Profile (AVRCP), you can use the player’s remote control to play music stored on the device.
- Pair your device with the player.
- Play music via your device (if it supports A2DP).
- Use supplied remote control to control play (if it supports AVRCP).
- To pause/resume play, press the / button on the remote control.
- To skip to a track, press the buttons on the remote control.
USB Operation
- Insert the USB device.
- Press the button repeatedly on the unit or press the USB button on the remote control to select USB mode.
- During playback:
- To pause or resume play, press the button on the remote control.
- To skip to the previous/next file, press the buttons on the remote

Tips:
- The unit can support USB devices with up to 32 GB of memory.
- This unit can play MP3/WMA/AAC/OGG/FLAC/WAV/AIFF.
File Format Type Compatibility list
| Extension | Codec | Sampling Rate | Bit Rate |
| *.mp3 | MPEG-1 Layer1/2/3 | 32kHz~48kHz | 32kbps~320kbps |
| MPEG-2 Layer1/2/3 | 16kHz~24kHz | 8kbps~160kbps | |
| MPEG-2.5 Layer3 | 8kHz~12kHz | ||
| *.wma | WMA7/8/9/STD | 8kHz~48kHz | ≤320kbps |
| *.aac | AAC | 8kHz~96kHz | ≤1728kbps |
| AAC-LC | |||
| HE-AAC | |||
| *.ogg | Vorbis codec | 8kHz~48kHz | ≤ 500kbps |
| *.flac | – | 8kHz~192kHz | ≤9Mbps |
| *.wav | PCM、LPCM、IMA_ADPCM、 MPEG、ALAW、MULAW | 8kHz~192kHz | ≤9Mbps |
| *.AIFF | PCM、ALAW、MULAW | 8kHz~192kHz | ≤9Mbps |
- Only USB Format Type FAT 32 is supported for USB storage device connection.
- for .ogg audio files, below are unspported formats:
- block size 0 < 64 block size 0 > 2048; 2). block size 1 < 64 , block size 1 > 4096; 3). codebook counter > 64; 4). codebook entry > 640; 5). floor counter > 4; 6). floor type 0; 7). residua counter > 4; 8). dimension != 2; 9). mapping counter > 2; 10). mode couter > 2.
Troubleshooting
To keep the warranty valid, never try to repair the system yourself. If you encounter problems when using this unit, check the following points before requesting service.
No power
- Ensure that the AC cord of the apparatus is properly connected .
- Ensure that there is power at the AC outlet.
- Press standby button to turn the unit on.
- Ensure that the DC cable of the power Adapter is properly connected.
Remote control does not work
- Before you press any playback control button, first select the correct source.
- Reduce the distance between the remote control and the unit.
- Insert the battery with its polarities (+/-) aligned as indicated.
- Replace the battery.
- Aim the remote control directly at the sensor on the front of the unit.
No sound
- Increase the volume. Press Volume Up on the remote control or on the soundbar.
- Press MUTE on the remote control to ensure the soundbar is not muted.
- Press source buttons to select a different input source.
- When using either of the Digital inputs, if there is no audio:
- Try setting the TV output to PCM or
- Connect directly to your Blu-ray/other source, some TVs do not pass through digital audio.
- Your TV may be set to variable audio output. Confirm that the audio output setting is set to FIXED or STANDARD, not VARIABLE. Consult your TV’s user manual for more detailed information.
- If using Bluetooth, ensure that the volume on your source device is turned up and that the device is not muted.
I can’t find the Bluetooth name of this unit on my Bluetooth device for Bluetooth pairing
- Ensure the Bluetooth function is activated on your Bluetooth device.
- Ensure you have paired the unit with your Bluetooth device.
This is a 15 mins power off function, one of the ERPII standard requirement for saving power
- When the unit’s external input signal level is too low, the unit will be turned off automatically in 15 minutes. Please increase the volume level of your external device.
Specifications
| Model Name | HS205G |
| General | |
| Power Supply | AC100-240V ~ 50/60Hz DC 24V/2A |
| Standby Power | ≤ 0.5 W |
| USB port for playback USB Compatibility USB Playback support / file formats | 5V 500mA Hi-Speed USB (2.0) / FAT32 32G (max) , MP3 |
| Dimension (WxHxD) | 34.6 x 2.2 x 3.5inches (880 x 56 x 88 mm) |
| Net weight | 3.5 lbs / (1.6 kg) |
| Impedance | 8Ω x 2 |
| Frequency Response | 40Hz – 20kHz |
| Wireless Specification | |
| Bluetooth Version | V 5.0 |
| Frequency bands | 2402 MHz ~ 2480 MHz |
| Max Audio Power | |
| Total | 120W |
| Remote Control | |
| Distance/Angle | 6m / 30° |
| Battery type | AAA (1.5V X 2) |
| Format | Function | |
| Optical | HDMI ARC | |
| LPCM 2ch | ||
| LPCM 5.1ch | × | |
| LPCM 7.1ch | × | |
| Dolby Digital Plus | × | |
| Dolby Digital | ||
| DTS | ||
- Supported format.
- Unsupported format.






















