2.1 Channel Sound Bar Home Theater System
Model: HS214
USER MANUAL


Before using the soundbar, please read this manual thoroughly and retain it for future reference.
Roku TV Ready and the Roku TV Ready logo are trademarks of Roku, Inc.
Important Safety Instructions

The lightning $ash with arrowhead symbol, within an equilateral triangle, is intended to alert the user to the presence of uninsulated “dangerous voltage” within the product’s enclosure that may be of su%cient magnitude as to constitute a risk of electric shock to persons.
The exclamation point within an equilateral triangle is intended to alert the user to the presence of important operating and maintenance (servicing) instructions in the literature accompanying the appliance.
Safety
- Read these instructions – All the safety and operating instructions should be read before this product is operated.
- Keep these instructions – The safety and operating instructions should be retained for future reference.
- Heed all warnings – All warnings on the appliance and in the operating instructions should be adhered to.
- Follow all instructions – All operating and usage instructions should be followed.
- Do not use this apparatus near water – The appliance should not be used near water or moisture – for example, in a wet basement or near a swimming pool and the like.
- Clean only with a dry cloth.
- Do not block any ventilation openings.
Install in accordance with the manufacturer’s instructions. - Do not install near any heat sources such as radiators, heaters, stoves, or other apparatus ( including amplifiers) that produce heat.
- Do not defeat the safety purpose of the polarized or grounding plug. A polarized plug has two blades with one wider than the other. A grounding plug has two blades and a third grounding prong. The wide blade or the third prong is provided for your safety. If the provided plug does not #t into your outlet, consult an electrician for replacement of the obsolete outlet.
- Protect the power cord from being walked on or pinched particularly at plugs, convenience receptacles, and the point where they exit from the apparatus.
- Only use attachments/accessories specified by the manufacturer.
Use only with the cart, stand, tripod, bracket or table speci#ed by the manufacturer, or sold with the apparatus. When a cart or rack is used, use caution when moving the cart/ apparatus combination to avoid injury from tip-over.- Unplug the apparatus during lightning storms or when unused for long periods of time.
- Refer all servicing to quali#ed personnel. Servicing is required when the apparatus has been damaged in any way, such as power supply cord or plug is damaged, liquid has been spilled or objects have fallen into the apparatus, the unit has been exposed to rain or moisture, does not operate normally, or has been dropped.
- This equipment is a Class II or double insulated electrical appliance. It has been designed in such a way that it does not require a safe connection to the electrical earth.
- The apparatus shall not be exposed to dripping or splashing. No objects #lled with liquids, such as vases, shall be placed on the apparatus.
- Minimum distance around the apparatus for
- The ventilation should not be impeded by covering the ventilation openings with items, such as newspapers, tablecloths, curtains, etc.
- No naked $ame sources, such as light candles should be placed on the apparatus.
- Batteries should be recycled or disposed of as per state and local guidelines.
- The use of apparatus in moderate or tropical climates.
Caution:
Use of controls or adjustments or performance of procedures other than those described herein may result in hazardous radiation exposure or other unsafe operation.
– To reduce the risk of fire or electric shock, do not expose this apparatus to rain or moisture. The apparatus must not be exposed to dripping or splashing and objects filled with liquids, such as vases, must not be placed on the apparatus.
– The mains plug/appliance coupler is used as the disconnect device, the disconnect device must remain readily operable.
– Danger of explosion if the battery is incorrectly replaced. Replace only with the same or equivalent type.
Warning
- The battery (batteries or battery pack) shall not be exposed to excessive heat such as sunshine, fire or the like.
- Before operating this system, check the voltage of this system to see if it is identical to the voltage of your local power
- Do not place this unit close to strong magnetic
- Do not place this unit on the amplifier kir
- Do not place this unit close to damp areas as the moisture will affect the life of the laser head.
- If any solid object or liquid falls into the system, unplug the system and have it checked by qualified personnel before operating It any
- Do not attempt to clean the unit with chemical solvents as this may damage the finish. Use a clean, dry or slightly damp cloth.
- When removing the power plug from the wall outlet, always pull directly on the plug, never yank on the cord.
- Changes or modifications to this unit not expressly approved by the party responsible for compliance will void the user’s authority to operate the equipment
The rating label is pasted on the bottom or back of the equipment.
Manufactured under license from Dolby Laboratories. Dolby, Dolby Audio, and the double-D symbol are trademarks of Dolby Laboratories.
The Bluetooth word mark and logos are registered trademarks owned by Bluetooth SIG,. Inc.
WARNING
DO NOT INGEST BATTERY, CHEMICAL BURN HAZARD
If you think batteries might have been swallowed or placed inside any part of the body, seek immediate medical attention. Keep new and used batteries away from children. If the battery compartment does not close securely, stop using the product and keep it away from children. The remote control supplied with this product contains a coin/button cell battery. If the coin/button cell battery is swallowed, it can cause severe internal burns in just 2 hours and lead to death.
WARNING: This product contains chemicals known to the State of California to cause cancer and birth defects or other reproductive harm. For more information: www.watts.com/prop65
Correct Disposal of this product. This marking indicates that this product should not be disposed of with other household wastes throughout the EU. To prevent possible harm to the environment or human health from uncontrolled waste disposal, recycle it responsibly to promote the sustainable reuse of material resources. To return your used device, please use the return and collection systems or contact the retailer where the product was purchased. They can take this product for environmentally safe recycling. Europe-European Union Notice Radio products with the CE alert marking comply with the RED Directive (2014/53/EU) issued by the Commission of the European Community.
Frequency range: 2402-2480MHz
Versions of software or #rmware a”ecting compliance with essential requirements: HW: HS214-01-A0F
Maximum RF output power of the product: +9dBm
Accessories/components marketed together: Remote control

Hereby, Hisense International Co., Ltd
declares that the 2.1 channel soundbar with a built-in subwoofer is in compliance with Directive
2014/53/EU.
HDMI is a trademark or registered trademark of HDMI Licensing, LLC in the United States and/or other countries.
FCC Information
Warning:
Changes or modifications to this unit not expressly approved by the party responsible for compliance could void the user’s authority to operate the equipment.”
NOTE:
This equipment has been tested and found to comply with the limits for a Class B digital device, pursuant to Part 15 of the FCC Rules. These limits are designed to provide reasonable protection against harmful interference in a residential installation. This equipment generates, uses and can radiate radio frequency energy and, if not installed and used in accordance with the instructions, may cause harmful interference to radio communications.
However, there is no guarantee that interference will not occur in a particular installation. If this equipment does cause harmful interference to radio or television reception, which can be determined by turning the equipment off and on, the user is encouraged to try to correct the interference by one or more of the following measures:
Reorient or relocate the receiving antenna.
Increase the separation between the equipment and receiver.
Connect the equipment into an outlet on a circuit different from that to which the receiver is connected.
Consult the dealer or an experienced radio /TV technician for help.
This device complies with Part 15 of the FCC Rules. Operation is subject to the following two conditions:
- this device may not cause harmful interference, and
- this device must accept any interference received including interference that may cause undesired
FCC RF Radiation Exposure Statement Caution:
To maintain compliance with the FCC’s RF exposure guidelines, place the product at least 20cm from nearby persons.
Package Contents


Product Diagram
Main Unit

| 1. Remote Control Sensor Receive signal from the remote control. 2. LED Indicators • Red: In STANDBY mode. • Optical mode. • Blue: In Bluetooth mode. • White: In HDMI ARC mode. •Light green: Coaxial mode. Green: In AUX mode. Yellow: In USB mode. 3. Switch the unit between ON and STANDBY mode. 4. Select the play mode. 5 .+/- (Vol+/Vol-) Buttons Increase/decrease the volume level. 6. Wall Mount Install the wall mounting screws into the wall mount of the unit. | 7. AC Socket Connect to the power supply. 8 . IR Repeater Transfer the signal received from the remote control to the TV 9. COAXIAL Socket Connect to a coaxial audio output on the TV. 10. HDMI ARC Socket Connect to a TV via HDMI cable. 11. Aux Socket Connect to an external audio device. 12. OPTICAL Socket Connect to an optical audio output on the TV. 13. USB Socket Insert the USB device to play music. |
Remote Control
| 1. 2. 3.EQ buttons 4.VOL+/VOL- 5. 6. 7.SURR 8.DIM- 9.DIM + 10.BASS + , BASS – 11.SOURCE | Switch the unit between ON and STANDBY mode. Mute or resume volume. Select MOVIE/MUSIC/NEWS sound e”ect. In Bluetooth/USB mode: Skip to the previous/next track. Increase/decrease the volume level. Play/pause/resume playback in Bluetooth/ USB mode. Press and hold to activate the pairing function in Bluetooth mode or disconnect the existing paired Bluetooth device Adjust the surround ON/OFF. Decrease the display brightness. Increase the display brightness. Increase/decrease the bass level. Select the play mode. | ![]() |
Instructions
Prepare the Remote Control
The Remote Control allows the unit to be operated from a distance.
- Even if the Remote Control is operated within the effective range 26.2 feet (8m) inch, remote control operations may be disrupted if there are any obstacles between the unit and the remote control. If the Remote Control is operated near other products that generate infrared rays, or if other remote control devices using infrared rays are used near the unit, it may operate incorrectly. Conversely, the other products may operate incorrectly.
First-time Use:
Put the 2 x MA batteries (included) into the remote control before use.
Replace the Remote Control Battery
- Push the tab on the side of the battery tray towards the tray and then pull the battery tray out of the remote control.
- Remove the old batteries. Place 2 x new AAA batteries into the battery tray with the correct polarity (+1-) as indicated.
- Slide the battery tray back into the slot in the remote control.

Precautions Concerning Batteries
- When the remote control is not to be used for a long time (more than a month), remove the batteries from the remote control to prevent it from leaking.
- If the batteries leak, wipe away the leakage inside the battery compartment and replace the batteries with new ones.
- Do not use any batteries other than those specified.
- Do not heat or disassemble batteries.
- Keep away from heat or moisture.
- Do not carry or store batteries with other metallic objects. Doing so could cause batteries to short circuit, leak or explode.
- Never recharge a battery unless it is confirmed to be rechargeable.
Placement and Mounting Placement
A. If your TV is placed on a table, you can place the unit on the table directly in front of the TV stand, centered with the TV screen.
B. If your TV is attached to a wall, you can mount the unit on the wall directly below the TV screen.
Wall Mounting (if using Option-B)
Note:
Installation must be carried out by qualified personnel only. Incorrect assembly may result in severe personal injury and property damage (if you intend to install this product yourself, you must check for installations such as electrical wiring and plumbing that may be buried inside the wall). It is the installer’s responsibility to verify that the wall will safely support the total load of the unit and wall brackets.
Additional tools (not included) are required for the installation.
Do not overtighten screws.
Keep this instruction manual for future reference.
Use an electronic stud finder to check the wall type before drilling and mounting.


Connections
Connect to COAXIAL Socket
You can use a COAXIAL cable (not included connect the TV’s COAXIAL OUT socket and the COAXIAL socket on the unit.
Tip:
While in OPTICAL, HDMI ARC or COAXIAL mode, if there’s no sound output from the unit, you may need to activate PCM signal output on your source device (eg. TV, DVD or Blu-ray player).
Connect to HDMI ARC Socket
Your Soundbar supports HDMI with Audio Return Channel (ARC). If your TV is HDMI ARC ompliant, you can hear the TV audio through our Soundbar by using a single HDMI cable.
- Use a High-Speed HDMI cable to connect the HDMI ARC connector on your Soundbar and the HDMI ARC connector on the TV. The HDMI ARC connector on the TV might be labeled di” recently. For details, see the TV user manual.
- On your TV, turn on HDMI-CEC operations. For details, see the TV user manual.

Tips:
-Your TV must support the HDMI-CEC and ARC functions. HDMI-CEC and ARC must be set to On.
-The setting method of HDMI-CEC and ARC may di”er depending on the TV. For details about the ARC function, please refer to your TV user manual.
-Only HDMI 1.4 compatible cables can support the ARC function.
Connect to AUX Socket
A . Use an RCA to 3.5mm audio cable (not included) to connect the TV’s audio output socket and the AUX socket on the unit.
B. Use a 3.5mm to 3.5mm audio cable (not included) to connect the tvs or external audio device Aux socket to the Aux socket on the unit.
Connect to OPTICAL Socket
– Remove the protective cap of the OPTICAL socket, then connect an OPTICAL cable (included) to the TV’s OPTICAL OUT socket and the OPTICAL socket on the unit.

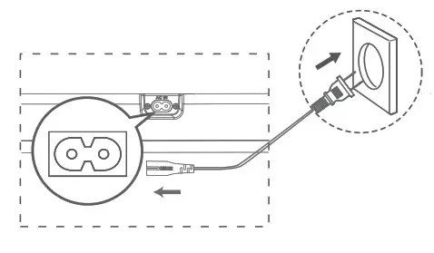
Connect Power
Risk of product damage!
– Ensure that the power supply voltage corresponds to the voltage printed on the back or the underside of the unit.
– Before connecting the AC power cord, ensure you have completed all other connections.
• Connect the mains cable to the AC Socket of the main unit and then into a mains socket.

Basic Operation
Standby/On
When you first connect the main unit to the mains socket, the main unit will be in STANDBY mode.
- Press the
button on the unit or on the remote control to switch the unit ON. - Press the
button again to switch the unit back to STANDBY mode. - Disconnect the mains plug from the mains socket if you want to switch the unit OFF
Auto Wake
If a TV or an external device is connected (AUX / OPTICAL / COAXIAL / HDMI ARC), the unit will switch on automatically when the TV or the external device is switched on.
How to Enable Auto Wake
- Short press the
(SOURCE) button and + (VOL +) button on the unit to enable or disable the Auto Wake function. Auto Wake On: white and green LED blink twice sequentially. While in STANDBY mode, the RED LED is breathing.
Auto Wake Off: white and red LED blink twice sequentially. While in STANDBY mode, the LED is in solid red.
Automatic Power Off Function
The unit automatically turns to STANDBY mode after about 15 minutes if the TV or the external unit is disconnected or switched off.
- To switch the unit off completely, disconnect the mains plug from the mains socket.
Please turn the unit off completely to save energy when not in use.
Select Modes
Press the
(SOURCE) button repeatedly on the unit or the SOURCE button on the remote control to select the desired mode. The LED indicator on the front of the main unit will show which mode is currently in use.
Adjust the Volume
Press the + / – buttons on the unit or VOL+ / VOL on the remote control to adjust the volume. If you wish to turn the sound o”, press the
button on the remote control. Press the
button again or press the + / – buttons on the unit or VOL+ / VOL- on the remote control to unmute.
Note: While adjusting the volume, the status LED the indicator ill $ash once. When the volume has it maximum/minimum value level, the status LED the indicator will $ash quickly.
Select a Preset Sound Effect
While playing, press the NEWS / MOVIE / MUSIC buttons on the remote control to select the preset equalizers:
MOVIE (recommended for watching a movie)
MUSIC (recommended for listening to music)
NEWS (recommended for listening to the news)
OPTICAL/ COAXIAL/HDMI ARC /AUX Operation
- Ensure that the unit is connected to the TV or audio device.
- Press the
button repeatedly on the unit or the SOURCE button on the remote control to select the OPTICAL, COAXIAL, HDMI ARC, AUX mode. - Operate your audio device directly for playback features.
- Press the +/– button on the unit or VOL+ / VOL- on the remote control to adjust the volume to your desired level.
Tip:
- While in OPTICAL, HDMI ARC or COAXIAL mode, if there’s no sound output from the unit, you may need to activate PCM signal output on your source device (eg. TV, DVD or Blu-ray player).
- For the digital audio out that the unit does not support, the LED light would be purple and blink three times.
Bluetooth Operation
Pair Bluetooth-enabled Devices
The #rst time you connect your Bluetooth device to this unit, you need to pair your device to this unit. Note:
– The operational range between this unit and a Bluetooth device is approximately 26 feet (8m) (without any object between the Bluetooth device and the unit).
– Before you connect a Bluetooth device to this unit, ensure you know the device’s capabilities.
– Compatibility with all Bluetooth devices is not guaranteed.
– Any obstacle between this unit and a Bluetooth device can reduce the operational range.
– If the signal strength is weak, your Bluetooth receiver may disconnect, but it will re-enter pairing mode automatically.
- During ON mode, press the button repeatedly on the unit or the SOURCE button on the remote control to select Bluetooth mode. The Blue indicator light will flash.
- Activate your Bluetooth device and select the search mode. “Hisense HS214” will appear on your Bluetooth device list.
If you cannot find the unit, press and hold the ►II/PAIR button on the remote control to enter into pairing mode again. You will hear audio prompts from the unit and the Bluetooth indicator will flash quickly. - Select “Hisense HS214 ” in the pairing list. After the audio prompt, the system is successfully connected and the Bluetooth indicator will light up solidly.
- Play music from the connected Bluetooth device.
To disconnect the Bluetooth function, you can :
– Switch to another source on the unit.
– Disable the function from your Bluetooth device.
The Bluetooth device will be disconnected from the unit after the audio prompt.
– Press and hold the
button on the remote control.
Tips:
- Enter “0000” for the password if necessary.
- If no other Bluetooth device pairs with this unit within two minutes, the unit will recover its previous connection.
- The unit will also be disconnected when your device is moved beyond the operational range.
- If you want to reconnect your device to this unit, place it within the operational range.
- If the device is moved beyond the operational range, when it is brought back, please check if the device is still connected to the unit.
- If the connection is lost, follow the instructions above to pair your device to the unit again.
Listen to Music from Bluetooth Device
If the connected Bluetooth device supports Advanced Audio Distribution Pro#le (A2DP), you can listen to the music stored on the device through the unit.
– If the device also supports Audio Video Remote Control Pro#le (AVRCP), you can use the unit’s remote control to play music stored on the device.
- Pair your device with the unit.
- Play music via your device (if it supports A2DP).
- Use supplied remote control to control play (if it supports AVRCP).
– To play/pause, press the button on the remote control.
– To skip a track, press the
, buttons on the remote control.
USB Operation
- Insert a USB device.
- Press the
button repeatedly on the unit or press the SOURCE button on the remote control to select USB mode. - During playback:
– To play/pause, press the button on the remote control.
– To skip to the previous/next track, press the buttons
on the remote control.
Tip:
• The unit can support USB devices with up to 64 GB memory.
This unit can play MP3.- This unit can support WAV/WMA/FLAC.
- The unit support FAT32.
- Embedded USB full-speed host for USB applications should not exceed 6.5Mbps.
- For the #le in FLAC format,the max block size 8107/8109 can support 4608 as the maximum.
Troubleshooting
To keep the warranty valid, never try to repair the unit yourself. If you encounter problems when using this unit, check the following points before requesting service. No power
- Ensure that the AC power cord of the unit is properly connected.
- Ensure that there is power at the AC outlet.
- Press the standby button to turn the unit on.
The remote control does not work
- Before you press any playback control button, first select the correct source.
- Reduce the distance between the remote control and the unit.
- Insert the batteries with its polarities (+/-) aligned as indicated.
- Replace the batteries.
- Aim the remote control directly to the sensor in the front of the unit and there is no obstacle between the remote control and the unit.
No sound
- Increase the volume. Press VOL+ on the remote control or + on the unit.
- Press
on the remote control to ensure the soundbar is not muted. - Press the SOURCE button to select a different input.
- When using either of the Digital inputs, if there is no audio:
– Try setting the TV output to PCM or – Connect directly to your Blu-ray/another source, some TVs do not pass through digital audio. - Your TV may be set to variable audio output. Ensure that the audio output setting is set to FIXED or STANDARD, not VARIABLE. Refer to your TV’s user manual for more detailed information.
- If using Bluetooth, ensure that the volume on your source device is turned up and the device is not muted.
I can’t #nd the Bluetooth name of this unit on my Bluetooth device for Bluetooth pairing
- Ensure the Bluetooth function is activated on your Bluetooth device.
- Ensure you have paired the unit with your Bluetooth device.
This is a 15 mins power o$ function, one of the ERPII standard requirements for saving power - When the unit’s external input signal level is too low, the unit will be turned o” automatically in 15 minutes. Please increase the volume level of your external device.
Specifications
| Model Name | HS214 |
| Soundbar | |
| Power Supply | 100-240V~ 50/60Hz |
| Power Consumption | 20W |
| Standby Power | 0.45W |
| USB Port for Playback | 5V |
| USB Compatibility | Hi-Speed USB (2.0) / FAT32 |
| USB Playback Support/File Formats | WAV、MP3、WMA、FLAC |
| Dimension (WxDxH) | 25.59 x 3.74 x 2.42 inches / (650 x 95 x 61.5 mm ) |
| Net Weight | 4.78 lbs (2.17kg) |
| Impedance | 4Ω+8Ω x 2 |
| Frequency Response | 40Hz-20KHz |
| Wireless Specification | |
| Bluetooth Version | V4.2 |
| Bluetooth Maximum Power Transmitted(EU) | 9dBm |
| Frequency Bands | 2402 ~ 2480 MHz |
| Ampli%er(Output power) | 54W + 27W x 2 |
| Total | 108W |
| Remote Control | |
| Distance/Angle | 8m / ±30°; 90° |
| Battery Type | AAA Zn-Mn battery |
HS214
Use only with the cart, stand, tripod, bracket or table speci#ed by the manufacturer, or sold with the apparatus. When a cart or rack is used, use caution when moving the cart/ apparatus combination to avoid injury from tip-over.

This unit can play MP3.

















