
Trademarks
The Bluetooth® word mark and logos are registered trademarks owned by Bluetooth SIG,. Inc.
The terms HDMI, HDMI High-Definition Multimedia Interface, and the HDMI Logo are trademarks or registered trademarks of HDMI Licensing Administrator, Inc.
Important safety instructions
CAUTION RISK OF ELECTRIC SHOCK DO NOT OPEN
Please, read these safety instructions and respect the following warnings before the appliance is operated:
- The lightning fl ash with arrowhead symbol, within an equilateral triangle, is intended to alert the user to the presence of uninsulated “dangerous voltage” within the product’s enclosure that may be of suffi cient magnitude as to constitute a risk of electric shock to persons.
- The exclamation point within an equilateral triangle is intended to alert the user to the presence of important operating and maintenance (servicing) instructions in the literature accompanying the appliance.
In order to prevent fi re always keep candles and other open fl ames away from this product.
Warning:
- Always follow basic safety precautions when using this applience, espe-cially when children are present.
- Children should be supervised to ensure that they do not play with the appliance.
- Do not damage the power cord, or place any heavy objects on it, do not strech it or bend it. Also do not use extension cables. Damage to the power cord may result in fi re or electric shock.
- If the supply cord is damaged, it must be replaced by the manufacturer, a service agent or similarly qualied person.
- Ensure that the unit is plugged into an AC 220-240V 50Hz power outlet. Using higher voltage may cause the unit to malfunction or even catch fi re.
- If the power plug does not fi t into your outlet, do not force the plug into the electrical socket.
- To switch off the unit place it in to standby and unplug it from the mains ower supply.
- Do not disconnect or connect the power cord with wet hands. It may cause an electric shock.
- Disconnect the power cord if it is not used for a long time.
- Ensure that the mains plug is always easily accessible.
- This product does not contain any parts that are serviceable by the user. In case of a fault, contact the manufacturer or authorised service department. Exposing the internal parts inside the device may endanger your life. The manufacturers guarantee does not extend to faults caused by repairs carried out by unauthorised third parties.
- Do not use this product immediately after unpacking. Wait until it warms up to room temperature before using it.
- Ensure this product is used in moderate climates only (not in tropical/subtropical climates).
- Place product on a fl at, stable surface that is not subject to vibrations.
- Ensure the product and its parts is not overhanging the edge of the supporting furniture.
- To reduce the risk of fire, electric shock or damage to this product, do not expose it to direct sunlight, dust, rain and moisture. Never expose it to dripping or splashing and do not place objects filled with liquids on or near the product.
- Do not install near any heat sources such as radiators, heat registers, stoves, or other apparatus (including amplifi ers) that produce heat.
- Do not place the product where the humidity is high and ventilation is poor.
- Ensure a minimum distance of 5 cm around the apparatus for suffi cient ventilation. Do not block any ventilation openings of this and ensure that they are not covered with items such as newspapers, table-cloths, curtains, etc.
- NEVER let anyone, especially children, push anything into holes, slots or any other openings in the unit’s casing as this could result in a fatal electric shock.
- Storms are dangerous for all electric appliances. If the mains or aerial wiring is struck by lightning, the appliance might get damaged, even if it is turned off . You should disconnect all the cables and connectors of the appliance before a storm.
- Excessive sound pressure from earphones and headphones can cause hearing loss.
Maintenance
- Unplug the power cable from the power source before cleaning the appliance.
- Use a soft and clean rag to clean the outside of the unit. Never clean it with chemicals or detergent.
Batteries
- Observe the correct polarity when inserting the batteries.
- Do not expose batteries to high temperatures and do not place them on locations where the temperature might increase quickly, e.g. near the fi re or on the direct sunshine.
- Do not expose batteries to excessive radiant heat, do not throw them into the fi re, do not disassemble them and do not try to recharge un-rechargeable batteries. They could leak or explode.
- Never use diff erent batteries together or mix new and old ones.
- When the Remote Control is not to be used for a long time (more than a month), remove the battery from the Remote Control to prevent it from leaking.
- If the batteries leak, wipe away the leakage inside the battery compart-ment and replace the batteries with new ones.
- Do not use any batteries other than those specifi ed.
- Do not ingest battery, chemical burn hazard
- If the battery is swallowed, it can cause severe internal burns in just 2 hours and lead to death. Keep new and used batteries away from children. If the battery compartment does not close securely, stop using the product and keep it away from children. If you think batteries might have been swallowed or placed inside any part of the body, seek immediate medical attention.
Disposal of this equipment and Batteries
- Do not dispose of this product or its batteries as unsorted municipal waste. Return it to a designated collection point for the recycling of WEEE in accordance with local law. By doing so, you will help to conserve resources and protect the environment.
- Most EU countries regulate the disposal of batteries by law. Contact your retailer or local authorities for more information.
- The symbol shown to the right appears on electrical equip-ment and batteries (or their packaging) to remind users of the disposal requirements. If “Hg” or ‘Pb’ appears below the symbol, this means that the battery cantains traces of mercury (Hg) or lead (Pb), respectively.
- Users are requested to use the locally provided return facilities for used equipment and batteries.
CE and UKCA statement:
- Hereby, Sharp Consumer Electronics Poland sp. z o.o. declares that
this audio device is in compliance with the essential requirements and other relevant provisions of RED Directive 2014/53/EU and UK Radio Equipment Regulations 2017. - The full text of the EU declaration of conformity is available by following the link www.sharpconsumer.com and then entering download section of your model and choosing “CE Statements”.
Accessories
- 1x Remote control
- 1x User manual
- 1x UK power cord
- 1x EU power cord
- 2x Wall Bracket
- 1x Set of wall-mounting screws
- 1x Quick start guide
- 2 x AAA battery
Controls

- Remote Control Sensor
- LED Indicators
- Red indicator: In STANDBY mode.
- Green indicator: In AUX mode.
- Orange indicator: In Optical mode.
- Blue indicator: In Bluetooth mode.
- White indicator: In HDMI ARC mode.
- Wall bracket screws
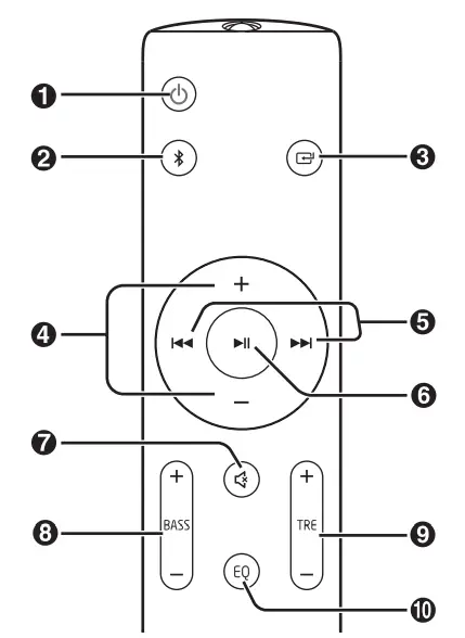
- Power button
Switch the unit between ON and STANDBY mode. - Back button
Select the play function. - Bluetooth button
Select the Bluetooth mode. Press and hold to activate the pairing function in Bluetooth mode or disconnect the existing paired Bluetooth device. - +/- buttons
Increase/decrease the volume level.
Inputs/Outputs
- AC~ Socket
Connect power cord. - SUBWOOFER OUT Socket
- OPTICAL Socket
Opticial input jack. - SERVICE ONLY Socket
The USB socket is for service only. It is not designed to charge smart-phones, tablets or similar devices. - AUX 1 Socket
Connect to an external audio device. - HDMI ARC Socket
Connect to a TV via HDMI cable.
Remote control
- Switch the unit between ON and STANDBY mode.
- Select the Bluetooth mode.
Press and hold to activate the pairing function in Bluetooth mode or disconnect the existing paired Bluetooth device. - Select the play function.
- VOL +/- – Increase/decrease the volume level.
- Skip to previous/next track in Bluetooth mode.
- Play/pause/resume playback in Bluetooth mode.
- MUTE) Mute or resume the sound.
- BASS +/- – Adjust bass level.
- TRE +/- – Adjust treble level.
- EQ – Select a preset sound mode.
First time installation
Prepare the Remote Control
The provided Remote Control allows the unit to be operated from a distance.
- Even if the Remote Control is operated within the eff ective range of 6m, remote control operation may be impossible if there are any obstacles between the unit and the remote control.
- If the Remote Control is operated near other products which generate infrared rays, or if other remote control devices using infra-red rays are used near the unit, it may operate incorrectly. Conversely, the other products may operate incorrectly.
Replace the Remote Control Battery
- Press and slide the back cover to open the battery compartment of the remote control.
- Insert two AAA size batteries (included). Make sure the (+) and (–) ends of the batteries match the (+) and (–) ends indicated in the battery compartment.
- Close the battery compartment cover.
Placement and Mounting
- A: Normal Placement (place Soundbar on leveled surface in front of TV)
- B: Wall Mounting
Wall Mounting
NOTE:
- Installation must be carried out by qualifi ed personnel only. Incorrect assembly can result in severe personal injury and property damage (if you intend to install this product yourself, you must check for installa-tions such as electrical wiring and plumbing that may be buried inside the wall). It is the installer’s responsibility to verify that the wall will safely support the total load of the unit and wall brackets.
- Additional tools (not included) are required for the installation.
- Do not overtighten screws.
- Keep this instruction manual for future reference.
- Use an electronic stud fi nder to check the wall type before drilling and mounting.


- Remove the screws from the main unit.
- Attach the wall brackets to the main unit with the screws removed from the main unit.
- Drill 2 parallel holes (Ø 4mm – 8mm each according to wall type) in the wall. The distance between the holes should be 764 mm.
Firmly fi x 1 dowel into each hole in the wall if necessary. - Leave a 5mm gap between the wall and the screw’s head. Lift the unit with the attached wall brackets over the heads of the screws and slot into place.
Connections
HDMI ARC input
The ARC (Audio Return Channel) function allows you to send audio from your ARC- compliant TV to your sound bar through a single HDMI connection. To enjoy the ARC function, please ensure your TV is both HDMI-CEC and ARC compliant and set up accordingly. When correctly set up, you can use your TV remote control to adjust the volume output (VOL +/- and MUTE) of the sound bar.
- Connect the HDMI cable (not included) from unit’s HDMI (ARC) socket to the HDMI (ARC) socket on your ARC compliant TV. Then press the remote control to select HDMI ARC.
TIPS:
- Your TV must support the HDMI-CEC and ARC function. HDMI-CEC and ARC must be set to On.
- The setting method of HDMI-CEC and ARC may diff er depending on the TV. For details about ARC function, please refer to your TV owner’s manual.
- Only HDMI cables of version 1.4 or higher can support the ARC function.

OPTICAL input
Remove the protective cap of the OPTICAL socket, then connect an OPTICAL cable (not included) to the TV’s OPTICAL OUT socket and the OPTICAL socket on the unit.
TIP: While in HDMI ARC/OPTICAL mode, if there’s no sound output from the unit and the HDMI ARC/OPTICAL lights fl ashes quickly, you may need to activate PCM signal output on your source device (eg. TV, DVD or Blu-ray player).
AUX
- A. Use a RCA to 3.5mm audio cable (not included) to connect the TV’s audio output sockets to the AUX 1 socket on the unit.
- B. Use a 3.5mm to 3.5mm audio cable (not included) to connect the TV’s or external audio device headphone socket to the AUX 1 socket on the unit.
TIP: When you use the headphone output on the TV set, you will be able to adjust the volume level directly using the TV remote control.
Connect to Subwoofer
NOTE:
- For optimal sound, use the supplied Subwoofer only.
- Connect only speakers with impedance that is the same or higher than the supplied speakers. Refer to the Specifi cations section of this manual.

Connect to Power
- Before connecting the AC power cord, ensure you have completed all other connections.
- Risk of product damage! Ensure that the power supply voltage corres-ponds to the voltage printed on the back or the underside of the unit.
- Connect the mains cable to the AC~ Socket of the unit and then into a mains socket.
Basic Operation
Standby/ON
- When you fi rst connect the unit to the main socket, the unit will be in STANDBY mode. The POWER indicator will light up red.
- Press the
button on the remote control to switch the main unit ON or OFF. - Disconnect the main plug from the main socket if you want to switch the unit off completely.
- If a TV or an external device (Only for AUX socket) is connected, the unit will switch on automatically when the TV or the external device is switched on.
- When the unit has no input signal for over 15 minutes, it will automati-cally switch to Standby mode.
Select Modes
Press the
button on the unit repeatedly or press the AUX, BT (Bluetooth), OPTICAL, HDMI ARC buttons on the remote control to select the desired mode.
- Red indicator: In STANDBY mode.
- Green indicator: In AUX mode.
- Orange indicator: In Optical mode.
- Blue indicator: In Bluetooth mode.
- White indicator: In HDMI ARC mode.
Adjust the Volume
- Press the + / – buttons on the unit or press the VOL+ / VOL- buttons on the remote control to adjust the volume.
- If you wish to turn the sound off , press the MUTE button on the remote control. Press the MUTE button again or press the VOL+ / VOL- buttons on the unit or on the remote control to resume normal listening.
- While adjusting the volume, the status indicator fl ashes quickly.
- While the volume level reaches its maximum level, if you press the VOL+ button again, the status indicator fl ashes once. While the volume level reaches its minimum level, if you press the VOL- button again, the status indicator fl ashes once.
Select Equaliser (EQ) Effect
While playing, press the EQ button on the remote control to select between preset equalisers: Movie (recommended for viewing movies), Music (recommended for listening to music), NEWS (recommended for listening to NEWS).
- MOVIE – LED fl ash orange
- MUSIC – LED fl ash blue
- NEWS – LED fl ash green
AUX/OPTICAL/HDMI ARC
- Ensure that the unit is connected to the TV or audio device.
- While in ON mode, press the
button on the unit repeatedly or press the AUX, OPTICAL, HDMI ARC buttons on the remote control to select the desired mode. - Operate your audio device directly for playback features.
- Press the VOL +/– button to adjust the volume to your desired level.
TIP: While in HDMI ARC/OPTICAL mode, if there’s no sound output from the unit and the HDMI ARC/OPTICAL lights fl ashes quickly, you may need to activate PCM signal output on your source device (eg. TV, DVD or Blu-ray player).
Bluetooth Operation
Pair Bluetooth-enabled Devices
The fi rst time you connect your Bluetooth device to this player, you need to pair your device to this player.
NOTE:
- The operational range between this player and a Bluetooth device is approximately 8 meters (without any object between the Bluetooth device and the unit).
- Before you connect a Bluetooth device to this unit, ensure you know the device’s capabilities.
- Compatibility with all Bluetooth devices is not guaranteed.
- Any obstacle between this unit and a Bluetooth device can reduce the operational range.
- If the signal strength is weak, your Bluetooth receiver may disconnect, but it will re-enter pairing mode automatically.
- While in ON mode, press the (Bluetooth) button on the remote control or on the unit to select Bluetooth mode. The Blue indicator will light fl ash.
- Activate your Bluetooth device and select the search mode. “SHARP HT-SBW110” will appear on your Bluetooth device list.
If you cannot find the unit, press and hold the
button on the remote control to be searchable. After the “Pairing” voice prompt and the Blue indicator will fl ash rapidly. - Select “SHARP HT-SBW110” in the pairing list. After the “Paired” voice prompt, the system is successfully connected and the Blue indicator will light up solidly.
- Begin playing music from the connected Bluetooth device.
To disconnect the Bluetooth function, you can:
- Switch to another function on the unit.
- Disable the Bluetooth function on your device.The device is successfully disconnected from the unit after the “Disconnected” voice prompt.
- Press and hold the
button on the remote control.
TIPS:
- Enter “0000” for the password if necessary.
- If no other Bluetooth device pairs with this player in 2 minutes, the player will reconnect to the previous connection.
- The player will also be disconnected when your device is moved beyond the operational range.
- If you want to reconnect your device to this player, place it within the operational range.
- If the device is moved beyond the operational range, when it is brought back, please check if the device is still connected to the player.
- If the connection is lost, follow the instructions above to pair your device to the player again.
Listen to Music from Bluetooth Device
- If the connected Bluetooth device supports Advanced Audio Distri-bution Profi le (A2DP), you can listen to the music stored on the device through the soundbar’.
- If the device also supports Audio Video Remote Control Profi le (AVRCP), you can use the soundbar’s remote control to play music stored on the device.
- Pair your device with the player.
- Play music via your device (if it supports A2DP).
- Use supplied remote control to control play (if it supports AVRCP).
To pause/resume play, press the
button on the remote control.
To skip to a track, press the
buttons on the remote control.
Troubleshooting
To keep the warranty valid, never try to repair the system yourself. If you encounter problems when using this unit, review the following before requesting service.
No power
Ensure that the AC cord is properly connected.
Ensure that there is power at the AC outlet.
Press standby button on the remote control or soundbar to turn the soundbar on.
No sound
Increase the volume. Press Volume Up on the remote control or on the right side of the soundbar.
Press MUTE on the remote control to ensure the soundbar is not muted. Press source buttons to select a diff erent input source.
When using either of the Digital input, if there is no audio:
- Try setting the TV output to PCM or
- Connect directly to your Blu-ray/other source, some TVs do not pass through digital audio.
Your TV may be set to variable audio output. Confi rm that the audio output setting is set to FIXED or STANDARD, not VARIABLE. Consult your TV’s user manual for more detailed information.
If using Bluetooth, ensure that the volume on your source device is turned up and that the device is not muted.
Remote control does not work
Before you press any playback control button, fi rst select the correct source.
Reduce the distance between the remote control and the unit.
Insert the battery with its polarities (+/-) aligned as indicated.
Replace the battery.
Aim the remote control directly at the sensor on the front of the unit.
I hear buzzing or humming
Ensure all cables and wires are securely connected.
Connect a diff erent source device (TV, Blu-ray player, etc) to see if the buzzing persists. If it does not, the problem may be with the original device.
Connect your device to a diff erent input on the soundbar.
I can’t find the Bluetooth name of this unit on my Bluetooth device
Ensure the Bluetooth function is activated on your Bluetooth device.
Re-pair the unit with your Bluetooth device.
This is a 15 mins power off function, one of the ERPII standard requirement for saving power
When the unit’s external input signal level is too low, the unit will be turned off automatically in 15 minutes. Please increase the volume level of your external device.
Technical specification
| Model | HT-SBW110 |
| Sound Bar | |
| Power Supply | AC ~ 220-240V, 50/60Hz |
| Maximal Power Consumption | 30 W |
| Nominal Power Consumption | 10 W |
| StandBy Power Consumption | <0.5W |
| Output Power | 2 x 15 W (RMS) + 30 W (RMS) Subwoofer |
| Frequency Response | 60Hz – 20KHz |
| Wired Subwoofer | |
| Input Power | 30 W (RMS) |
| Impedance | 6 ohm |
| Bluetooth | |
| Version | V 4.2 |
| Maximum power transmitted | <20 dbm |
| Frequency bands | 2402 MHz ~ 2480 MHz |
| Remote Control | |
| Battery Type | 2 x R03/AAA |

Sharp Consumer Electronics Poland sp. z o.o. Ostaszewo 57B, 87-148 Łysomice, Poland
Made in China
SAU/MAN/0141
www.sharpconsumer.eu



























