Orginal Instructions
Metal Cutting Saw, 610 W
Article No. 84 38 60

84 38 60 Metal Cutting Saw
Dear Customers
Instruction manuals provide valuable hints for using your new device. They enable you to use all functions, and they help you avoid misunderstandings and prevent damage.
Please take the time to read this manual carefully and keep it for future reference.
Overview

| 1 | Handle |
| 2 | Safety Switch |
| 3 | ON/OFF Trigger |
| 4 | Auxiliary Handle |
| 5 | Carbon Brush Cap |
| 6 | Metal Cut-off Disc |
| 7 | Safety Hood |
| 8 | Scale 0 – 45° |
| 9 | Vice Backstop |
| 10 | Clamping Device |
| 11 | Base Plate |
| 12 | Thread Quicklock |
| 13 | Counter Piece |
| 14 | Hand Wheel |
| 15 | Flange Wrench |
| 16 | Allen Key |
| 17 | Open End Wrench |
Safety Notes
Please note the included General Safety Notes and the following safety notes to avoid malfunctions, damage or physical injury:
- Please read this manual carefully and use the unit only according to this manual.
- Dispose of used packaging material carefully or store it out of the reach of children. There is a danger of suffocation!
- The unit is not a toy and does not belong in the hands of children. Never leave the unit unsupervised when in use. Keep it out of reach of children or persons in need of supervision. Children should be supervised to ensure that they do not play with the unit.
- Make sure the voltage corresponds to the type label on the unit.
Wear personal protective equipment. Always wear safety goggles to protect your eyes when using the metal cutting saw. Regular glasses cannot stand for safety goggles. Wear ear protection when working for long periods of time with the machine.
Do not use a damaged cut-off disc. Check the disc before each use. Make sure the cut-off disc is suitable for this machine.
The permitted speed of the cut-off disc must be at least equal to the maximum no load speed of the machine. Cut-off discs which rotate faster than permitted may be destroyed.- Diameter and thickness of the cut-off disc must conform to the requirements of the machine. Discs of the wrong size cannot be shielded or controlled.
- Use only cut-off discs which conform to the technical data in this manual and on the discs.
- Never touch the cut-off disc when cutting is in progress.
- Do not overload the metal cutting saw by using unsuitable cut-off disc for heavy jobs. Only use impeccable cut-off discs. Replace any blunt resp. worn cut-off discs on time.
- The cut-off disc will rotate for some time after the engine has been turned off. Never try to stop the disc by hand.
- Wear suitable clothing when using the machine. Synthetic materials may be damaged by flying sparks. Tight clothing will not get caught in moving parts easily.
- Keep other people out of the immediate working area. All persons in the working area must wear personal protective equipment. Fragments of the workpiece or the cut-off disc may fly off and leave the immediate working area and cause injuries or damage.
- Keep the power cable away from rotating parts.
- Do not use the metal cutting saw close to combustible materials. These materials may be ignited by flying sparks.
- Never force the cut-off disc while cutting by pressing the disc vigorously down! This can cause the cut-off disc to break.
- Never operate the machine without the safety hood in place.
- Always unplug the machine before undertaking any maintenance or cleaning work.
- Before operating the machine make sure the cut-off machine is fitted correctly.
- Before putting the cut-off disc in operation make sure the disc is in good working condition without nay cracks and fissures.
- A contact of the cut-off disc and the workpiece to be cut should be made with care at the beginning of the cutting process; otherwise the cut-off disc could get caught and broken when forces excessively. The cut-off disc should reach full speed before starting the cutting.
- To avoid accidents check whether all screws are tightened properly after each disc change.
- Do not disassemble the machine and do not attempt to repair it yourself. Have the machine repaired by a professional or contact our customer support department.
- The unit is designed for operation in altitudes of up to 2000 m above sea level.
Before first Use
Unpack the metal cutting saw and check all parts for any damage in transit. Dispose of packaging materials or store it out of reach of children. Plastic bags etc. may become a deadly toy for children.
The metal cutting saw is supplied only partly assembled.
Intended Operation
- The metal cutting saw is designed for cutting solid and hollow metal workpieces only. The saw is ideal for dry-cutting tubes, section and solids of steel (no high-grade steel), aluminium and copper. The high-power machine is for dry cutting only. With the dry cutting method, not cooling fluid is necessary. The vice can be adjusted up to 45°.
- When using a high-quality metal cut-off disc, fast and clean cuts can be performed. The material will hardly get warmed, so the workpiece can be processed immediately after cutting. Furthermore there will be less sparking.
Unlocking the Metal Cutting Saw
- The metal cutting saw will be delivered in the locked down position on the base plate during transport.
- To unlock the metal cutting saw slightly push the machine down – holding it on the handle (1) – and lift up the locking bolt. The spring-loaded locking mechanism will spring back, so the metal cutting saw can be lifted upwards.
- For locking the metal cutting saw in place, first push the handle (1) up to the end down on the base plate and push the locking bolt in direction to the housing. Re-position the locking bolt into the provided notch.

Mounting the Cut-off Disc
Before undertaking any assembling or set-up work on the metal cutting saw, pull the power plug!
- Mount resp. dismount the cut-off disc as shown on the drawing below.
- First loosen the hex bolt (c). Lift up the safety hood (a) up to the end until you have free access to the flange (e).

a Safety Hood b Rotating Direction Arrow c Hex Bolt d Cut-off Disc/Circular Saw Blade e Flange f Flange Wrench g Open End Wrench 
- Engage the spindle in place by using the open end wrench (g) and undo the flange (e) by using the flange wrench (f). Turn the flange counter clockwise and remove it from the spindle.

- After re-inserting the cut-off disc, place the flange on the shaft and tighten it with the flange wrench. For tightening the flange turn the flange wrench in clockwise direction.
- To low down the safety hood again, first slightly lift up the hood from the edge (step 1).
- Now move the safety hood (step 2) down up to the end and engage the safety hood with the provided hex bolt.

Attaching the Metal Cutting Saw to a Work Bench
If necessary you can mount the base plate of the metal cutting saw on a stable surface for stationary use.
- To attach the metal cutting saw use four nuts and four screws which are approximately 15 – 20 mm longer than the thickness of the work bench.
- Drill two holes with a distance of 315 mm and 160 mm into the work top. Attach the metal cutting saw with four screws to the work top.

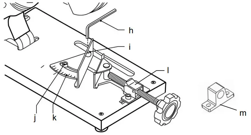
Fastening the Workpiece
The cutting saw comes with a quicklock and a classic counter piece. Use one of the two systems according to preference. 
| h | Hex Key |
| i | Hex Screw 1 |
| j | Hex Screw 2 |
| k | Scale |
| l | Thread Quicklock |
| m | Counter Piece |
- To fasten the workpieces firmly on the base plate, first lift up the thread lock (l) from the thread rod.
- For a straight cut move the vice backstop (9) until the 0°-position on the scale lines up with the marking on the base plate. If necessary, slightly loosen the hex screws 1 and 2 (i and j) in order to be able to move the mitre square scale. Afterwards re-tighten the screws with the Allex key. When performing a mitre cut, adjust the vice backstop (9) up to the desired angle and make sure the angle lines up with the marking on the base plate. Mitre cuts up to an angle of 45° are possible. If you have loosened the hex screws 1
and 2 (i and j), re-tighten the screws hand tight. - If you use the quicklock (i), move the clamping screw forward and back to tock the workpiece in place. If you use the counterpiece instead a more precise clamping is possible.
- Push back the thread lock on the thread rod until it closes firmly on the threads.
- Turn the hand wheel (14) slightly in order to firmly tighten the workpiece on the vice.
Operation
- For switching on the metal cutting saw, first press the safety lock (2) inwards and then press the ON/OFF switch (3).
- To switch off the machine, release the ON/OFF switch.

Make sure the cut-off disc has reached full speed before cutting the workpiece.
Do not apply too much force on the cut-off disc when cutting the workpiece. Never stop the disc by hand.
Never adjust the mitre angle or undertake maintenance work on the machine while the motor is running.
When locking the machine with the lock down bolt you can easily and effortlessly carry the machine by holding the handle (1).
Maintenance, Cleaning and Storing
- To avoid injury, always pull the power plug before maintaining, cleaning the metal cutting saw or changing the cut-off disc. Do not disassemble the machine and do not try to repair it yourself. In the case of questions or problems please turn to our customer support department.
- Thoroughly clean the metal cutting saw after each use.
- Oil all moving and rotating parts frequently resp. when using the metal cutting saw excessively.
- Before each use, check the metal cutting saw. Check the safety hood, the power switches, and the power cord.
- Check for loose screws, loose connections, broken parts and all other factors, which might interfere with safe operation. Turn the machine off immediately if an unusual sound is noticed or unusual vibrations occur.
- If the machine shows any kind of damage, do not continue using it but have it repaired by a professional or turn to our customer support department.
- Keep the metal cutting saw clean, dry and free from grease and oil.
- Store the metal cutting saw indoors in a dry place that is protected from dirt and extreme temperatures.
Changing the Carbon Brushes
Remove and check the carbon brushes regularly. Replace when they wear down to the limit mark. Keep the carbon brushes clean and free to slip in the holders. Both carbon brushes should be replaced at the same time. Use only identical carbon brushes.
Have the carbon brushes only replaced by an expert or contact our customer service.
Technical Data
| Voltage Supply | 230 V~ |
| Frequency | 50 Hz |
| Power Consumption | 610 W |
| No load Speed | 9000 min-1 |
| Cut-off Disc Diameter | 150 |
| Bore Hole | 22.2 mm |
| Cut-off Disc Thickness | 1.6 mm |
| Vice Mitre Square Setting | 0 – 45° |
| Max. Cutting Capacity 90° Round Material | 32 mm |
| Square | 32 x 32 mm |
| Rectangular | 32 x 27 mm |
| Max. Cutting Capacity 45° Round Material | 32 mm |
| Square | 30 x 30 mm |
| Rectangular | 30 x 25 mm |
| Sound Power Level* | 92 d(B) A |
| Sound Pressure Level* | 105 d(B) A |
| Weight approx. | 4.840 kg |
| Dimensions | 37 x 17 x 27/40 cm |
| Protection Class | II |
* Sound emissions may differ from the declared values during use depending on the ways in which the tool is used.
EC Declaration of Conformity
We, the Westfalia Werkzeugcompany, Werkzeugstraße 1, D-58093 Hagen,
declare by our own responsibility that the product
Metalo Cutting Saw, 610 W
Article No. 84 38 60
is according to the basic requirements, which are defined in the European Directives and their amendments.
2011/65/EU Restriction of the Use of certain hazardous Substances in electrical and electronic Equipment (RoHS)
2014/30/EU Electromagnetic Compatibility (EMC)
EN 55014-1:2017+A11, EN 55014-2:1997+AC+A1+A2,
EN 61000-3-2:2014, EN 61000-3-3:2013
2006/42/EC Machinery
EN 62841-1:2015+AC, EN 62841-3-10:2015+AC+A11
The technical documentations are on file at the QA department of the Westfalia Werkzeugcompany.
Hagen, 20th of December 2021![]()
Thomas Klingbeil,
QA Representative
Customer Services
| Deutschland Westfalia Werkzeugstraße 1 D-58093 Hagen Telefon: (0180) 5 30 31 32 Telefax: (0180) 5 30 31 30 Internet: www.westfalia.de | Schweiz Westfalia Wydenhof 3a CH-3422 Kirchberg (BE) Telefon: (034) 4 13 80 00 Telefax: (034) 4 13 80 01 Internet: www.westfalia-versand.ch | Österreich Westfalia Moosham 31 A-4943 Geinberg OÖ Telefon: (07723) 4 27 59 54 Telefax: (07723) 4 27 59 23 Internet: www.westfalia-versand.at |
Disposal
Dear Customer,
Please help avoid waste materials.
If you at some point intend to dispose of this article, then please keep in mind that many of its components consist of valuable materials, which can be recycled.
Please do not discharge it in the rubbish bin, but check with your local council for recycling facilities in your area.
Gestaltung urheberrechtlich geschützt
© Westfalia 12/21
























