PATON PRO DC Welding Inverter

Recommended length of power welding cables when welding:
Paton Pro DC MMA/TIG/MIG/MAG Product Information
- The Paton Pro DC MMA/TIG/MIG/MAG is a welding machine that can be used for various types of welding such as MMA, TIG, MIG, and MAG.
- The machine comes in different models including PRO160/200/250/270-400V/350-400V/500-400V/630-400V.
- It has a maximum welding current ranging from 160 to 630 amps depending on the model.
- The machine requires a power supply of 220-230V and operates at a frequency of 50/60Hz.
- It features various welding modes including Hot-Start, Arc-Force, and Anti-Stick.
- The machine has IP33 or IP21 protection class depending on the model.
Paton Pro DC MMA/TIG/MIG/MAG Product Usage Instructions
- Before using the machine, make sure to read the user manual carefully.
- Select the appropriate welding mode and current based on the material and thickness you’re welding.
- Connect the machine to a power supply of 220-230V.
- Select the appropriate electrode for MMA welding.
- For TIG welding, use the TIG-LIFT mode and connect the TIG torch to the machine.
- For MIG/MAG welding, select the appropriate wire and gas and adjust the wire feed speed and voltage based on the material and thickness being welded.
- Make sure to wear all necessary safety gear including gloves, a welding mask, and protective clothing.
- Start by welding small sections and gradually increase the length of your welds as you gain experience.
- After completing your welding, turn off the machine and disconnect it from the power supply.
- Clean the machine and all accessories after use to prolong their lifespan.
Connection to the mains/power distribution panel (at 25°C):
CAUTION: Please, pay attention to wall wires and other extension cords
| Used MMA electrode | Set current value for MMA and TIG | Wire cross-section diameter for MIG/MAG | Cross-section of each core of the mains wire, sq. mm | Max. wire length, m |
| 1x220V – PRO-160, PRO-200, PRO-250 | ||||
| Ø2 mm | not more than 80 А | not more than Ø0.6 mm | 1 | 75 |
| 1.5 | 115 | |||
| 2 | 155 | |||
| 2.5 | 195 | |||
| 4 | 310 | |||
| 6 | 465 | |||
| Ø3 mm | not more than 120 А | not more than Ø0.8mm | 1.5 | 75 |
| 2 | 105 | |||
| 2.5 | 130 | |||
| 4 | 205 | |||
| 6 | 310 | |||
| Ø4 mm | not more than 160 А | not more than Ø1.0mm | 2 | 75 |
| 2.5 | 95 | |||
| 4 | 155 | |||
| 6 | 230 | |||
| Ø5 mm | not more than 200 А | 2.5 | 75 | |
| 4 | 125 | |||
| 6 | 185 | |||
| Ø5 mm Ø6 mm fusible | up to 250 A | not more than Ø1.2mm | 2.5 | 60 |
| 4 | 100 | |||
| 6 | 150 | |||
| 3 x 380/400V – PRO-270, PRO-350, PRO-500, PRO-630 | ||||
| Ø3 mm | not more than 120 А | not more than Ø0.8mm | 1.5 | 135 |
| 2 | 175 | |||
| 2.5 | 220 | |||
| 4 | 350 | |||
| 6 | 525 | |||
| Ø4 mm | not more than 160 А |
not more than Ø1.0mm | 2 | 130 |
| 2.5 | 160 | |||
| 4 | 260 | |||
| 6 | 385 | |||
| Ø5 mm | not more than 220 А | 2.5 | 115 | |
| 4 | 180 | |||
| 6 | 270 | |||
| Ø6 mm fusible | not more than 270A | not more than Ø1.2mm | 2.5 | 85 |
| 4 | 135 | |||
| 6 | 205 | |||
| Ø6 mm | not more than 350А | not more than Ø1.4mm | 2.5 | 65 |
| 4 | 100 | |||
| 6 | 150 | |||
| Ø6 mm refractory | not more than 400А |
not more than Ø1.6 mm | 4 | 80 |
| 6 | 120 | |||
| 10 | 195 | |||
| Ø8 mm fusible | not more than 500А | 4 | 55 | |
| 6 | 85 | |||
| 10 | 140 | |||
| Ø8 mm | up to 630A | not more than Ø2.0 mm | 4 | 40 |
| 6 | 65 | |||
| 10 | 105 | |||
GENERAL
PATON PRO-160/200/250/270-400V/350-400V/500-400V/630-400V digital inverter rectifiers are designed for direct-current manual metal arc (MMA) welding, tungsten-arc inert-gas (TIG) welding and metal-arc inert-gas welding/metal active gas welding (MIG/MAG) (where inert gases and gas mixtures serve as a source together with an external wire feeder). The advantages of using a fully digital control method in this unit are that there are no disadvantages inherent in multifunctional systems made based on analogue control systems, which by definition are always configured for a specific mode, and all other modes, as additional ones, have control disadvantages. However, in a fully digital system, the control board has absolutely all the assets of the source, within its full power, and the mode of use does not make any difference. The “Professional” series is designed for industrial use; with additional adjustments, the inverter rectifier can be adjusted to the most optimal settings in various situations. The units provide virtually continuous load duration at full true rated current of 160A, 200A, 250A, 270A, 350A, 500A, 630A, respectively, which is enough for working with any electrodes from Ø1.6mm up to Ø8mm (for PRO-630-400V) and semi-automatic welding with solid wire with a diameter from Ø0.6mm to Ø2.0mm (for PRO-630-400V). The source is initially set to optimal values for most applications, and is quite simple, unless the extensive expertise of the welder enables the use of fine-tuned settings. For dangerous operating conditions, a no-load voltage reduction unit is integrated in the MMA mode, with the possibility of switching it on and off. This PATON PRO model has a built-in under-voltage protection unit. The device stores under its number in each welding mode up to 16 users’ settings (programs). The device saves in memory all the current settings at the moment of switching off and restores them at the time of switching on.
Main advantages:
- Wide range of welding parameters adjustment options:
- in the MMA mode – 1 (main) + 7 (optional) + 3 (for pulse mode)
- in the TIG mode – 1 (main) + 1 (optional) + 3 (for pulse mode)
- in the MIG/MAG mode – 1 (main) + 3 (optional) + 3 (for pulse mode)
- Very wide range of pulse mode settings for all types of welding;
- In addition to protection against under-voltage, a stabilization system is installed for operation with significant long-term drops in line-to-line voltage from 160V to 260V (for models PRO-160/200/250) and from 320V to 440V (for models PRO-270-400V/ 350-400V/500-400V/630-400V).
- The unit is adapted to a weak power supply. Due to its high efficiency, the source provides half the power consumption compared to conventional sources;
- Adaptive fan speed, i.e. it increases at the start of welding, increases, even more, when the unit is heated, and slows down when it is cold; this saves the fan life and reduces the amount of dust in the unit;
- Convenient operation due to the large load duration (LD) at rated current, which allows welding continuously with electrodes;
- Increased reliability of the unit in dusty production conditions; microelectronics of the source is housed in a separate compartment;
- All heating elements of the source are equipped with a thermal electronic protection system;
- All unit’s electronics are covered with two layers of high-quality varnish, which ensures the reliability of the product throughout its entire service life;
- Improved excitation and arc stability, which virtually eliminates electrode sticking.
- Small dimensions and weight of the unit do not affect its technical qualities, which simplifies welding in hard-to-reach places.
| PARAMETERS | PRO-160 | PRO-200 | PRO-250 | PRO-270 | PRO-350 | PRO-500 | PRO-630 |
| Rated voltage of the three- phase mains 50 / 60Hz, V | 220 230 | 220 230 | 220 230 | 3х380 3х400 | 3х380 3х400 | 3х380 3х400 | 3х380 3х400 |
| Rated current consumption from the mains phase, A | 18 … 21 | 23 … 27 | 29.5 … 35 | 12 … 14 | 16 … 18.5 | 30 … 35.5 | 42 … 49 |
| Rated welding current, A | 160 | 200 | 250 | 270 | 350 | 500 | 630 |
| Maximum operating current, A | 215 | 270 | 335 | 350 | 450 | 630 | 800 |
| Load duration (LD) | 70%/at 160A 100%/at 134A | 70%/at 200A 100%/at 167A | 70%/at 250A 100%/at 208A | 70%/at 270A 100%/at 225A | 70%/at 350A 100%/at 290A | 70%/at 500A 100%/at 420A | 70%/at 630A 100%/at 520A |
| Supply voltage variation limits, V | 160 – 260 | 160 – 260 | 160 – 260 | ±15% | ±15% | ±15% | ±15% |
| Limits of regulation of welding current, A | 8 – 160 | 10 – 200 | 12 – 250 | 12 – 270 | 14 – 350 | 16 – 500 | 18 – 630 |
| Limits of regulation of welding voltage, V | 12 – 24 | 12 – 26 | 12 – 28 | 12 – 29 | 12 – 30 | 12 – 40 | 12 – 44 |
| MMA electrode diameter, mm | 1.6 – 4.0 | 1.6 – 5.0 | 1.6 – 6.0 | 1.6 – 6.0 | 1.6 – 6.0 | 1.6 – 8.0 | 1.6 – 8.0 |
| Welding wire diameter, mm | 0.6 – 1.0 | 0.6 – 1.0 | 0.6 – 1.2 | 0.6 – 1.2 | 0.6 – 1.4 | 0.6 – 1.6 | 0.6 – 2.0 |
| Welding pulse modes | MMA: 0.2~500Hz TIG: 0.2~500Hz MIG/MAG: 5…500Hz | ||||||
| “Hot-Start” in MMA mode | Adjustable | ||||||
| “Arc-Force” in MMA mode | Adjustable | ||||||
| “Anti-Stick” in MMA mode | Automatic | ||||||
| No-load voltage reduction unit | on / off | ||||||
| MMA no-load voltage, V | 12 / 75 | ||||||
| Arc striking voltage, V | 110 | ||||||
| Rated power consumption, kVA | 4.0 … 4.6 | 5.0 … 6.0 | 6.5 … 7.7 | 7.9 … 9.3 | 10.6 … 12.2 | 19.8 … 23.5 | 27.7 … 32.4 |
| Maximum power consumption, kVA | 5.8 | 7.4 | 9.4 | 11.3 | 15.2 | 28.9 | 40.0 |
| Efficiency, % | 92 | ||||||
| Cooling | Adaptive | ||||||
| Operating temperature range | -25 … +45ºС | ||||||
| Overall dimensions, mm (length, width, height) | 330 х 115х 262 | 330 х 115 х 262 | 330 х 115 х 262 | 390 х 145 х 335 | 390 х 145 х 335 | 510 х 180 х 385 | 510 х 235 х 410 |
| Weight without accessories, kg | 5.4 | 5.6 | 5.7 | 10.5 | 10.9 | 21.7 | 24.2 |
| Protection rating* | IP33 | IP33 | IP33 | IP33 | IP33 | IP21 | IP21 |
Recommended length of power welding cables when welding:
| Maximum current | Cable length (one way) | Cross-section area | Cable brand |
| not more than 160А | 2 … 7 m | 16 mm2 | KG 1х16 |
| not more than 200А | 3 … 9 m | 25 mm2 | KG 1х25 |
| not more than 250А | 5 … 11 m | 35 mm2 | KG 1х35 |
| not more than 270А | 5 … 11 m | 35 mm2 | KG 1х35 |
| not more than 350А | 6 … 14 m | 35 mm2 | KG 1х35 |
| not more than 500А | 8 … 30 m | 50 mm2 | KG 1х50 |
| 12 … 40 m | 70 mm2 | KG 1х70 | |
up to 630A | 10 … 30 m | 70 mm2 | KG 1х70 |
| 15 … 40 m | 95 mm2 | KG 1х95 |


- Digital display;
- Buttons for adjusting the selected parameter to decrease and increase (by default:
MMA – welding current, TIG – welding current, MIG/ MAG – welding voltage); - Function selection button in the used welding mode;
- Welding mode selection button:
- manual metal arc welding, MMA;
- tungsten-arc inert-gas welding, TIG;
- metal-arc inert-gas welding/metal active gas welding, MIG/MAG;
- Unit overheating indicator: when the unit is normal, the indicator is off, when the unit is overheated, it flashes;
- Source circuit breaker;
- Power supply cable;
- Connector for feeding signals from the wire feeder to turn the source on and off;
- Grounding cable connection;
- Bayonet-type power current socket “+”;
- MMA welding – the electrode cable is connected (in more rare cases, when using special electrodes, the ground cable is connected);
- TIG welding – only the ground cable is connected;
- MIG/MAG welding with solid wire – the cable is connected to the wire feeder;
- MIG/MAG welding with flux-cored wire – the ground cable is connected;
- Bayonet-type power current socket “-“.
- MMA welding – the grounding cable is connected (in more rare cases, when using special electrodes, the electrode cable is connected);
- TIG welding – only the TIG torch is connected;
- MIG/MAG welding with solid wire – the ground cable1 is connected;
- MIG/MAG welding with flux-cored wire – the cable is connected to the wire feeder
START-UP
Caution: Please, read Section 15 “Safety instructions” before starting-up.
INTENDED USE
The welding unit is designed exclusively for MMA welding, tungsten-arc inert-gas (TIG) welding, as well as metal-arc inert-gas welding/metal active gas welding (MIG/MAG).
Any other use of the unit is inappropriate. The manufacturer bears no liability for damage caused by using the unit for other purposes. Proper use implies following the instructions in this user manual.
SPACE REQUIREMENTS
The welding unit can be located and operated outdoors. The internal electrical parts of the unit are protected from direct exposure to moisture, but not from condensation drops.
CAUTION: After finishing welding in hot weather, or intensive welding in any weather, do not turn off the unit immediately! Wait 5 minutes time to let the electronic components to cool down.
- After an operation in the cold season, after switching off and subsequent cooling of the unit, condensation forms inside – do not switch the unit in less than 3 to 4 hours!!!
Therefore, do not turn off the unit in cold premises if you plan to turn it on in less than 4 hours. The unit consumes very little power in no-load mode. Place the unit so that cooling air can enter and exit freely through the vents on the front and rear panels. Make sure that no metal dust (e.g. when sanding) is sucked into the unit directly by the cooling fan.
CAUTION: The unit can be life-threatening after being dropped. Place the unit on a stable solid surface.
POWER CONNECTION
The standard welding unit is rated for:
- Mains voltage is 220V (-27% +18%) – for PRO-160/200/250;
- Three-phase mains voltage is 3x380V or 3x400V (for PRO-270/350/500/630), three wires are dedicated for this. Safety rules when working with welding equipment require grounding of the unit housing. There are two ways to do this: 1) by using the fourth wire in the mains yellow-green cable (international marking standard); 2) by using a bolted terminal on the rear wall of the unit (a stricter grounding standard, used in the CIS countries).
Cautio: When the unit is connected to a mains voltage higher than 270V (for PRO-160/200/250) or 450V (for PRO-270/350/500/630), all manufacturer’s warranty obligations become invalid! The manufacturer’s warranty obligations also become invalid in case of an erroneous connection of the mains phase to the source ground.
The mains connector, the cross-sections of the mains cables, as well as the mains fuses need to be selected based on the unit technical data.
CONNECTING THE MAINS PLUG
CAUTION: The mains plug needs to match the supply voltage and current consumption of the welding unit (see the technical data). In accordance with the safety instructions, use a guaranteed ground connection, do not connect to the zero wire of the power supply mains!!!
- The mains switch in PRO-160/200/250 units is also a signal button and cuts off only the power current of the welding unit, but does not completely de-energize the unit’s internal electronics. Therefore, for safety reasons, when connecting, do not forget to completely disconnect from the wall socket.
MANUAL METAL ARC (MMA) WELDING
Procedure for preparing the unit for operation:
- insert the electrode holder cable into the socket of the source A “+”;
- insert the ground terminal into the socket of the source B “-”;
- connect the ground terminal to the workpiece;
- connect the mains cable to the three-phase power supply;
- put the automatic switch 6 on the rear panel to the ON position;
- use button 4 to set the MMA welding mode, the modes are switched in a circle;
- use buttons 2 to set the current main parameter, this is the welding current;
- if necessary, you can adjust additional functions of the welding process, see paragraph 6.1 for the order of switching.
Caution: In the MMA welding mode, after the mains switch is switched to the “I” position, the MMA is energized. Do not touch conductive or grounded objects such as, e.g., the housing of the welding unit, etc. with the electrode, since the unit will perceive this condition as a signal to start the welding process.
WELDING PROCESS CYCLE – MMA
See paragraph 6.1 for the procedure for switching the value of any function
“HOT-START” FUNCTION
Advantages:
- improved striking even when using poorly ignited electrodes;
- better penetration of the base material during striking, therefore, less lack of penetration;
- prevention of slag inclusions;
- manual setting: allows you to set the function level to the minimum value, which greatly reduces power consumption at the initial moment of striking. This allows the source to start at mains voltage values close to the minimum possible ones, but reduces the quality of the moment of striking (the unit becomes similar to a transformer source, but it is the only possible way in certain situations). You can also increase the function to the maximum value to further improve the striking timing (when using good mains). However, do not forget that the increased current of this function can burn through the workpiece when welding thin metals, so we recommend reducing the “Hot start” in this case.
What helps to achieve this: for a short time at the moment of arc striking, the welding current increases by the default level of +40%.
Example: welding with Ø3mm electrode, the set main value of the welding current is 90A.
Result: The hot start current will be 90A + 40% = 126A.
In the advanced settings, you can change both the “Hot Start” power [H.St], and the “Hot Start” time [t.HS]. If necessary, do not increase the power and trigger time of the “Hot Start” too much, because it requires a very strong power supply mains at high limit values, and in the absence of good mains, the striking process will fail. See paragraph 6.1 to change the value of any function in the current welding mode
“ARC-FORCE” FUNCTION
Advantages:
- increasing the stability of short-arc welding;
- improved drop of metal transfer into the weld pool;
- improved arc striking;
- reduces the probability of electrode sticking, but this is not the “Anti-stick” function, which will be discussed in the next paragraph;
- manual setting: allows you to set the function level to a minimum value, which slightly reduces energy consumption, as well as the concentration of heat input when welding thin metals, which reduces the probability of burning through, but also reduces the short-arc stability (the unit becomes similar to a transformer source). You can also increase the function to the maximum value for even greater short-arc stability, but this requires a better power supply mains and increases the probability of burning the workpiece. What helps to achieve this: if the arc voltage is reduced below the minimum allowed for stable arcing, the welding current increases by the default level of +40%. In the advanced settings, you can change both the force of the “Arc-Force” [Ar.F] and the trigger level of the function [u.AF]. Unless required, do not increase the power and level of a trigger of the “Arc-Force”, because this affects the operation of the “Anti-stick” function at large limit values, especially when welding with thin electrodes less than Ø3.2 mm, which will be discussed in the next paragraph.

See paragraph 6.1 to change the value of any function in the current welding mode
“ANTI-STICK” FUNCTION
During the initial striking of the arc, the electrode can stick, tack to the workpiece; this is prevented by many functions in the unit, but this can still happen, which in turn leads first to incandescence, and then to damage to the electrode. In such a case, the unit’s “Anti-sticking” function is activated, which is built-in and operates in the MMA mode constantly, which reduces the welding current in 0.6…0.8 seconds after this condition is detected. This also makes it easier for the welder to separate (detach) the electrode from the workpiece without the risk of scalding the eyes by accidentally striking the arc. After the electrode is detached from the workpiece, the welding process can be continued unobstructed.
CURRENT-VOLTAGE CHARACTERISTIC SLOPE CONTROL FUNCTION
This function is primarily intended for comfortable welding with electrodes with various types of coatings. By default, the current-voltage characteristic slope [CVS] is set to 1.4 V/A, which corresponds to the most common rutile-coated electrodes (ANO-21, MR-3). It is not mandatory for more comfortable operation with electrodes with the main type of coating (UONI-13/45, LKZ-70), but we recommend setting the slope [CVS] to 1.0 V/A. In turn, the cellulose-coated electrodes (CC-1, VSC-4A) even require setting the slope [CVS] to a value of 0.2…0.6 V/A, and sometimes it is necessary to raise the level of operation of the “Arc-Force” function [u.AF] up to the value of 18V. See paragraph 6.1 to change the value of any function in the current welding mode
SHORT-ARC WELDING FUNCTION
This function is especially relevant when welding ceiling joints, when you need to make sure that the welding arc does not stretch too much. To do this, you can put the “Short Arc” function [Sh.A] to the ON position. By default, it is in the OFF position. See paragraph 6.1 to change the value of any function in the current welding mode
NO-LOAD VOLTAGE REDUCTION UNIT FUNCTION
When performing welding operations in the containers, tanks, and where an enhanced electrical safety system is required, the no-load voltage reduction function can be activated. When the electrode is detached from the workpiece, after 0.1 seconds, the voltage at the source terminals decreases to a safe level below 12V. To do this, you need a no-load voltage reduction unit [BSn], which is available in this model, but by default, it is in the OFF position, i.e., off, since it is known that turning on any such function slightly worsens arc striking. See paragraph 6.1 to change the value of any function in the current welding mode.
PULSE CURRENT WELDING FUNCTION
This function is designed to facilitate the control of the welding process in spatial positions other than the lower one, as well as when welding non-ferrous metals. The effect occurs directly on the mixing of the molten metal of the seam and on the transfer of the drop into the weld pool, and this, in turn, affects the stability of the seam formation and the welding process. In other words, this process replaces the welder’s hand movements to some extent, especially in hard-to-reach places. The correct setting determines the shape and quality of the seam formation, which reduces the likelihood of pores and reduces the grain structure, and thus increasing the strength of the welded joint.
To implement this function in the device, you need to set three parameters: pulsation power [Po.P], pulsation frequency [Fr.P] and pulse/pause ratio (or “duty cycle”) [dut]. By default, pulsation power [Po.P] as a key parameter is set to OFF, i.e., the function is turned off, and pulsation frequency [Fr.P] and “duty cycle” [dut] at the most common values of 5.0 Hz and 50%, respectively. To enable the function, simply set the pulsation power [Po.P] above zero. This parameter is set as a percentage of the used main welding current set.
Example: welding with Ø3mm electrode, the set main value of the welding current is 60A, and the pulsation power [Po.P] = 40%, while the pulsation frequency [Fr.P] = 5.0Hz and the “duty cycle” [dut] = 50% by default.
Result: the current will pulse from 36A to 84A at a frequency of 5 Hz; the pulses will have an equal shape in amplitude and time. The “duty cycle” parameter is set to 50% by default. If this parameter is changed from 50%, an asymmetry between the current pulse time and the current “pause” time is introduced:
The unit will react in such a way that the average current level during the welding process will be at the level of the set main value of the welding current 60A (as it was set), respectively, and the heat input to the welding seam will be at the level of the same 60A, but the stability of the welding process and the mixing of the weld pool will change. This is a very important condition for the user to accurately estimate the amount of change in the heat input to the weld pool, e.g., by comparing it with another main current without pulse mode.
These parameters are set in different situations in different ways, according to the welder’s requirements. See paragraph 6.1 to change the value of any function in the current welding mode
TUNGSTEN-ARC INERT-GAS (TIG) WELDING
Caution:As a shielding gas, pure argon “Ar” is most often used, sometimes helium “He”, as well as a mixture of them in various proportions.
Example: argon + helium “40%Ar+60%He”.
DO NOT allow the use of flammable gases! Use of other gases is allowed only in agreement with the equipment manufacturer.
Procedure for preparing the unit for operation:
- insert the torch cable into the socket of the source B “-”;
- insert the ground terminal into the socket of the source A “+”;
- attach the ground terminal to the workpiece;
- install the reducing valve on the gas cylinder;
- connect the torch gas hose to the gas cylinder reducing valve;
- open the gas cylinder valve, check for air-tightness;
- connect the mains cable to the three-phase power supply;
- put the automatic switch 6 on the rear panel to the ON position;
- use button 4 to set the TIG welding mode, the modes are switched in a circle;
- use buttons 2 to set the current main parameter, this is the welding current;
- if necessary, you can adjust additional functions of the welding process, see paragraph 6.1 for the order of switching.
Caution: The TIG torch must be of valve type, with a Ø13mm bayonet connector. Choose the maximum torch current according to your operating requirements.
- A common mistake is to sharpen the electrode to a “needle”, while the arc can “wag” from side to side. The correct sharpening is a slightly blunted tip, and the fewer are the “needle butts” that can withstand the set current, the better. Keep in mind that at high welding currents, a very sharpened electrode is easily melted due to low heat transfer. Also, the “stripes” from sharpening should be located along the axis of the electrode.
WELDING PROCESS CYCLE – TIG-LIFT
See paragraph 6.1 for the procedure for switching the value of any function
TIG-LIFT ARC STRIKING FUNCTION
This function is set by default in this model of equipment, and is designed for torches with contact arc striking, without using oscillators and other similar units, but unlike the classic method, it completely eliminates the shock current at the time of striking. This function significantly reduces the destruction and ingress of a refractory tungsten electrode into the welding seam, which is a very negative phenomenon.
Caution: The workpiece needs to be cleaned at the place of arc striking.
How to use this function is to touch the workpiece with the electrode, while you can hold the electrode in this position indefinitely, and when the user considers that he is ready to start welding (e.g., he lowered the protective mask over his eyes and blew the place well with shielding gas) then it is enough to start SLOWLY lifting the sharpened electrode tip away from the workpiece. The unit will detect this moment and perceive it as a signal to start the welding process, thereby starting to increase the welding current to the set value. The larger the main operating current, the faster you need to raise the electrode, otherwise, it will melt. You need to get used to the optimal electrode separation speed. The time of smooth current build-up [t.uP] to the set value will be reviewed in the next paragraph.
WELDING CURRENT BUILD-UP FUNCTION
This function, in addition to saving the life of the electrode and, to some extent, the torch itself, is also necessary for the convenience of using the torch. This eliminates the formation of initial splashing of the weld pool, as well as for the set time of current build-up [t.uP], you can accurately direct the torch to the desired welding location, since the arc striking location in particularly critical workpieces is not always located at the welding location, or you can even use this function to preheat the welding location. By default, it is set to OFF – disabled. See paragraph 6.1 to change the value of any function in the current welding mode
PULSE CURRENT WELDING FUNCTION
This function is designed to facilitate the control of the welding process in spatial positions other than the lower one, as well as when welding non-ferrous metals. The effect occurs directly on the mixing of the molten metal of the seam, and this, in turn, on the stability of the seam formation. To some extent, it replaces the movement of the welder’s hand during welding, especially in hard-to-reach places. There is also partially a forced effect on the transfer of a drop from the filler wire to the weld pool. The correct setting determines the shape and quality of the seam formation, which reduces the likelihood of pores and reduces the grain structure, and thus increasing the strength of the welded joint. To implement this function in the device, you need to set three parameters: pulsation power [Po.P], pulsation frequency [Fr.P] and pulse/pause ratio (or “duty cycle”) [dut]. By default, pulsation power [Po.P] as a key parameter is set to OFF, i.e., the function is turned off, and pulsation frequency [Fr.P] and “duty cycle” [dut] at the most common values of 10 Hz and 50%, respectively. To enable the function, simply set the pulsation power [Po.P] above zero. This parameter is set as a percentage of the used main welding current set.
Example: welding with a refractory tungsten electrode with a diameter of 2 mm, the set basic value of the welding current is 100A, and the pulsation power [Po.P] = 30%, while the pulsation frequency [Fr.P] = 10.0 Hz and “duty cycle” [dut] = 50% by default.
Result: the current will pulse from 70A to 130A at a frequency of 10 Hz; the pulses will have an equal shape in amplitude and time.
The “duty cycle” parameter is set to 50% by default. Changing this value introduces an asymmetry between the current pulse time and the current “pause” time:
The unit will react in such a way that the average current level during the welding process will be at the level of the set main value of the welding current 100A (as it was set), respectively, and the heat input to the welding seam will be at the level of the same 100A, but the stability of the welding process and the mixing of the weld pool will change. This is a very important condition for the user to accurately estimate the amount of change in the heat input to the weld pool, e.g., by comparing it with another main current without pulse mode. These parameters are set in different situations in different ways, according to the welder’s requirements. See paragraph 6.1 to change the value of any function in the current welding mode
METAL-ARC INERT-GAS WELDING/METAL ACTIVE GAS WELDING (MIG/MAG)
The unit can act as a source for semi-automatic welding, and it has the necessary current-voltage characteristic at the output of the power terminals when switching to this mode. Absolutely any independent wire feeder operating at a specific power supply voltage of the built-in motor can serve as an external feed mechanism for wire feeding. For this purpose, it must have its own power source, or be powered from the source voltage (this is a lower priority option, since very rarely such systems have a good and stable wire feeding).
Caution: In the simplest case, carbon dioxide “CO2” is used as a shielding gas when welding ferrous metals, and when welding aluminium, only inert gases such as argon “Ar”, sometimes helium “He” are suitable. For stainless and high-alloy steels, mixtures in various proportions “80% Ar+20% CO2” are often used. Use of other gases is allowed only in agreement with the equipment manufacturer.
The procedure for preparing for welding with solid wire:
- insert the ground terminal into the socket of the source B “-“;
- attach the ground terminal to the workpiece;
- a pre-made power jumper with a cable cross-section of at least 25 mm2 must be connected to the socket of the source A “+”, and the other end is connected to the power terminal of the wire feeder, in each case it is individual, so it makes no sense to list all the options;
- connect the torch to the wire feeder;
- install the reducing valve on a gas cylinder with shielding gas “CO2”, “Ar” or “Ar+CO2”;
- connect the gas hose to the gas cylinder reducing valve and the fitting on the wire feeder, the connection method may be different;
- open the gas cylinder valve, check for air-tightness;
- connect the mains plug to the power supply;
- connect the power supply unit of the wire feeder to the power supply mains (if the wire feeder is independently powered);
- turn on the wire feeder with its own switch;
- install a spool of wire with the required diameter;
- lead the free end of the wire through the inlet channel to the TIG torch;
- put the automatic switch 6 on the rear panel to the ON position;
- use button 4 to set the MIG/MAG welding mode, the modes are switched in a circle;
- use buttons 2 to set the required welding voltage;
- set the required wire feeding speed on the wire feeder;
- if necessary, you can adjust additional functions of the welding process, see paragraph 6.1 for the order of switching.
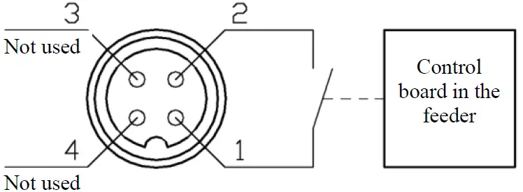
To control turning the source on and off, there is a control connector 8 on the rear panel. Connection diagram:
Only contacts 1 and 2 are used, which are closed at the right time. When the source should be operational, close the contacts, and when the source should be turned off, open them.
CAUTION: The connection diagram and implementation in wire feeders is individual for each specific case, therefore, it is not given in this user manual for the power source. See the operating instructions of the wire feeder for this.
In independent wire feeders by PATON, Feeder-15-2-250 (2-roll feeder), Feeder-15-4-250 (4-roll feeder) and Feeder-15-4U (4-roll feeder) and the adaptation of the control connectors is already provided, thus the assembly will require minimal effort. What you need to do is just to fix the plug in connector 8. Do not forget about the supply of shielding gas. If you are a beginner and have no experience in setting the optimal pressure for welding a particular product, then at the first moment the gas pressure can be set higher than the optimal value of ~0.2 MPa. This will have little effect on the process, only the shielding gas consumption will increase. But in the future, to save money, follow the general recommendations for semi-automatic welding operations. Also, start with the middle position of the wire feed speed controller on the wire feeder (~ 4..5 m/min) and medium voltage at the source (~ 19V) for any diameter of the installed wire (Ø0.6 … 1.2Mm). It may not be optimal, but with correct operation and even wire feed (without jerks), as well as correct connection, such a “source + wire feeder” link should already provide welding. To achieve the best result, you need to adjust the voltage at the source with buttons 2 and the wire feed speed on the wire feeder in accordance with the general recommendations for carrying out the welding process with semi-automatic units. Remember, these parameters are different for each specific case.
WELDING PROCESS CYCLE – MIG/MAG
See paragraph 6.1 for the procedure for switching the parameter value of the function. The pre-blowing time (t1) and post-blowing time (t2) with shielding gas are set on the wire feeder.
INDUCTANCE FUNCTION
This function modifies the drop transfer process by changing the rate of current build-up from a change in the arc voltage. As the stage value increases, the splatter decreases, but the drop transfer frequency decreases. By changing the value of this function, each user can choose the optimal welding process for themselves. In general, the minimum values are used for welding thickness of more than 3 mm, and the maximum values are used for thinner products. By default, the inductance is set to OFF, i.e. set to zero stage. See paragraph 6.1 to change the value of any function in the current welding mode.
BEGINNING OF WELDING VOLTAGE BUILD-UP FUNCTION
This function is necessary to smoothly reach the welding mode in the set time [t.uP], which reduces splashing of the weld pool and splatter at the moment of striking, when the wire is still cold. The extended smooth reach time is used for the initial weld pool formation. The voltage build-up time [t.up] is responsible for regulating the smoothness of this process, both in the source and in the wire feed speed control unit. For maximum correct operation, these values must be consistent (not every feed unit has the ability to change the wire feed speed at the end of welding).
CAUTION: The longer the build-up time, the smaller the initial weld, so it is used only for medium and long seams. For this reason, do not increase the time by more than 0.1 seconds when welding with tacks, etc.
By default, the reach time is set to OFF, i.e. disabled. See paragraph 6.1 to change the value of any function in the current welding mode.
CAUTION
When welding with steel wire, the build-up time [t.uP] at the source must be either equal to or slightly less than that at the wire feeder. When welding with aluminium wire, the build-up time [t.uP] at the source must be longer (+0.2…+ 0.5 sec) than that at the wire feeder.
END OF WELDING VOLTAGE REDUCTION FUNCTION
This function is designed for smooth welding of the crater formed in the weld pool under the influence of electromagnetic blast with an electric arc and subsequently being a source of welding seam defects. The signal to start the function is to release the button on the torch at the end of the welding process, and the movement of the torch must be stopped and a pit (which is essentially a crater) in the welding seam must be welded with a reducing voltage. The voltage reduction time [t.dn] is responsible for regulating the smoothness of this process, both in the source and in the wire feed speed control unit. For correct operation, these values must match. By default, it is set to 0.1 seconds, i.e. disabled. You can change this value at your own discretion. See point 6.1 for the switching procedure
CAUTION!
When welding with steel wire, the reduction time [t.uP] at the source must be either equal to or slightly more than that at the wire feeder. When welding with aluminium wire, the reduction time [t.uP] at the source must be less (-0.3…-0.7 sec) than that at the wire feeder.
PULSE VOLTAGE WELDING FUNCTION
This function is designed to facilitate the control of the welding process in spatial positions other than the lower one, as well as when welding non-ferrous metals. The effect occurs directly on the mixing of the molten metal of the seam, so it primarily affects the shape of the seam. There is also a forced effect on the transfer of a drop into the weld pool, which in turn affects the stability of the process. As with other types of welding, this process replaces the welder’s hand movements to some extent, especially in hard-to-reach places. In addition to the correct shape, the quality of seam formation also depends on the correct setting, which reduces the likelihood of pores and reduces the grain structure, and thus increasing the strength of the welded joint. To implement this function in the device, you need to set three parameters: pulsation power [Po.P], pulsation frequency [Fr.P] and pulse/pause ratio (or “duty cycle”) [dut]. By default, pulsation power [Po.P] as a key parameter is set to OFF, i.e., the function is turned off, and pulsation frequency [Fr.P] and “duty cycle” [dut] at the most common values of 20 Hz and 50%, respectively. To enable the function, simply set the pulsation power [Po.P] above zero. This parameter is set as a percentage of the used main welding voltage set.
Example: welding with 0.8 mm wire, the set wire feed speed is 5.5 m/min, the set basic value of the welding voltage is 18V, and the pulsation power [Po.P] = 20%, while the pulsation frequency [Fr.P] = 20 Hz and “duty cycle” [dut] = 50% by default.
Result: the source voltage will pulse from 14.4 V to 21.6 V at a frequency of 20 Hz; the pulses will have an equal shape in amplitude and time.
The “duty cycle” parameter is set to 50% by default. Changing this value introduces an asymmetry between the voltage pulse time and the voltage “pause” time:
The unit will react in such a way that the average voltage level during the welding process will be at the level of the set basic value of the welding voltage of 18V (as it was set), respectively, and the heat input to the welding seam will be at the level of the same 18V, but the stability of the welding process, the mixing of the weld pool and penetration will change. This is a very important condition for the user to accurately estimate the amount of change in the heat input to the weld pool, e.g., by comparing it with another main voltage without pulse mode.
If the task is to reduce the heat input to the seam by using a pulse mode, e.g., when welding thin metals, then it is enough to reduce the main source voltage in a standard way, while the amplitude of pulses and pauses set earlier will automatically adjust to this voltage. Therefore, the user will clearly understand how much the current heat input to the seam has decreased compared to the previous mode, while simultaneously changing, in any combination, the power and “duty cycle” of the pulses to obtain the desired process. This task is not easy, since several parameters are regulated at once.
These parameters are set in different situations in different ways, according to the welder’s requirements. See paragraph 6.1 to change the value of any function in the current welding mode
CONFIGURING THE UNIT.
When the buttons on the front panel are not touched, the unit always displays the value of the main parameter of the used welding mode on the digital indicator:
- in the MMA mode – welding current;
- in the TIG mode – welding current;
- in the MIG/MAG mode – welding voltage.
Buttons 2 on the front panel are responsible for changing the value of the selected function or main parameter.
Button 3 on the front panel of the unit is multifunctional and is responsible for the following:
- circular selection of any function in the current welding mode (quick press);
- reset all functions to the factory settings of the current welding mode (hold for more than 12 seconds).
Button 4 on the front panel is responsible for changing the welding mode; switching in a circle.
SWITCHING TO THE REQUIRED FUNCTION
If the unit has a system of protection against unauthorized access to the function menu, then if you press button 3, no changes are made on the indicator, i.e., this button is locked. To unlock it, hold it down for more than 3.5 seconds. When unlocking, the indicator displays an image of opening locks, indicating the process of unlocking the function menu. After successful unlocking, by pressing button 3, the current name of the function and its value are displayed on the digital display.
Caution: After releasing button 3 after 2 seconds, the screen will return to the main parameter of the current welding mode. While the display is showing the current function, its value can be changed up or down using buttons 2. Alternatively, by quickly pressing and releasing button 3, you can switch to the next function, in a circle.
- If you hold down button 3 for a long time, when you see the name of the function, after about 10 seconds, a countdown 333…222…111 will start on the digital display warning about resetting all settings of the current mode. This will be reviewed in the next paragraph.
SWITCHING TO THE REQUIRED WELDING MODE
Pressing button 4 leads to switching to the next welding mode in a circle, this can be seen on display 1 on the front panel.
RESET ALL FUNCTIONS OF THE WELDING MODE USED
Situations may occur when the unit’s settings have somewhat confused the user. In order to reset them to the standard factory settings, it is enough to hold down button 3 for more than 10 seconds (ignore the animation of lock symbols). As mentioned in the previous paragraph, the scoreboard will start counting down 333…222…111 and when “000” is reached, all settings of the current welding mode will be updated to factory settings. Reset parameters for each welding mode are made separately. This is provided for convenience, so as not to reset individual settings in the other two modes.
CHANGE PROGRAM NUMBER IN CURRENT WELDING MODE
In each MMA, TIG, and MIG / MAG welding mode, it is possible for the user to save up to 16 different presets. The current preset (program) number is displayed in the upper right corner of the LCD of the source on the front panel. At the moment of the first switching on of the machine, the program is always under No. 1 for each welding mode. All changes in the setting of the machine in this welding mode and the current program number are saved. To switch to another program number and start setting again from the basic parameters, just press button 3 and if the function selection menu is locked, then the LCD displays the current program number, which can be changed up or down using buttons 2. If the function selection menu is not locked, for example, the user just before that changed the additional parameters of the functions described in clause 6.1, then it is necessary to lock the function selection menu by holding button 3 for more than 3.5 seconds, in the same way as when unlocking, when the LCD will show closing locks, after this operation the menu will be locked and now you can try again to change the program number using button 3. In this case, all the parameters of the previous program will be saved and you can always return to it again.
GENERAL LIST AND SEQUENCE OF FUNCTIONS
MMA welding mode
- 0) [- 1 -] – main displayed parameter CURRENT = 90A (by default)
- 8 … 160A (change step 1A) for RRO-160
- 10 … 200A (change step 1A) for RRO-200
- 12 … 250A (change step 1A) for RRO-250
- 12 … 270A (change step 1A) for RRO-270
- 14 … 350A (change step 1A) for RRO-350
- 16 … 500A (change step 1A) for PRO-500
- 18 … 630A (change step 1A) for PRO-630
- 1) [H.St] Hot start power = 40% (by default)
- 0[OFF] … 100% (change step 5%)
- 2) [t.HS] Hot start time = 0.3 sec (by default)
- 0.1 … 1.0 sec (change step 0.1 sec)
- 3)[Ar.F] Arc Force power = 40% (by default)
- 0 [OFF] … 100% (change step 5%)
- 4) [u.AF] Arc force trigger level = 12V (by default)
- 9 … 18V (change step 1V)
- 5)[CVS] current-voltage characteristic slope = 1.4 V/A (by default)
- 0.2 … 1.8 V/A (step change 0.4 V/A)
- 6) [Sh.A] short arc welding = OFF (by default)
- ON – enabled
- OFF – disabled
- 7)[BSn] voltage reduction unit = OFF (by default)
- ON – enabled
- OFF – disabled
- 8)[Po.P] current pulsation power = OFF (by default)
- 0[OFF] … 80% (change step 5%)
- 9)[Fr.P] current pulsation frequency = 5.0 Hz (by default)
- 0.2 … 500 Hz (dynamic change step 0.1 Hz…1 Hz)
- 10) [dut] pulse/pause ratio (duty cycle) – it is the percentage of the current pulse to the period of repetition of these pulses = 50% (by default)
- 20 … 80% (change step 5%)
TIG welding mode
- 0) [-2-] main display parameter CURRENT = 100A (by default)
PATON PRO DC MMA/TIG/MIG/MAG- 8 … 160A (change step 1A) for PRO-160
- 10 … 200A (change step 1A) for PRO-200
- 12 … 250A (change step 1A) for PRO-250
- 12 … 270A (change step 1A) for RRO-270
- 14 … 350A (change step 1A) for RRO-350
- 16 … 500A (change step 1A) for PRO-500
- 18 … 630A (change step 1A) for PRO-630
- 1) [t.uP] current build-up time = OFF (by default)
- 0 [OFF] … 15.0 sec (change step 0.1 sec)
- 2) [Po.P] current pulsation power = OFF (by default)
- 0[OFF] … 80% (change step 5%)
- 3) [Fr.P] current pulsation frequency = 10.0 Hz (by default)
- 0.2 … 500 Hz (dynamic change step 0.1 Hz…1 Hz)
- 4) [dut] pulse/pause ratio (duty cycle) – it is the percentage of the current pulse to the period of repetition of these pulses = 50% (by default)
- 20 … 80% (change step 5%)
MIG/MAG welding mode
- 0) [- 3-] main display. parameter VOLTAGE = 19.0 V (by default)
- 12.0 … 24.0 V (step change 0.1 V) for PRO-160
- 12.0 … 26.0V (step change 0.1 V) for PRO-200
- 12.0 … 28.0V (step change 0.1 V) for PRO-250
- 12.0 … 29.0V (step change 0.1 V) for РRO-270
- 12.0 … 30.0V (step change 0.1 V) for РRO-350
- 12.0 … 40.0V (step change 0.1 V) for PRO-500
- 12.0 … 44.0V (step change 0.1 V) for PRO-630
- 1) [Ind] inductance = OFF (by default)
- 0 [OFF] … Stage 3 (change step 1 stage)
- 2) [t.up] voltage build-up time = OFF (by default)
- 0 [OFF] … 5.0 sec (change step 0.1 sec)
- 3) [t.dn] voltage reduction time = 0.1 sec (by default)
- 0.1 … 5.0 sec (change step 0.1 sec)
- 4) [Po.P] voltage pulsation power = OFF (by default)
- 0[OFF] … 80% (change step 5%)
- 5) [Fr.P] voltage pulsation frequency = 20Hz (by default)
- 5 … 500 Hz (step change 1 Hz)
- 6) [dut] pulse rate (duty cycle) – it is the percentage of the voltage pulse to the period of repetition of these pulses = 50% (by default)
- 20 … 80% (change step 5%)
GENERATOR OPERATION
The power supply is suitable for generator operation, provided as follows:
| When working with an electrode | Set current value for MMA and TIG | When working with a wire diameter of MIG/MAG | Minimum generator power |
| Ø2 | not more than 80А | not more than Ø0.6 mm | 3.0 kVA |
| Ø3 | not more than 120А | not more than Ø0.8 mm | 4.5 kVA |
| Ø4 | not more than 160А | not more than Ø1.0 mm | 6.0 kVA |
| Ø5 | not more than 200А | not more than Ø1.0 mm | 7.7 kVA |
| Ø6 fusible | not more than 250А | not more than Ø1.2 mm | 10 kVA |
| Ø6 fusible | not more than 270А | not more than Ø1.2 mm | 12.0 kVA |
| Ø6 | not more than 350А | not more than Ø1.4 mm | 16.0 kVA |
| Ø8 fusible | not more than 500А | not more than Ø1.6 mm | 30.5 kVA |
| Ø8 | up to 630A | not more than Ø2.0 mm | 42.0 kVA |
For trouble-free operation! The output line-to-line voltage of the generator must not exceed the permissible limits:
- 160-260V (for ProMIG-200/250);
- 320-440V for all three phases (for ProMIG-270/350/500/630).
CARE AND MAINTENANCE
Caution: Before opening the unit for preventive maintenance, be sure to turn it off and remove the mains plug. Allow the internal circuits of the unit to discharge (about 5 minutes), and only then proceed to other actions. When leaving, install a sign prohibiting to start the unit.
In order to keep the unit operational for many years, be sure to follow several rules:
- carry out a safety inspection at specified intervals (see Section “Safety instructions”);
- with intensive use, we recommend that you blow the unit with dry compressed air every six months. Caution! Blowing from a short distance can result in damage to the electronic components;
- if there is a lot of dust, clean the cooling system ducts manually.
STORAGE
Store the conserved and packaged source under storage conditions 4 in accordance with GOST 15150-69 for a period of 5 years. The de-conserved source should be stored in dry closed premises at an air temperature not lower than +5 0С. The premises should be free of acid vapours and other active substances.
TRANSPORTATION
The packed source is suitable to be transported by all transport means ensuring its safety in compliance with the transport rules established for the applicable type of transport.
SCOPE OF SUPPLY
7. Arc power source with mains cable
8. Shoulder strap
9. PATON corrugated box
10. Cable with electrode holder ABICOR BINZEL
11. Welding cable with ground terminal ABICOR BINZEL
12. User manual
SAFETY RULES
GENERAL PROVISIONS
The welding unit is manufactured in accordance with technical standards and established safety rules. However, if handled incorrectly, there is a hazard of:
- injury to service personnel or a third party;
- damage to the unit itself or to the company’s material assets;
- disruptions to an effective workflow.
All persons involved in the commissioning, operation, care and maintenance of the unit must
- be appropriately certified;
- have expertise in welding;
- strictly follow these instructions.
The malfunctions that could impair safety must be urgently rectified.
USER RESPONSIBILITIES
The User undertakes to admit to work on the welding unit only the persons who:
- reviewed the basic safety rules, received training on the use of welding equipment;
- read the Section “Safety instructions” and the instructions on necessary precautions given in this manual, and confirm this with their signature.
PERSONAL PROTECTIVE EQUIPMENT
For personal protection, observe the following rules:
- wear protective footwear that retains insulating properties, even in wet conditions;
- protect hands with insulating gloves;
- protect eyes with a protective mask with an anti-UV filter that meets safety standards;
- use only suitable (highly inflammable) clothing.
HAZARD OF HARMFUL GASES AND VAPOURS
- remove generated smoke and harmful gases from the working area with special means;
- ensure sufficient supply of fresh air;
- vapours of solvents should not get into the radiation zone of the welding arc.
- HAZARD OF SPARKLES
- remove flammable objects from the working area;
- do not perform welding works on containers where gases, fuel, oil products are or were stored. Potential explosion hazard for residues of these products;
- in fire and explosion hazardous areas, observe the special rules in accordance with national and international standards.
HAZARDS OF MAINS VOLTAGE AND WELDING CURRENT
- electric shock can be fatal;
- magnetic fields created by high-frequency current can have a negative effect on the performance of electrical devices (e.g., a pacemaker). Persons with such devices should seek the advice of a physician before approaching a welding area;
- the welding cable must be robust, undamaged and insulated. Loose connections and damaged cables must be replaced immediately. An electrician must systematically check the mains cables and cables of the welding unit for proper insulation;
- do not remove the outer casing of the unit during use.
INFORMAL PRECAUTIONS
- keep the instruction near the place of use of the welding unit at all times;
- in addition to the instructions, observe the applicable general and local safety and environmental regulations;
- keep all instructions on the welding unit legible.
STRAY WELDING CURRENTS
- make sure that the ground cable terminal is firmly connected to the welding location;
- if possible, do not install the welding unit directly on an electrically conductive floor or work table, use insulating gaskets.
REGULAR USE PRECAUTIONS
Check the unit at least once a week for external damage and the operation of the safety units.
Wiring schematic diagram
Source: PATON PRO-160/200/250 DC MMA/TIG/MIG/MAG
PATON PRO-270-400V/350-400V DC MMA/TIG/MIG/MAG
PATON PRO-500-400V/630-400V DC MMA/TIG/MIG/MAG
WARRANTY OBLIGATIONS
PATON INTERNATIONAL guarantees the correct operation of the power supply provided that the consumer observes the rules of operation, storage and transportation. CAUTION! There is no free warranty service for mechanical damage to the welding unit!
| Unit model | Warranty period |
| PRO-160 | 5 years |
| PRO-200 | |
| PRO-250 | |
| PRO-270-400V | 3 years |
| PRO-350-400V | |
| PRO-500-400V | 2 years |
| PRO-630-400V |
The main warranty period starts from the date the inverter equipment is sold to the end customer.
During the main warranty period, the seller undertakes, free of charge for the owner of PATON inverter equipment:
- to make diagnostics and identify the cause of the malfunction,
- to provide assemblies and elements necessary for the repair,
- to carry out work to replace the failed elements and assemblies,
- to test the repaired equipment.
The main warranty obligations do not apply to the equipment:
- with mechanical damage that affected the performance of the unit (deformation of the housing and parts as a result of falling from a height or falling of heavy objects on the equipment, falling out of buttons and connectors),
- with traces of corrosion, which caused a malfunction,
- failed due to exposure of abundant moisture to its power and electronic elements,
- failed due to the accumulation of conductive dust inside (coal dust, metal shavings, etc.),
- in case of an attempt to independently repair its components and/or replace electronic elements,
- it is recommended to clean the internal elements and assemblies of this equipment, with compressed air, to remove the protective cover, depending on the operating conditions, once every six months, in order to avoid the breakdown of the unit. Cleaning should be done carefully, keeping the compressor hose at a sufficient distance to avoid damage to the soldering of the electronic components and mechanical parts.
Also, the main warranty obligations do not apply to failed external elements of the equipment exposed to physical contact, and related/consumable materials; the claims to the following are accepted no later than two weeks after the sale:
- on and off button,
- knobs for adjusting welding parameters,
- connectors for connecting cables and hoses,
- control connectors,
- mains cable and mains cable plug,
- carrying handle, shoulder strap, case, box,
- electrode holder, ground terminal, torch, welding cables and hoses.
The seller reserves the right to refuse to provide warranty repairs, or to set the month and year of manufacture of the unit as the start date for the fulfilment of warranty obligations (established by the serial number):
- if the owner loses the data sheet,
- in the absence of correct or even any kind of entries in the data sheet by the seller when selling the unit,
- the warranty period is extended for the period of warranty service of the unit in the service centre.

















