RYOBI PCL235 18V Impact Driver

GENERAL POWER TOOL SAFETY WARNINGS
WARNING
Read all safety warnings, instructions, illustrations and specifications provided with this power tool. Failure to follow all instructions listed below may result in electric shock, fire and/or serious injury.
Save all warnings and instructions for future reference. The term “power tool” in the warnings refers to your mains-operated (corded) power tool or battery-operated (cordless) power tool.
WORK AREA SAFETY
- Keep work area clean and well lit. Cluttered or dark areas invite accidents.
- Do not operate power tools in explosive atmospheres, such as in the presence of flammable liquids, gases or dust. Power tools create sparks which may ignite the dust or fumes.
- Keep children and bystanders away while operating a power tool. Distractions can cause you to lose control.
ELECTRICAL SAFETY
- Power tool plugs must match the outlet. Never modify the plug in any way. Do not use any adapter plugs with earthed (grounded) power tools. Unmodified plugs and matching outlets will reduce risk of electric shock.
- Avoid body contact with earthed or grounded surfaces, such as pipes, radiators, ranges and refrigerators. There is an increased risk of electric shock if your body is earthed or grounded.
- Do not expose power tools to rain or wet conditions. Water entering a power tool will increase the risk of electric shock.
- Do not abuse the cord. Never use the cord for carrying, pulling or unplugging the power tool. Keep cord away from heat, oil, sharp edges or moving parts. Damaged or entangled cords increase the risk of electric shock.
- When operating a power tool outdoors, use an extension cord suitable for outdoor use. Use of a cord suitable for outdoor use reduces the risk of electric shock.
- If operating a power tool in a damp location is unavoidable, use a ground fault circuit interrupter (GFCI) protected supply. Use of a GFCI reduces the risk of electric shock.
- Use this product only with batteries and chargers listed in tool/appliance/battery pack/charger correlation supplement 987000-432.
PERSONAL SAFETY
- Stay alert, watch what you are doing and use common sense when operating a power tool. Do not use a power tool while you are tired or under the influence of drugs, alcohol or medication. A moment of inattention while operating power tools may result in serious personal injury.
- Use personal protective equipment. Always wear eye protection. Protective equipment such as dust mask, non-skid safety shoes, hard hat, or hearing protection used for appropriate conditions will reduce personal injuries.
- Prevent unintentional starting. Ensure the switch is in the off-position before connecting to power source and/or battery pack, picking up or carrying the tool. Carrying power tools with your finger on the switch or energizing power tools that have the switch on invites accidents.
- Remove any adjusting key or wrench before turning the power tool on. A wrench or a key left attached to a rotating part of the power tool may result in personal injury.
- Do not overreach. Keep proper footing and balance at all times. This enables better control of the power tool in unexpected situations.
- Dress properly. Do not wear loose clothing or jewelry. Keep your hair, clothing and gloves away from moving parts. Loose clothes, jewelry or long hair can be caught in moving parts.
- If devices are provided for the connection of dust extraction and collection facilities, ensure these are connected and properly used. Use of dust collection can reduce dust-related hazards.
- Do not let familiarity gained from frequent use of tools allow you to become complacent and ignore tool safety principles. A careless action can cause severe injury within a fraction of a second.
- Do not wear loose clothing or jewelry. Contain long hair. Loose clothes, jewelry, or long hair can be drawn into air vents.
- Do not use on a ladder or unstable support. Stable footing on a solid surface enables better control of the power tool in unexpected situations.
POWER TOOL USE AND CARE
- Do not force the power tool. Use the correct power tool for your application. The correct power tool will do the job better and safer at the rate for which it was designed.
- Do not use the power tool if the switch does not turn it on and off. Any power tool that cannot be controlled with the switch is dangerous and must be repaired.
- Disconnect the plug from the power source and/or remove the battery pack, if detachable, from the power tool before making any adjustments, changing accessories, or storing power tools. Such preventive safety measures reduce the risk of starting the power tool accidentally.
- Store idle power tools out of the reach of children and do not allow persons unfamiliar with the power tool or these instructions to operate the power tool. Power tools are dangerous in the hands of untrained users.
- Maintain power tools and accessories. Check for misalignment or binding of moving parts, breakage of parts and any other condition that may affect the power tool’s operation. If damaged, have the power tool repaired before use. Many accidents are caused by poorly maintained power tools.
- Keep cutting tools sharp and clean. Properly maintained cutting tools with sharp cutting edges are less likely to bind and are easier to control.
- Use the power tool, accessories and tool bits etc. in accordance with these instructions, taking into account the working conditions and the work to be performed. Use of the power tool for operations different from those intended could result in a hazardous situation.
- Keep handles and grasping surfaces dry, clean and free from oil and grease. Slippery handles and grasping surfaces do not allow for safe handling and control of the tool in unexpected situations.
BATTERY TOOL USE AND CARE
- Recharge only with the charger specified by the manufacturer. A charger that is suitable for one type of battery pack may create a risk of fire when used with another battery pack.
- Use power tools only with specifically designated battery packs. Use of any other battery packs may create a risk of injury and fire.
- When battery pack is not in use, keep it away from other metal objects, like paper clips, coins, keys, nails, screws or other small metal objects, that can make a connection from one terminal to another. Shorting the battery terminals together may cause burns or a fire.
- Under abusive conditions, liquid may be ejected from the battery; avoid contact. If contact accidentally occurs, flush with water. If liquid contacts eyes, additionally seek medical help. Liquid ejected from the battery may cause irritation or burns.
- Do not use a battery pack or tool that is damaged or modified. Damaged or modified batteries may exhibit unpredictable behavior resulting in fire, explosion, or risk of injury.
- Do not expose a battery pack or tool to fire or excessive temperature. Exposure to fire or temperature above 265°F may cause explosion.
- Follow all charging instructions and do not charge the battery pack or tool outside the temperature range specified in the instructions. Charging improperly or at temperatures outside the specified range may damage the battery and increase the risk of fire.
SERVICE
- Have your power tool serviced by a qualified repair person using only identical replacement parts. This will ensure that the safety of the power tool is maintained.
- Never service damaged battery packs. Service of battery packs should only be performed by the manufacturer or authorized service provider.
IMPACT DRIVER SAFETY WARNINGS
SAFETY INSTRUCTIONS FOR ALL OPERATIONS
- Hold the power tool by insulated gripping surfaces, when performing an operation where the cutting accessory or fasteners may contact hidden wiring. Cutting accessory or fasteners contacting a “live” wire may make exposed metal parts of the power tool “live” and could give the operator an electric shock.
- Wear ear protectors with impact drivers. Exposure to noise can cause hearing loss.
- Do not use the impact driver as a drill. The impact driver is not designed to be used as a drill.
ADDITIONAL SAFETY INSTRUCTIONS
- Know your power tool. Read operator’s manual carefully. Learn its applications and limitations, as well as the specific potential hazards related to this power tool. Following this rule will reduce the risk of electric shock, fire, or serious injury.
Always wear eye protection with side shields marked to comply with ANSI Z87.1 when assembling parts, operating the tool, or performing maintenance. Following this rule will reduce the risk of serious personal injury. - Protect your lungs. Wear a face or dust mask if the operation is dusty. Following this rule will reduce the risk of serious personal injury.
- Protect your hearing. Wear hearing protection during extended periods of operation. Following this rule will reduce the risk of serious personal injury. If at any time you become uncomfortable or the length of your task is long, hearing protection is recommended.
- Battery tools do not have to be plugged into an electrical outlet; therefore, they are always in operating condition. Be aware of possible hazards when not using your battery tool or when changing accessories. Following this rule will reduce the risk of electric shock, fire, or serious personal injury.
- Do not place battery tools or their batteries near fire or heat. This will reduce the risk of explosion and possibly injury.
- Do not crush, drop or damage battery pack. Do not use a battery pack or charger that has been dropped or received a sharp blow. A damaged battery is subject to explosion. Properly dispose of a dropped or damaged battery immediately.
- Batteries can explode in the presence of a source of ignition, such as a pilot light. To reduce the risk of serious personal injury, never use any cordless product in the presence of open flame. An exploded battery can propel debris and chemicals. If exposed, flush with water immediately.
- Do not charge battery tool in a damp or wet location. Do not use, store, or charge battery packs or products in locations where the temperature is less than 50°F or more than 100°F. Do not store outside or in vehicles.
- Under extreme usage or temperature conditions, battery leakage may occur. If liquid comes in contact with your skin, wash immediately with soap and water. If liquid gets into your eyes, flush them with clean water for at least 10 minutes, then seek immediate medical attention. Following this rule will reduce the risk of serious personal injury.
- Save these instructions. Refer to them frequently and use them to instruct others who may use this tool. If you loan someone this tool, loan them these instructions also.
FEATURES
PRODUCT SPECIFICATIONS
- Speed …………………………………………….0-2700/min (RPM)
- Collet ……………………………………………………………… 1/4 in.
- Impacts per minute ………………………….. 0-3400/min (IPM)
- Torque ………………………………………………….. 0-1800 in.lbs.
ASSEMBLY
WARNING:
Do not use this product if it is not completely assembled or if any parts appear to be missing or damaged. Use of a product that is not properly and completely assembled or with damaged or missing parts could result in serious personal injury.
WARNING:
Do not attempt to modify this product or create accessories or attachments not recommended for use with this product. Any such alteration or modification is misuse and could result in a hazardous condition leading to possible serious personal injury.
If any parts are damaged or missing, please call 1-800-525-2579 for assistance.
OPERATION
WARNING:
Do not allow familiarity with this product to make you careless. Remember that a careless fraction of a second is sufficient to inflict serious injury.
WARNING:
Always remove battery pack from the tool when you are assembling parts, making adjustments, cleaning, or when not in use. Removing battery pack will prevent accidental starting that could cause serious personal injury.
WARNING:
Always wear eye protection with side shields marked to comply with ANSI Z87.1. Failure to do so could result in objects being thrown into your eyes and other possible serious injuries.
WARNING:
Do not use any attachments or accessories not recommended by the manufacturer of this product. The use of attachments or accessories not recommended can result in serious personal injury.
APPLICATIONS
You may use this tool for the purposes listed below:
- Driving, tightening, and removing screws, nuts, and bolts
INSTALLING/REMOVING BELT CLIP (NOT INCLUDED)
See Figure 1, page 9.
The belt clip may be installed on either side of the housing.
- Align the hole in the belt clip with the hole in the housing.
- Install the screw to secure the belt clip in place.
- To uninstall, remove the screw, then remove the belt clip.
DIRECTION OF ROTATION SELECTOR
(FORWARD / REVERSE / CENTER LOCK)
See Figure 2, page 9.
Set the direction of rotation selector in the OFF (center lock) position to lock the switch trigger and help prevent accidental starting when not in use.
Position the direction of rotation selector to the left of the switch trigger for forward operation. Position the selector to the right of the switch trigger to reverse the direction.
NOTE: The tool will not run unless the direction of rotation selector is pushed fully to the left or right.
NOTICE:
To prevent gear damage, always allow the collet to come to a complete stop before changing the direction of rotation.
WARNING:
Battery tools are always in operating condition. Lock the switch when not in use or carrying at your side, when installing or removing the battery pack, and when installing or removing bits.
VARIABLE SPEED SWITCH TRIGGER
See Figure 2, page 9.
The variable speed switch trigger delivers higher speed with increased trigger pressure and lower speed with decreased trigger pressure.
To turn the driver ON, depress the switch trigger. To turn it OFF, release the switch trigger and allow the collet to come to a complete stop.
NOTE: A whistling or ringing noise coming from the switch during use is a normal part of the switch function.
NOTE: Running at low speeds under constant usage may cause the driver to become overheated. If this occurs, cool the driver by running it without a load and at full speed.
INSTALLING / REMOVING BATTERY PACK
See Figure 3, page 9.
- Lock the switch trigger.
- Insert the battery pack into the product as shown.
- Make sure the latches on each side of the battery pack snap in place and battery pack is secured before beginning operation.
- Depress the latches to remove the battery pack.
For complete charging instructions, see the operator’s manuals for your battery pack and charger.
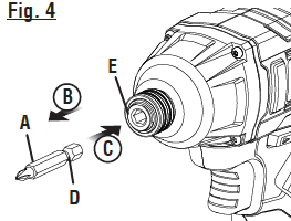
INSTALLING / REMOVING BITS
See Figure 4, page 9.
- To install bits, remove the battery pack from the tool.
- Push the bit into the collet until it clicks into place. NOTE: If the bit does not insert easily into the collet, pull the collet forward and reinsert the bit.
- Pull on the bit to make sure it is secured in the collet. There may be some play in the installed bit; this is normal. NOTE: Use only impact quality bits with a locking groove.
WARNING:
Make sure the bit is secured in the collet before using the impact driver. Failure to do so could cause serious personal injury.
- To remove bits, remove the battery pack from the tool.
- With the nose of the tool pointed away from you, pull the collet away from the driver.
- The bit will eject from the collet.
LED LIGHT
See Figure 5, page 9.
The LED light located on the front of the tool base illuminates when the switch trigger is depressed.
The LED light illuminates only when there is a charged battery pack in the tool.
USING THE IMPACT DRIVER
See Figures 6 – 7, page 9.
NOTICE:
The impact driver is not designed to be used as a drill.
WARNING:
Do not drive a screw where there is likely to be hidden wiring behind the surface. Contact with a “live” wire will make exposed metal parts of the tool “live” and possibly shock the operator. If you must drive a screw where hid-den wire may be present, always hold tool by insulated gripping surfaces (handle) when performing the operation to prevent a shock to the operator.
- Check the direction of rotation selector for the correct setting (forward or reverse).
- Hold the impact driver with one hand.
- Place the bit on the screw head, bolt head, or nut and slowly depress the switch trigger. Start the bit slowly for more control.
- As the screw, bolt, or nut is driven, impacting will begin.
ELECTRIC BRAKE
The electric brake will stop the bit rotation after the operator releases the switch trigger.
MAINTENANCE
WARNING:
When servicing, use only identical replacement parts. Use of any other part could create a hazard or cause product damage.
GENERAL MAINTENANCE
Avoid using solvents when cleaning plastic parts. Most plastics are susceptible to damage from various types of commercial solvents and can be damaged by their use. Use clean cloths to remove dirt, dust, oil, grease, etc.
- A – Collet
- B – LED light
- C – Variable speed switch trigger
- D – Direction of rotation selector

- A – Belt hook (not included)
- B – Screw

- A – Direction of rotation selector
- B – Variable speed switch trigger
- C – Reverse
- D – Forward

- A – Latch
- B – Depress latches to release battery pack

- A – Bit
- B – To eject bit
- C – To insert bit
- D – Locking groove

- E – Collet
- A – LED light

RIGHT / CORRECT / FORMA CORRECTA

WRONG / INCORRECT / FORMA INCORRECTA























