REFRIGERATION

Installation Guide and User Manual
ATTAINABLE LUXURY®

REGISTERING YOUR PRODUCT
Please register your ZLINE appliance to activate your warranty.
Begin the simple registration process by scanning the QR code.
By registering your appliance, you will have access to:
- Technical Support
- Warranty Service
- Tracking your support inquiries
WARNING: This product can expose you to chemicals including nickel, which is known to the State of California to cause cancer. For more information, go to www.P65Warnings.ca.gov.
ZLINE Kitchen and Bath provides Attainable Luxury, where the kitchen and bath of your dreams is never out of reach. Through our unique designs and unparalleled quality, we’re dedicated to providing you an elevated experience in the heart of your home. With an endless selection of features and finishes, our inspiration is your reality.
ZLINE is fueled by a passion for innovation; A relentless pursuit of bringing the highest end luxury designs and professional features into everyone’s homes. Because we continually strive to improve our products, we may change specifications and designs without prior notice.
WARRANTY
COVERAGE
ZLINE Kitchen and Bath refrigerators have a one year parts and service warranty and a five year parts warranty for a sealed system. This is from the original purchase date for the original purchaser of the product.
TERMS
This warranty applies only to the original purchaser of the product installed for normal residential use. This is defined as a single-family, residential dwelling in a non-commercial setting. Commercial settings include but are not limited to: schools, churches, hotels, restaurants, vacation rentals such as Airbnb, day care centers, private clubs, fire stations, common areas in multi-family dwellings, nursing homes, food service locations, and institutional food service locations such as hospitals or correction facilities. This warranty is non-transferable and will not be extended based on the date of installation. The warranty applies only to products installed in the continental United States and the District of Columbia. Warranty shall not apply and ZLINE Kitchen and Bath is not responsible for damage resulting from negligence, improper maintenance, misuse, abuse, alteration of or tampering with the appliance, accident, natural disaster, improper electric supply, unauthorized service or repair, improper installation, or installation not in accordance with the instructions contained in the manual or the local codes.
WHAT IS NOT COVERED
- Start-up damages or problems caused by improper installation or use.
- Damage related to unauthorized service or unauthorized parts.
- Installation in any commercial or non-residential application.
- Aesthetic damage, scratches, or natural wear caused by normal use.
- Second-hand, open box products, or products purchased from an unauthorized retailer.
SAFETY INSTRUCTIONS
This manual contains lots of important safety information which should be observed by the users.
WARNING:
Indicates a potentially hazardous situation which, if not avoided, could result in death or serious injury.
CAUTION:
Indicates a potentially hazardous situation which, if not avoided, may result in injury. It may also be used to alert against unsafe practices.
NOTICE:
Indicates a potentially hazardous situation which, if not avoided, may result in damage to the dishwasher, the tableware, the equipment, or the environment.
GENERAL SAFETY
- WARNING: Risk of fire/flammable materials.
- This appliance is intended to be used in a household.
- Children should be supervised to ensure that they do not play with the appliance.
- If the supply cord is damaged, it must be replaced by a professional in order to avoid a hazard.
- Do not store explosive substances, such as aerosol cans with a flammable propellant, in this appliance.
- The appliance has to be unplugged after use and before carrying out user maintenance.
- WARNING: Keep ventilation openings in the appliance enclosure or in the built-in structure clear of obstruction.
- WARNING: Do not use mechanical devices or other means to accelerate the defrosting process, other than those recommended by the manufacturer.
- WARNING: Do not damage the refrigerant circuit.
- WARNING: Do not use electrical appliances inside the food storage compartments of the appliance, unless they are of the type recommended by the manufacturer.
- WARNING: Dispose of the refrigerator according to local regulations, due to the use of flammable blowing gas and refrigerant.
- WARNING: When positioning the appliance, ensure the supply cord is not kinked or damaged.
- WARNING: Do not use multiple portable socket-outlets or portable power supplies at the rear of the appliance.
- Do not use extension cords or ungrounded (two prong) adapters.
- DANGER: Risk for child safety. Before you dispose of your old refrigerator or freezer:
• Take off the doors
• Leave the shelves in a place that children may not easily climb inside. - The refrigerator must be disconnected from the source of electrical supply before attempting the installation of accessory.
- Refrigerant and cyclopentane foaming material used for the appliance are flammable. Therefore, when the appliance is disposed of, it should be kept away from any fire source and be picked up by a special disposal company with corresponding qualifications, as to prevent damage to the environment or any other harm.
- Children should be supervised to ensure that they do not play with the appliance.
- For doors or lids fitted with locks and keys, the keys should be kept out of the reach of children and not in the vicinity of the refrigerating appliance in order to prevent children from being locked inside.
- WARNING: To avoid a hazard due to instability of the appliance, adjust the height according to the instructions.
- WARNING: Connect to potable water supply only.
- Do not arbitrarily disassemble or reconstruct the refrigerator, nor damage the refrigerant circuit. Maintenance of the appliance must be conducted by a professional.
- Damaged power cord must be replaced by a professional.
- To avoid contamination of food, please read the following instructions:
• Opening the door for long periods of time can cause a significant increase in the temperature of the compartments of the appliance.
• Regularly clean surfaces that can come in contact with food and accessible drainage systems.
• Clean water tanks if they have not been used for 48 hours; flush the water system connected to a water supply if water has not been drawn for 5 days.
• Store raw meat and fish in suitable containers in the refrigerator so that it is not in contact with nor can drip onto other food.
• Two-star
frozen food compartments are suitable for storing pre-frozen food, storing or making ice cream, and making ice cubes.
• One-star
, two-star
, and three-star
compartments are not suitable for the freezing of fresh food.
• If the refrigerating appliance is left empty for long periods, switch off, defrost, clean, dry, and leave the door open to prevent mold developing within the appliance. - The gaps between the doors and between the doors and the refrigerator body are small. Do not to put your hand in these areas. Be gentle when closing the refrigerator door to avoid falling articles.
- Do not pick up food or containers with wet hands in the freezing chamber when the refrigerator is running, especially metal containers, in order to avoid frostbite.
- Do not allow any child to get into or climb the refrigerator to prevent suffocation or a falling injury.
- Do not place heavy objects on the top of the refrigerator, considering that objects may fall when closing or opening the door and accidental injuries might occur.
- Unplug the appliance in the case of power failure or cleaning. Do not connect the refrigerator to power supply for five minutes to prevent damages to the compressor due to successive starts.
- Before installation or adjusting the accessories, disconnect the refrigerator from power.
PLACEMENT OF ITEMS
- Do not put flammable, explosive, volatile and highly corrosive items in the refrigerator to prevent damage to the product or fire accidents.
- Do not place flammable items near the refrigerator to avoid fires.
- The refrigerator is intended for household use, such as the storage of food; it shall not be used for other purposes, such as storage of blood, drugs, or biological products, etc.
- Do not store beer, beverage, or other fluid contained in bottles or enclosed containers in the freezing chamber of the refrigerator. Otherwise, the bottles or enclosed containers may crack due to freezing to cause damages.
ENERGY WARNINGS
- Refrigerating appliances might not operate consistently (for example: defrosting of food or temperature becoming too warm in the frozen food compartment) when set below the cold end of the range of temperatures for which the refrigerating appliance is designed for an extended period of time.
- Effervescent drinks should not be stored in food freezer compartments or cabinets or in low-temperature compartments or cabinets. Some products such as water ices should not be consumed too cold.
- Do not exceed the storage time(s) recommended by the food manufacturers for any kind of food and particularly for commercially quick-frozen food in food freezer and frozen foodstuff storage compartments or cabinets.
- Wrap the frozen food in several layers of newspaper to prevent an undue rise in the temperature while defrosting the refrigerator.
- A rise in temperature of the frozen food during manual defrosting, maintenance, or cleaning could shorten the storage life.
WARNINGS FOR DISPOSAL
- Refrigerant and cyclopentane foaming material used for the appliance are flammable. Therefore, when the appliance is disposed of, it should be kept away from any fire source and be picked up by a special disposal company with corresponding qualifications, as to prevent damage to the environment or any other harm.
- When the refrigerator is disposed of, disassemble the doors and remove gasket of door and shelves. Put the doors and shelves in a proper place so as to prevent damage to the environment or any other harm.
Correct disposal of this product: This icon indicates that this product should not be disposed with other household wastes. To prevent possible harm to the environment or human health from uncontrolled waste disposal, recycle it responsibly to promote the sustainable reuse of material resources. To return your used device, please use the return and collection systems or contact the retailer where the product was purchased. They can take this product for environmentally safe recycling.
BEFORE INSTALLATION

ELECTRICAL CONNECTION
- Do not pull the power cord when pulling the power plug of the refrigerator. Firmly grasp the plug and pull out it from the socket directly.
- To ensure safe use, do not damage the power cord or use the power cord when it is damaged or worn.
- Use a dedicated power socket. The power socket shall not be shared with other electrical appliances. The power plug should be firmly connected in the socket or else fires might be caused.
- Ensure that the grounding electrode of the power socket is equipped with a reliable grounding line.
- In the event of a gas leakage or leakage of other flammable gases, turn off the valve of the leaking gas and then open the doors and windows. Do not unplug the refrigerator and/or other electrical appliances considering that spark may cause a fire.
- Do not use electrical appliances on the top of the appliance unless they are of the type recommended by the manufacturer.
ENERGY SAVING TIPS
- The appliance should be located in the coolest area of the room, away from heat producing appliances or heating ducts and out of the direct sunlight.
- Let hot food cool to room temperature before placing them in the appliance.
Overloading the appliance forces the compressor to run longer. Food that freeze too slowly may lose quality or spoil. - Be sure to wrap food properly and wipe containers dry before placing them in the appliance. This cuts down on frost build-up inside the appliance.
- Appliance storage bin should not be lined with aluminum foil, wax paper, or paper toweling. Liners interfere with cold air circulation, making the appliance less efficient.
- Organize and label food to reduce door openings and extended searches.
Remove as many items as needed at one time and close the door as soon as possible.
STARTING UP THE APPLIANCE
- Before powering on initially, keep the refrigerator still for two hours before connecting it to power supply.
- Before putting in any fresh or frozen food, the refrigerator should be run for 2-3 hours or for over 4 hours in summer when the ambient temperature is high.
- Leave enough space to open the doors.
PLACEMENT
- Before use, remove all packing materials, including bottom cushions, foam pads, and tape inside of the refrigerator. Tear off the protective film on the doors and the refrigerator body.
- Keep away from heat and avoid direct sunlight. Do not place the freezer in moist or watery places to prevent rust or reduction of insulating effect.
- Do not spray or wash the refrigerator. Do not put the refrigerator in moist places where it can be easily splashed with water, so as not to affect the electrical insulation properties of the refrigerator.
- The refrigerator should be placed in a well-ventilated indoor place and the ground shall be flat and sturdy (rotate left or right to adjust the adjustable leg for leveling, if unstable).
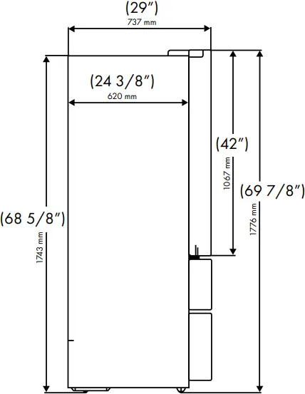
- The top space of the refrigerator shall be greater than 1 ½” – 2″ and the refrigerator should be placed against a wall with a free distance of more than 2″ on the back and ½” – 1″ on the sides. This facilitates heat dissipation.
*Working space before sliding into cabinet cut out



INSTALLATION
LEVELING FEET
- Turn the feet clockwise to raise the appliance.
- Turn the feet counterclockwise to lower the appliance.
- Adjust the right and left feet based on the procedures above to a horizontal level

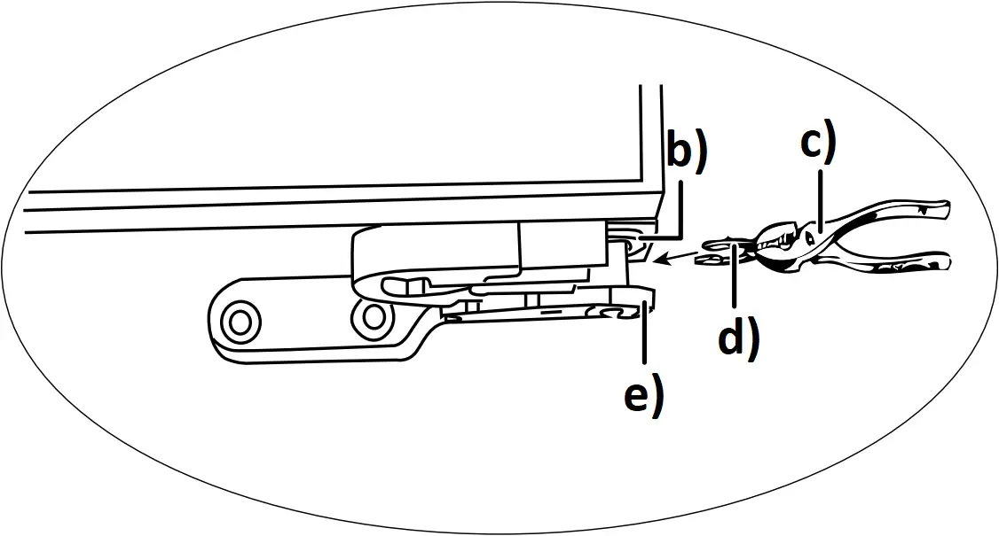
LEVELING DOOR
Precautions before operation:
- Disconnect the refrigerator from power before user maintenance.
- Before adjusting the door, take precautions to prevent any personal injury.
- NOTE: Pliers are needed.

a) Not level
b) Hinge grommet
c) Pliers
d) Fastener-ring
e) Lower hinge
- Raise the lower door up to the level of the higher door.
- Insert the supplied fastener-ring by using pliers in the gap between the hinge-grommet and the lower hinge.
- The number of fasten-rings you will need to insert depends on the gap.
INSTALLING DOOR HANDLES
Precautions should be taken to prevent the handle from falling and causing personal injury.

a) Refrigerator door handle
b) Handle screw
c) Hole for door anchor
1. Screw in anchors to the door with Philips head screwdriver.

2. Line up and fit the handle into the top and bottom door anchors.

a) Location of anchor screws
3. Using an Allen wrench, secure in the top and bottom handle screws to the door anchors.

REMOVAL OF DOOR HANDLES
Remove screw and pull hand outward.
INSTALLING THE WATER LINE
Water line installation kits are available at a local hardware store.
- Attach new stainless steel braided line to the main water valve, making sure that the water is turned off.
- Connect the other end of the braided line to the ¼ to ¼ brass compression connection that is in the water line kit. Take off the other end by unscrewing the brass connector.
- Slide the female screw connection piece that was taken off of the brass connector and with the brass ring around the base of the plastic water line. That attaches to the refrigerator.
- Then, take the plastic line and with the female connection piece and securely tighten it to the brass connector piece.
- Finally, turn on water and slowly making sure there are not water leaks.
CONNECTING TO THE WATER SUPPLY LINE
- Shut off the main water supply line and turn the ice-maker off.
- Locate the nearest cold water supply valve.
- After connecting the water supply to the water valve, turn your main water supply back on and flush several gallons of water to clear the water supply line.

a) Cold water line
b) Pipe clamp
c) Water line installation kit
d) Shut off valve
CONNECTING THE WATER LINE TO THE REFRIGERATOR
There are several items that you need to purchase to complete this connection. You will find these items sold as a kit at your local hardware store.
- Water tubes (supplied) insert into corresponding hole of water connector (supplied).
- Water line installation kit (not included) inserts into another hole of water connector (supplied).
- Turn water valve on and check for any leakage

CONNECTING THE WATER LINE TO A DRINKABLE WATER SOURCE
- If your water line is NOT potable, please add an external water filter.
- If you must repair or disassemble the water line, cut off the plastic tubing to make sure you get a snug, leak-free connection.

a) Water connector
b) Water tube
OPERATION

a) Lower freezer drawer
b) Upper freezer drawer
c) Big drawer
d) Crisper drawer
e) Door tray
f) Dairy Bin
g) LED Lighting
h) Control and display panel
i) Shelf
j) Freezing chamber

a) Ice storage bin
b) Refrigerator body
c) Upper freezer drawer
d) Lower freezer drawer
REFRIGERATING CHAMBER
- The refrigerating chamber is suitable for storage of a variety of fruits, vegetables, beverages, and other food consumed in the short term.
- Cooking ingredients should not be put in the refrigerating chamber until cooled to room temperature.
- Seal food before putting into them into the refrigerator.
- The glass shelves are adjustable.
FREEZING CHAMBER
- The low temperature freezing chamber may keep food fresh for a long time and it is mainly used to store frozen food and make ice.
- The freezing chamber is suitable for storage of meat, fish, and other food not to be consumed in short term.
- It is preferable to divide chunks of meat into small pieces for easy access. Please note that food should be consumed within the shelf time.
NOTE: Storage of too much food during operation after the initial connection to power may adversely affect the freezing effect of the refrigerator. Food stored shall not block the air outlet or the freezing effect will also be adversely affected.

- Ice-making button
- Super cool button
- Temperature adjusting button of refrigerator room
- Temperature adjusting button of freezer room
- Super freeze button
- Lock/unlock button
DISPLAY
- When the refrigerator is plugged in, the display screen will turn on and the start-up bell rings. Then, the display screen enters the normal display of operation. (If powering on for first time, the default set temperature of the refrigerator room and the freezer room is 41°F /0°F).
- It will display the set temperature of both refrigerator and freezer rooms when there is no fault.
- Under normal circumstances, the display light will go out after 30 seconds in a locked state, with button operation on display panel waking up the display screen. If opening the door wakes up the display screen, the display light will go out immediately when the door is closed. When the “fault code visible” fault occurs, the display screen lights up and will go out after 30 seconds.
LOCK/UNLOCK
- In the unlocked state, press and hold the LOCK/UNLOCK button for 3 seconds to enter the locked state. The buzzer sound will ring.
- In the locked state, press and hold the lock button for 3 seconds to enter the unlocked state. The buzzer sound will ring.
- The refrigerator will enter the lock state if the door is not opened or if there is no button operation within 30 seconds.
- The buzzer sound can be stopped by pressing any one button in locked state, but any other button operations need to be performed in unlocked state. If you operate in the locked state, an error beep will be given.
REFRIGERATOR TEMPERATURE SETTING
Press the temperature adjusting button of refrigerator room to change the set temperature of refrigerator room. Each time the button is pressed, the set temperature will drop 1°F. When the set temperature reaches the 34°F, press the button again, the set temperature will switch to 44°F. The temperature setting will take effect after the display panel is locked.
FREEZER TEMPERATURE SETTING
Press the temperature adjusting button of freezer room to change the set temperature of freezer room. With each button press, the set temperature will drop1°F. When the set temperature reaches the -7°F, press the button again and the set temperature will switch to 7°F. The temperature setting will take effect after the display panel is locked.
MODE SETTINGS
- Press the SUPERCOOL button to start the super cool function. The refrigerator room is set at 34°F automatically and the SUPERCOOL icon will be illuminated. When exiting the SUPERCOOL mode, the set temperature of refrigerator room will go back to the set temperature before SUPERCOOL mode.
- Press the SUPERFRZ button to start the super freeze function. The freezer room is set at -7°F automatically, and the SUPERFRZ icon will be illuminated. When exiting the super freeze mode, the set temperature of freezer room will go back to the set temperature before SUPERFRZ mode.
- Press the ICEMAKER button and the ice-making function will be switched between on/off. When the
icon is on, it indicates that the ice-making function is activated.
ERROR CODES
When the following codes appear on the display screen, it indicates a problem with the refrigerator. Although the refrigerator in the following fault cases can still provide cool/freeze functions, please call ZLINE at 1-614-777-5004 to ensure the normal use of refrigerator.
| Error code | Error description |
| E1 | Temperature sensor failure of refrigerator room |
| E2 | Temperature sensor failure of freezer room |
| E5 | Defrost sensor error of freezer room |
| E6 | Communication error |
| E7 | Ambient temperature sensor error |
| EH | Humidity sensor error |
| Eo | Ice maker error |
DISASSEMBLY OF REFRIGERATOR DOOR
LEFT DOOR
- Use a screwdriver to remove the two screws and then remove the upper hinge cover of the left door.
- Use the screwdriver to loosen the three screws and one ground screw from the upper hinge. Remove the plug terminal and remove the left door body.
RIGHT DOOR
- For the right door, there is no ground screw. Follow the steps above from the left door.
DRAWER
- Press the lock buttons of both the left and right glide rails and slowly pull the drawer out.
FREEZER DOOR
- Remove top shelf.
- Lift lower tray up and forward out of frozen compartment.
- Remove one screw at left and right rail.
- Slide door up and out.
MAINTENANCE AND CLEANING
CHANGING THE LIGHT
Any replacement or maintenance of the LED lamps is intended to be made by a professional.
GENERAL CLEANING
- Unplug the refrigerator for defrosting and cleaning.
- Dirt and dust behind the refrigerator and on the surrounding floor should be cleaned frequently to improve the cooling effect and save energy.
- The interior of the refrigerator should be cleaned regularly to avoid odor. Soft towels or sponge dipped in water and non-corrosive neutral detergents are suggested for cleaning. The freezer can be cleaned with clean water and dry cloth. Open the door to air dry the unit before the power is turned on.
- Do not use hard brushes, steel cleaning balls, wire brushes, abrasives, such as toothpastes, organic solvents (such as alcohol, acetone, banana oil, etc.), boiling water, acid, or alkaline items to clean the refrigerator, as this may damage the fridge surface and interior.
- Do not rinse with water so as not to affect the electrical insulation properties.
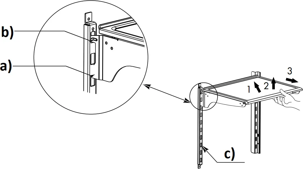
DOOR TRAY

According to the direction of the arrow in the figure below, use both hands to squeeze the tray, and push it upward, and then take it out.
CLEANING SHELVES

a) Lower end of fixed leg
b) Upper end of fixed leg
c) Slot
Dismantle the cantilever shelf according to the arrows shown above.
- Hold the front edge of shelf and tilt shelf upwards until the lower end of the fixed leg is separated from the slot of the supporting iron.
- Lift the whole shelf until it can not rise anymore.
- Take out the shelf horizontally.
During installation, put the upper end of the fixed leg into one of the upper slots on the supporting hook first and then put the lower end of the fixed leg into the third slot on the lower part of the supporting hook.
CLEANING FREEZER LOWER DRAWER

a) Button
- Pull out the lower freezer drawer to the farthest position.
- As shown above, press the buttons in both slots at the same time and pull out the freezer drawer until it stops.
- Take out the lower drawer, as directed by the arrows.
- After cleaning, put back the drawer to original position, then close the lower drawer. The button will lock the drawer automatically.
- Do not remove the lower freezer drawer if not necessary.
DEFROSTING
The refrigerator is made based on air-cooling principles and has an automatic defrosting function. Frost formed due to change of season or temperature may also be manually removed by disconnection of the appliance from power supply or by wiping with a dry towel.
OUT OF OPERATION
- Power failure: In case of power failure, even if it is in summer, food inside the appliance can be kept for several hours. During the power failure, decrease the amount of times the refrigerator doors are opened. Do not add more fresh food shall be put into the appliance.
- Long-time non-use: Unplug and clean the appliance Leave the doors open to prevent odor.
- Moving: Before the refrigerator is moved, take all objects inside the compartment out, fix the glass partitions, vegetable holder, freezing chamber drawers, etc. with tape and tighten the leveling feet. Close the doors and fix them with tape. During moving, the appliance should not be laid upside down or horizontally or be vibrated. The inclination during movement shall be no more than 45°.
- The appliance should run continuously once it is started. Generally, the operation of the appliance shall not be interrupted. Otherwise, the lifespan may be impaired.
TROUBLESHOOTING
ZLINE Customer Service is available at 1-614-777-5004.
POSSIBLE FAULT | POSSIBLE FAULT/SOLUTION |
| Failed operation | Check whether the appliance is connected to power and/or whether the plug is securely plugged in. |
| Check whether the voltage is too low. | |
| Check whether there is a power failure or partial circuits have tripped. | |
| Odor | Odorous food should be tightly wrapped. |
| Check whether there is any rotten food. | |
| Clean the inside of the refrigerator. | |
| Long-time operation of the compressor | Long operation of the refrigerator is normal in summer when the ambient temperature is high. |
| Do not put too much food in the appliance at the same time. | |
| Food should be cooled before being put into the appliance. | |
| The doors are opened too frequently. | |
| The condenser may be dirty and should be cleaned with care. | |
| Light doesn’t turn on | Check whether the refrigerator is connected to power supply and/or whether the light is damaged. |
| Doors cannot be properly closed | The door is obstructed by food packages. |
| The refrigerator is tilted. | |
| Loud noises | Check whether the floor is level and whether the refrigerator is placed stably. |
| Check whether accessories are placed in proper locations. | |
| Door seal fail to be tight | Remove foreign matters on the door seal. |
| Heat the door seal and then cool it for restoration (or blow it with an electrical drier or use a hot towel for heating). | |
| Water pan overflows | There is too much food in the chamber or food stored contains too much water, resulting in heavy defrosting. |
| The doors are not closed properly, resulting in frosting due to the entry of air and increased water due to defrosting. | |
| Hot housing | This is heat dissipation of the built-in condenser via the housing, which is normal. When housing becomes hot due to high ambient temperature and storage of too much food, it is recommended to provide sound ventilation to facilitate heat dissipation. Hot housing can also be caused by the refrigerator cooling frequently. This will be normal when hosting parties or when the door is left open for long periods of time. |
| Surface condensation | Condensation on the exterior surface and door seals of the refrigerator is normal when the ambient humidity is too high. Wipe the condensate with a clean towel. |
| Abnormal noises | Buzz: The compressor may produce buzzes during operation and the buzzes are loud particularly upon start or stop. This is normal. |
| Creak: Refrigerant flowing inside of the appliance may produce a creak, which is normal. |

1.2.0
ATTAINABLE LUXURY®
1-614-777-5004
[email protected]

Correct disposal of this product: This icon indicates that this product should not be disposed with other household wastes. To prevent possible harm to the environment or human health from uncontrolled waste disposal, recycle it responsibly to promote the sustainable reuse of material resources. To return your used device, please use the return and collection systems or contact the retailer where the product was purchased. They can take this product for environmentally safe recycling.














