Metra Land Rover Datasheet

Land Rover:
LR2 2008-2012
LR3 2005-2009
Range Rover Sport 2006-2009
KIT FEATURES
- ISO DDIN radio provision
- Painted scratch resistant matte black
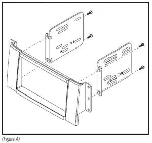
KIT COMPONENTS
- A) Radio trim panel
- B) Radio brackets
- C) (4) #8 x 3/8” Phillips screws



WIRING & ANTENNA CONNECTIONS (sold separately)
WIRING & ANTENNA CONNECTIONS (sold separately)
TOOLS REQUIRED
- Panel removal tool
- Phillips screwdriver
Caution! All accessories, switches, climate controls panels, and especially air bag indicator lights must be connected before cycling the ignition. Also, do not remove the factory radio with the key in the on position, or while the vehicle is running.
DASH DISASSEMBLY
- Unclip and remove the dash panel surrounding the radio.
- Remove (4) screws securing the radio.
- Pull up on the shifter knob to remove it.
- Unclip, unplug and remove the center console panel.
- Remove the (2) screws securing the climate control panel.
- Unclip and remove the A/C vent panel.
- Pull the radio and the climate controls out slighly. The climate control does not need to be completely removed.
- Unclip and remove the radio.

INSTALLATION INSTRUCTIONS
If you are having difficulties with the installation of this product, contact our Tech Support line either by phone at 386-257-1187, or email at [email protected]. Before doing so, look over the instruction booklet a second time and ensure that the installation was performed exactly as the instruction booklet is stated. Have the vehicle apart and ready to perform troubleshooting steps before contacting Metra/Axxess Tech Support.

















