EVOLVE EFC1 Series LED Flood Light
BEFORE YOU BEGIN
Read these instructions and save for future use.
WARNING
- RISK OF ELECTRIC SHOCK OR FIRE
- To reduce risk of electric shock or ignition of hazardous environments, disconnect the luminaire from supply circuit before opening.
- Keep door tightly closed when in operation.
- RISK OF INJURY OR DAMAGE
- Unit may fall if not installed properly. Follow installation instructions.
CAUTION
- RISK OF INJURY
- Wear safety glasses and gloves during installation and servicing.
- The luminaire should be mounted so that prolonged staring into the luminaire at a distance closer than 0.5 m is not expected.
Storage & Handling


- Store packaged units in a covered dry area.
- Check for damage.
- Do not impact.
- Do not stack.
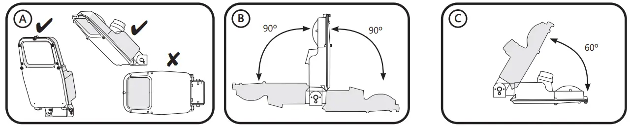
Trunnion Mount

- No vertical trunnion mounting on wall allowed.
- Aiming range for non-PE forms.
- Aiming range for PE forms.

- Mount to flat surface. Bolts not included.
- 3 bolts required for 3G applications. Bolts not included.
- Orient luminaire, secure screw to hold position, tighten trunion bolt.
WARNING
- RISK OF DAMAGE
- Do not torque trunnion bolts greater than 22 ft-lbs. Damage may occur.
Knuckle Mount (Tenon)
- Remove wiring coverplate and gasket.
- Thread wire and insert into knuckle base.
- Tighen three (3) mounting bolts.

- Adjust aim and tighen knuckle bolt.
WARNING
- RISK OF DAMAGE
- Do not torque mounting bolt greater than 22 ft-lbs and knuckle bolt greater than 50 ft-lbs. Damage may occur.
Knuckle Mount (Junction Box)

- Open junction box.
- Securely mount the luminaire to junction box.
- Adjust aim and tighen knuckle bolt.
Knuckle Mount (Wall)

- Drill mounting surface and insert 4 user-supplied anchors
- Mount with user-supplied anchor bolts.
- Adjust aim and tighten knuckle bolt.
Wiring

- Open door.
- Secure wires in terminal block.
- Connections for wired external dimming.

- L2/N Make supply wire connections.

- Insert wires and reinstall coverplate/gasket.
CAUTION
- RISK OF DAMAGE
- Follow applicable national and local electrical codes.
- Verify supply voltage and supply wires insulation temperature rating match nameplate requirements.
Door Closing

- Hang door on hinge, rotate closed.
- Close and fasten door.
Photoelectric Control

- Aim PE sensor towards the northern sky.
- Lift, rotate, release, press to seat.
- Insert, twist to lock.
Cleaning
- Use mild soap/detergent.
- Rinse with cool low pressure water.
- Wipe dry with clean soft cloth.
CAUTION
- RISK OF DAMAGE.
- Do not use soap/detergent containing aromatic hydrocarbons.
Specifications
Luminaire/Approx. Net Wt./Dimensions/IP Rating/Effective Projected Area/Ambient Temperature
- EFC1
- 11-14.5 lbs (5.0-6.6 kgs)
- 9.0 x 14.6 x 5.12 in
- (228 x 371 x 130 mm)
- IP66
- 1.2 ft2 (0.11 m2)
- -40°C (-40°F) to 50°C (140°F)
FCC STATEMENT
This device complies with Part 15 of the FCC Rules. Operation is subject to the following two conditions:
- This device may not cause harmful interference.
- this device must accept any interference received, including interference that may cause undesired operation. This Class [A] RFLD complies with the Canadian standard ICES-005.
Note: This equipment has been tested and found to comply with the limits for a Class A digital device, pursuant to part 15 of the FCC Rules. These limits are designed to provide reasonable protection against harmful interference when the equipment is operated in a commercial environment. This equipment generates, uses, and can radiate radio frequency energy and, if not installed and used in accordance with the instruction manual, may cause harmful interference to radio communications. Operation of this equipment in a residential area is likely to cause harmful interference in which case the user will be required to correct the interference at his own expense.
These instructions do not purport to cover all details or variations in equipment nor to provide for every possible contingency to be met in connection with installation, operation or maintenance. Should further information be desired or should particular problems arise which are not covered sufficiently for the purchaser’s purposes, the matter should be referred to GE Current a Daintree company.
gecurrent.com/la-es/marcas/evolve
© 2023 Current Lighting Solutions, LLC.

























