naturaled 7761 LED Flood Light

WARNING
- To reduce the risk of electrical shock, fire, or injury to persons; read and follow all warnings and installation instructions before installing. All installation should be performed by a qualified electrician.
- Risk of Electric Shock
Ensure power is off before installation or inspection. All wirings are performed in accordance with Electrical Code and local electrical code. - Risk of Fire
Fixtures are rated for use in 120-277V, 50-60Hz protected circuit and 90°C rated supply wire.
FOR YOUR SAFETY
- While performing installations described, gloves, safety glasses or goggles should be worn.
- Any alteration or modification of this product is expressly forbidden as it may cause serious personal injury, death, property damage and/or product malfunction.
- To prevent product malfunction and/or electrical shock, this product must be properly grounded
- To prevent wiring damage or abrasion, do not expose wiring to edges of sheet metal or other sharp objects.
- Do not alter, relocate, or remove wiring, lamp holders, power supply, or any other electrical component.
- SUITABLE FOR WET LOCATIONS.

INSTALLATION
Disconnect the power before installation. Exploded view of completed assembly with component call out. 1, 2, 3, etc. Desconecte la alimentación antes de la instalación. Vista de despiece del conjunto completo con indicación de componentes. 1, 2, 3, etc. Débranchez l’alimentation avant l’installation. Vue en éclaté de l’assemblage complet, avec le nom des composants. 1, 2, 3, etc.
Installation – Kunckle Mount

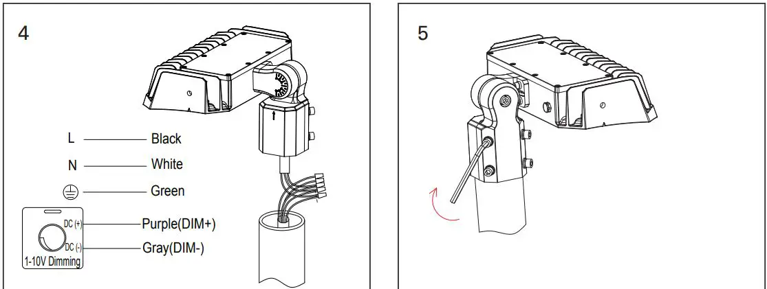
- Use screw key to open the junction box.
- Put the wires of lamp into the junction box.
- Screw up the knuckle mount into junction box.

- Use wire nuts to connect the wires of lamp and junction-box
- Lock the junction box with screw key.
- Use hex-key to screw off the hex screw in knuckle mount.
- Adjust the lamp into suitable angle.

- Use hex key to screw up the hex screw. Installation completed.
Installation – Yoke Mount

- Mark the position of the fixing holes with flood light bracket, then drill the fixing holes
- Drive in the bolts to the pre-drilled holes with thread outside, as the below pic indicate
- Make the bracket face tightly to the wall through the thread.
Fasten the screw nut clockwise with provided hardware by wrench- Rotate the light to the proper angle and fasten the screws
- Fasten the screw both sides with allen driver

- Connect wires
Installation – Slip-fitter

- Loosen the screw used to fix the upper and the lower mount in rotating shaft by hexagon wrench.
- Rotate the bracket to proper angle.
- Lock the upper and lower brackets by hexagon wrench.

- Connect wire.s.
- Fix the bracket to the lamp pole by a hexagonal wrench.
Notice:
The maximum diameter of lamp pole is Ø60mm, lamp adjustable angle is 0-90°
Step of adjusting wattage

- Step 1: Turn the light-emitting side of the lamp downward and twist out the plug with a cross screwdriver;
- Step 2: Take out the plug and put it aside temporarily; set power switch to the corresponding position as required;
- Step 3: Screw the plug back into the power supply cover plate with a screwdriver.

Fasten the screw nut clockwise with provided hardware by wrench



















