
40 Channel CB
MOBILE TRANSCEIVER
H-403
HARVARD GOOD BUDDY

INSTRUCTION MANUAL
1/LICENCE
You may not operate this equipment until you have obtained a C.B licence. Details of the licence may be obtained from any post office.
2/CONTROL LOCATIONS AND FEATURES

- VOLUME CONTROL WITH POWER SWITCH
- SQUELCH
- RF GAIN
- PA-CB SWITCH
- – 10 dB ATTENUATION SWITCH
- CH9 SELECTOR SWITCH
- CHANNEL SELECTOR
- TX LAMP
- RX LAMP
- PWR/S METER
- CHANNEL INDICATOR
a MICROPHONE RECEPTACLE
1. VOLUME CONTROL AND POWER SWITCH
The volume control adjusts sound output of the speaker. With a click turn clockwise the volume control, the set is on. A further clockwise turn increases volume and a counter clockwise turn will decrease volume and finally turns off the set with a click.
2. SQUELCH CONTROL
This control is used to cut off or eliminate receiver background noise in the absence of an incoming signal. For maximum receiver sensitivity it is desired that the control be adjusted only to the point where the receiver background noise or ambient background noise is eliminated. Turn fully counter clockwise then slowly clockwise until the receiver noise disappears. Any signal to be received must now be slightly stronger than the average received noise. Further clockwise rotation will increase the threshold level which a signal must overcome in order to be heard. Only strong signals will be heard at a maximum clockwise setting.
3. RF GAIN CONTROL
The RF gain control is used to reduce intermodulation interference of strong neighbor signals. It’s preferable to reduce the total gain of the receiver when using with strong local operators.
4. PA-CB Switch
The PA-CB switch converts the unit into a powerful Public Address System. The function requires use of an optional 8 Ohm paging speaker. This speaker must be connected to the “PA” jack on the back of the set. Once this speaker has been connected, simply put the PA-CB switch to the “PA” position. Depress the microphone push-to-talk switch to activate the circuit.
Note: The volume control adjusts PA output level.
5. – 10 dB Attenuation Switch
If your antenna is mounted at a height exceeding 7m, by law you must push this switch to the – 10dB position. This will reduce the transmitting output power by – 10dB.
6. CH9 Selector Switch
When the switch is placed in the CH9 position, any channels under operation will be switched to CH9 instantaneously & automatically for the emergency call. At the same time, the channel selector will not function & LED indicator will show 9.
7. CHANNEL SELECTOR
This switch selects any one of the forty citizens band channels desired. The selected channel appears on the LED readout on the right. Channel 9 has been reserved for emergency communications involving the immediate safety of life of individuals or immediate protection of property. Channel 9 may also be used to render assistance to a motorist.
8. TX LAMP
The red light, located to the right of the LED CHANNEL INDICATOR is a transmitting indicator which is activated when the transmitter is keyed.
9. RX LAMP
This green light indicates receiving state.
10. PWR/S METER
Shows relative transmitter power when transmitting and input signal strength when receiving. Illuminated when power is “ON.”
11. LED CHANNEL INDICATOR
LED readout indicates the channel where transceiver is operating.
PRESS-TO-TALK MICROPHONE
The receiver and transmitter are controlled by the press to talk switch on the micro-phone. Press the switch and the transmitter is activated, release switch to receive. When transmitting, hold the microphone two inches from the mouth and speaker clearly in a normal voice.
3/POWER SUPPLY
Almost all cars and most trucks currently operating in the U.K. are negative earth. There are some large trucks and construction equipment which do operate on positive earth Your unit will operate on either. In the negative earth systems the minus (-) pole of the battery is attached to the car body, engine block, etc.
Negative Earth Hookup:
Attach the red (fused) wire to the fuse block terminal or any convenient plus (+) lead. Devices operated by the ignition key such as the radio, light, etc. are best since when you turn the ignition off, the unit will be turned off. Attach the black lead to the car body via any convenient method.
Note: Many newer cars use plastic dash facias. Make sure the screw or contact you choose is attached to the metal framework of the car.
Positive Earth Hookup:
In the event that you do have a positive earth vehicle, the following hookup must be made. Attach the red (fused) lead to the car body via any convenient screw, bolt, etc. Attach the black lead to the terminal block or any convenient wire which goes to the minus (-) pole of the battery.
Failure to make the proper connection could result in unit damage.
Conclusions
Figure on spending anywhere from 30 minutes to two hours on the installation. If you’re not handy or fearful of drilling a hole in your car, head for a skilled installer. However, whether you have an installer nearby or not, this rundown has shown that the installation of a mobile CB unit in your car is really not too difficult.
Filtering Suggestions
When installing or replacing CB equipment in your car, truck, boat, or tractor, these simple suggestions will minimize any additional steps for reducing interference:
- Check all suppression components installed as original equipment by the vehicle manufacturer.
These include resistor plug wiring bonding straps, and bypass capacitors. Replace anything that doesn’t look right. - Have the engine tuned by a good mechanic. This will not only eliminate some of the interference, but will give you better engine performance.
- Route all new wiring away from other wires, especially high voltage ignition wires THIS IS IMPORTANT!
- Make certain the antenna lead in wire shield is properly grounded at each end. All connections must be clean, tight, and properly soldered.
Filtering of Ignition Coil
Mount a general-purpose, .1μF@400VDC, 20 amp feed-thru filter capacitor as closely as possible to the ignition coil, as shown in Figure 3.
Don’t mount the filter on the engine block.
Disconnect the coil from the w ire which leads to the ignition switch
Connect this wire to one end of the filter capacitor.
Install a jumper wire using the same size and type of wire, from the remaining end of the filter to the coil terminal from which the wire was removed.
Figure 3

- To Distributor
- To Ignition Switch
- 20 AMP Feed Thru
- Typical Ignition Coil
Figure 4

- Battery
- Typical Voltage Regulator
- Feed Thru
- To Alternator Output Terminal
- RG 8/U Cable
- Ground
- To Alternator Field Terminal
- Ignition
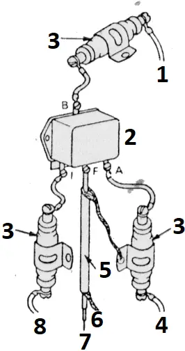
Filtering the Voltage Regulators
For vehicles with plug-in type electrical connectors, check with your auto mechanic for proper wire identification.
Mount a general purpose .1μF@400VDC, 20 amp feed-thru filter capacitor as closely as possible to the voltage regulator, as shown in Figure 4.
Disconnect the wire from the terminal marked “I” or “ignition,” and connect it to one end of the filter capacitor.
Install a jumper wire, using the same size and type of wire, from the opposite end of the capacitor to the “I” terminal.
If noise persists, disconnect the wire from terminal “A” (armature) and connect it to one end of a second filter capacitor. Install a jumper wire from the opposite end of the capacitor to the “A” terminal. If noise persists, disconnect the wire from terminal “B” (battery and connect it to one end of a third filter capacitor. Install a jumper wire using the size and type of wire, from the opposite end of the capacitor to the “B” terminal. If regulator noise still persists, replace the wire from Terminal “F” with Type RG-8/U coaxial cable, grounding both ends of the braided “shield” portion of the cable to the chassis of nearest grounding point other than the engine block.
Be certain that the cable does not touch the engine block or any other accessories which may become hot during operation.
Warning
Do not install any filter device on the terminal marked “F” or field. Permanent damage will result if this terminal is filtered or by-passed.
Additional Auto Noise Suppression Measures
Grounding the exhaust end of the tail-pipe can reduce re-radiated interference. Such ground-ing can be accomplished by using a length of braided grounding strap. For severe cases of ignition noise, before you resort to complete ignition system shielding, try the following less expensive alternatives first:
- Use resistor-type spark plugs, after you have checked with your auto mechanic.
These plugs are not to be used with capacitor discharge ignition systems. - Investigate the use of bonding or jumper straps, especially between the enginehood, fenders, engine block, alternator frame, and tail-pipe.
- General-purpose .1μF@400VDC, 20 amp feed thru filter capacitors will often eliminate intermittent noise from turn signal flashers or windshield wipers by installing them at the terminals of the offending devices.
Note:
Automotive noise suppression requirements will vary with different vehicles, engines, and accessories. It is not possible to prescribe pat cure ails for all noise problems.
Each must be considered a custom case, with solutions for that particular car only. However, this information should give you a good step forward in the suppression of noise for most of your specific problems.
4/ANTENNA REQUIREMENT
This transceiver will operate with any standard 52 ohm ground-plane, vertical, mobile whip, long wire or other CB antenna. A standard SO-239 type connector is provided on the back panel for use with popular PL-259 antenna plug. Licence conditions require that the antenna shall be a single rod or wire, not exceeding 1.5m in overall length.
Mobile Antennas:
A vertical whip antenna is best suited for mobile use. A non-directional antenna must be used for best results in any case. The base loaded whip antenna will normally provide effective communication. The antenna uses the metal car body as a ground-plane and the shield of the base lead as well as the metal case of the transceiver should be earthed. A standard antenna connector (type SO-239) is provided on the transceiver for easy connection to a standard PL-259 cable termination.
The antenna’s mounted location on the vehicle affects the operation of the transceiver. Transmission and reception characteristics vary for different antenna locations. Four most popular antenna mounting shown below:


ROOF MOUNT REAR DECK

FRONT COWL MOUNT BUMPER MOUNT
Front Cowl Mounting
Front cowl mounting offers a number of advantages. The CB antenna can be mounted in place of the regular auto radio antenna and will thus provide the minimum of installation problems. The antenna can then be used for both the CB and standard auto radio by employing any of the commercially made two-way cuplers available. In this location you can install a short loaded whip, with only a small loss of efficiency.
The horizontal radiation pattern in such a location is slightly irregular, radiation being slightly greater in the direction of the rear fender opposite to the side on which the front cowl antenna is mounted.
Roof Mounting
Roof mounting is usually the best location because it provides an almost perfect omni-directional radiation pattern. However, the use of a 1.5m base loaded antenna on the roof of a vehicle is fairly impractical and a shorter, loaded whip is usually installed in this location, even though this type offers lower efficiency.
Rear Deck Mounting
Rear deck mounting permits the use of a 1.5m, or a base loaded, shorter antenna. The radiation pattern in such a location is somewhat irregular, radiation being slightly greater in the direction of the front fender opposite to the side on which the rear deck antenna is mounted.
Bumper Mounting
This arrangement uses the rear bumper of the card and is by far the most practical for use with full 1.5m base loaded whips. Another advantage is that removal of the antenna is simple and leaves no holes in the car body. The radiation pattern produced by an antenna mounted on the left rear bumper is fairly irregular, with greatest radiation being in two directions – one to the right and forward slightly, the other to the real and left slightly.
Base Station:
When this unit is used as a base station, any Citizens Band, ground-plane or vertical antenna may be used. A ground-plane type will provide greater coverage, and since it is essentially non-directional, it is ideal in base station to mobile operation. From base station to base station, the range of the transceiver depends basically on the height of the antenna, and whenever possible, select the highest location within the licence conditions.
Important Notice
If your antenna is mounted at a height exceeding 7m, the licence condition requires a reduction in transmitter Dower of 10 dB. When above is applicable to you you must push the attenuation switch of the unit.
Ensure that the switch is returned to the original “in” position when operating from your vehicle.
5/MOBILE INSTALLATION
A location in the car or truck should be closen carefully for convenience of operation and non-interference with normal driving functions. Mounting may be under the dash or instrument panel of any place a secure installation can be made. The carrying handle again serves as the mounting bracket or additional perforated straps or brackets may be used as desired. The 12 Volt cable may be connected to any convenient terminal but preferably to the ignition switch to prevent unauthorized persons from operation of your unit. With this method the unit will only operate when your key is turned on.

FIGURE 1
- FELT WASHER
- FIX SCREW
- METER
- LED DISPLAY
- CHANNEL SELECTOR
- RF GAIN
- SQUELCH CONTROL
- VOLUME CONTROL
- MIC RECEPTABLE
- TAPPING SCREWS
- MIC HANGER
- BRACKET

6/BASE STATION INSTALLATION
To operate your CB radio in the home, a suitable 12V DC stabilised power supply must be used as the source of power. The 12V DC power supply is plugged into the mains and the CB radio’s red and black leads are connected to the terminals on the power supply. Be sure to connect them correctly following the instructions supplied with the transformer. NEVER CONNECT A CB RADIO DIRECT TO 240V AC MAINS. Consult your dealer to ascertain which 12V DC power supplies are suitable.
7/GENERAL OPERATING PROCEDURE
- Be sure that power source and, antenna are connected to the proper connections before going to the next step.
- Place CB-PA, CH9 selector & – 10dB attenuator switches in CB. & NOR positions respectively.
- Turn the set ON turning the VOLUME control clockwise until a click is heard.
NOTE: Microphone must lac plugged in for receiver to operate. - Set the VOLUME for a comfortable listening level.
- Listen to the background noise from the speaker.
Turn the SQUELCH control slowly clockwise, until the noise just disappears.
No signal should be present. Leave the control at this setting.
The SQUELCH is now properly adjusted.
The receiver will remain quiet until a signal is actually received. Do not advance the control too far, or some of the weaker signals will not be heard. - Set the CHANNEL selector switch to the desired channel.
- Set the RF gain control full clockwise for maximum RF gain. When communicate with strong local station, reduce the gain as much as possible to avoid intermodulation interferences.
Caution: Never operate this unit without an adequate antenna system or load. Antenna SWR should not exceed 3:1. Failure to follow these recommendations could result in damage to the RF output transistor.
To transmit, depress the Push-To-Talk switch on the microphone. Hold the microphone 3 to 5 inches from your mouth and talk at a normal level.
8/PUBLIC ADDRESS
Attach an optional paging speaker to the P.A. jack on the back of the unit.
Put the PA-CB switch to the “PA” position. To activate circuit, simply depress the Push-To-Talk switch on the microphone.
In some cases, feedback may occur if there is not enough separation between the micro-phone and paging speaker. Rotate microphone so it is 180 degrees from speaker. If this does not solve the problem, you may have to move the speaker further away.
9/UNDERSTANDING SWR (Standing Wave Ratio)
In theory, your transceiver has a 50 ohm output and your antenna is 50 ohms. If a 50 ohm cable (such as RG58/U or RG8/U) is used, all the power from your transceiver will be transmitted via the coaxial cable and radiated by the antenna. Under these conditions, the SWR (standing wave ratio) of your antenna system would be 1:1. In practice, the antenna must be 50 ohms and tuned to the exact channel: This condition seldom exists and standing waves are set up on the cable. This SWR robs you of power and likewise range. While 1:1 is not always possible to attain, you should tuned your antenna power losses for various SWR ratios:
SWR Power Losses
1:1 = 0
1.3:1 = 2%
1:5:1 = 3%
1.7:1 = 6%
2:1 = 11%
3:1 = 25%
4:1 = 38%
5:1 = 48%
6:1 = 55%
10:1 = 70%
10/TECHNICAL SPECIFICATIONS
MODEL H-403
Features:
40 channel FM CB Transceiver
Crystal controlled PLL type
Large LED channel indicator
Automatic modulation control
Receiving & transmitting LED indicator
Double conversion receiver
Illuminated power output and receiving signal strength meter
Control:
Rotary channel selector
On/off volume control
Squelch control
RF gain control
CB/PA switch
-10dB Attenuator switch
CH9 selector switch
Circuit:
14 transistors
4 ICs
21 diodes
| Receiver: | |
| Sensitivity: | less than 0.5 V for 10dB S + N/N |
| Selectivity: | more than 60dB @10KHz |
| Image rejection: | more than 50dB |
| Intermediate Frequencies: | 1st: 10.695 MHz 2nd: 455 KHz |
| AGC: | less than 10dB audio change for input from 10uV to 50mV |
| Squelch: | Adjustable threshold less than 0.7 V |
| Audio output: | 3W into 8 ohm |
| Audio response: | 300-3000Hz |
| Distortion: | less than 10% at 3W, 1KHz |
| Built-in speaker: | 3″, 8 ohm |
| Transmitter: | |
| RF output power: | 4W max. & -10dB (0.4W) |
| Modulation: | Frequency modulation with automatic modulation control (AMC) circuit |
| Deviation capability: | 2.5 KHz Max |
| Frequency response: | 400-3000Hz |
| RF output impedance: | 50 ohm, unbalanced |
| Public Address System: | |
| Power output: | 3W into external speaker |
| Speaker: | 8 ohm, external speaker |
| Power Supply: | 13.2V DC nominal Negative or positive ground with polarity protection circuit. |
| Dimensions & Weight: | |
| Dimensions: | 57H x 169W x 198D mm |
| Weight: | 2 Kgs |
SCHEMATIC DIAGRAM



















