ZSYKIPISC KIPI SC Secure KNX-IP Interface
User Manual
KIPI SC
Secure KNX-IP Interface
ZSYKIPISC
Application Program version: [1.1]
User Manual version: [1.1]_a
www.zennio.com
DOCUMENT UPDATES
| Version | Changes | Page(s) |
| [1.1]_a | Changes in the application program: Date/time synchronisation via NTP | 14 |
INTRODUCTION
1.1 KIPI SC
KIPI SC is the solution from Zennio with KNX Secure for the interconnection of KNX twisted-pair lines and Ethernet. It also provides a connection point for ETS to enable programming (up to five parallel connections) and monitoring the KNX line via IP.
KIPI SC can synchronize the date and time with an NTP server in order to send this information to the KNX bus and serve as the clock master of the installation.
To ensure the exchange of KNX data in both IP and TP mediums, the KIPI SC has been provided with KNX Secure. For detailed information about the functionality and configuration of the KNX security, please refer to the specific user manual “KNX Secure”, available in the KIPI SC product section of the Zennio web portal (www.zennio.com).
These are the most outstanding features of this device:
- Maximum APDU length of 254 bytes.
- Up to 5 parallel connections from ETS for programming and monitoring (via group monitor).
- No external power is required.
- High capacity buffer for the reception of telegrams from the Ethernet network.
- 4 lighting indicators (LEDs): two state indicators for the lines (bus and Ethernet), one more IP factory reset indicator and one additional indicator for the programming mode.
- Installation Clock master functionality, synchronized with NTP servers.
- Heartbeat or periodical “still-alive” notification.
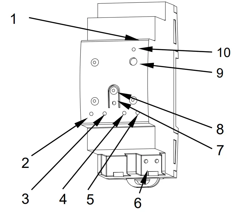
1.2 INSTALLATION
- Ethernet connector.
- KNX LED indicator.
- Ethernet LED indicator
- –
- –
- KNX connector.
- Programming LED.
- Programming button.
- Factory reset button.
- Factory reset LED indicator.

Figure 1. Element Diagram
Figure 1 shows a scheme with all the LED indicators and required connections. This device does not require an external power supply, it is powered through the KNX bus.
To the couple, a KNX twisted-pair (TP) line and a LAN network, the KNX bus (6), and Ethernet (1) cables must be connected. After the connection, the device can be conveniently mounted on the DIN rail by the usual procedure
The programming button (8) shown in
Figure 1 programming button (8) may be pressed to set KIPI SC in programming mode. After a short press, the programming LED (7) will light in red.
Note: if the programming button is held while plugging the device into the KNX bus, the device will enter safe mode. In such a case, the LED will blink in red every 0.5 seconds.
The behavior of the additional LEDs and the factory reset button will be described in sections 1.3 and 1.4.
For detailed information about the technical features of the device, as well as on security and installation procedures, please refer to the device Datasheet, bundled within the original packaging of the device and also available at www.zennio.com.
1.3 LED INDICATORS
KIPI SC incorporates four LED lights on the top of the device that makes it easy to monitor the status of the buses and to detect typical communication problems, as detailed next.
- KNX Line Status LED (TP): shows the status of the primary bus.
OFF: error or KNX line not connected or not powered.
ON (green) = TP connection OK.
Note: the update of the LED status can be delayed a few seconds after the trigger event, e.g., after the disconnection of the main line. - Ethernet Line Status LED (IP): shows the status of the secondary bus.
OFF: error or IP line not connected.
ON (green): Ethernet connection OK - Programming LED:
OFF = normal operation.
ON (red) = programming mode active. - IP Factory Reset LED:
OFF: normal operation.
ON (red): factory IP is restored (300 ms active).
1.4 HARD RESET TO FACTORY DEFAULTS
If the “IP Fact. Reset” button is pressed for three seconds, the device restores its default parameters (obtain an IP address via DHCP server). Thus, if a device becomes inaccessible on the local network due to the loss of its IP configuration, the device can be located again. The default configuration will persist until a new download is made.
When a long press is detected, the associated LED will light up in red for 300 ms. After this time, LED will switch off again.
CONFIGURATION
After importing the corresponding database in ETS and adding the device to the topology of the desired project, the configuration process begins by entering the Parameters tab of the device.
2.1 KNX TO IP INTERFACE
KIPI SC interconnects a KNX bus and an Ethernet network (LAN).
On the other hand, KIPI SC can be allocated within the project topology in ETS, as any other device. This step can be omitted when it is going to be used as an interface because there is no need to modify the default configuration (see the previous section). However, when required to modify any property of KIPI SC, an individual address should be assigned in order to download.
2.1.1 PROGRAMMER
KIPI SC can be used in ETS as a programming interface. In addition to an IP address, they must be assigned a KNX individual address for this purpose.
Up to five simultaneous connections are allowed for performing downloads or for bus monitoring (via group monitor).
Note: to detect the KIPI SC as a programmer in ETS, it needs to be connected to the same IP network as the PC.
To use a device as a programmer simply select it in the ETS “Bus” tab under Connections Interfaces.
Or by selecting it at the bottom left after opening a project in ETS.
Important: If the KIPI SC is selected as the programming interface to the program itself it is recommended to first perform individual address download and then application download, rather than complete download (complete download causes a device restart and therefore communication with ETS is lost and the download is canceled).
2.1.1.1 PROPERTIES
Once the desired Interface KIPI SC has been selected, its configuration will be carried out in the “IP” panel of the “Properties” tab in ETS:
Obtain an IP address automatically1. KIPI SC will automatically acquire an IP address whenever there is a DHCP server in the local network to which it is connected.
Use a static IP address. The following properties must be set manually:
IP Address [0.0.0.0…255.255.255.255].
Subnet Mask [0.0.0.0…255.255.255.255].
Default Gateway [0.0.0.0…255.255.255.255].
Note: If a static IP is configured, it is important to make sure that no other device on the network has this IP assigned to it and that it does not belong to the DHCP range configured for the router, otherwise connection problems with the KIPI SC will be observed.
In addition, the following information will be shown:
MAC Address.
The default values of each parameter will be highlighted in blue in this document, as follows: [default/rest of options].
Multicast Address [224.0.23.12]: IP address (reserved by the IANA organization for the KNXnet/IP protocol) used by ETS in this case, for discovering the available KNX-IP interfaces within the same network.
Once these properties have been entered an ETS programming is required to download the configuration to the device.
2.1.1.2 PARALLEL DOWNLOADS
ETS offers the option to perform multiple parallel downloads within the same project. This option is only available for connections via a KNX-IP router or a KNX-IP interface. Certain conditions must be met:
- Each download must be performed on a different line.
- For each line, it is necessary to select one KIPI SC to perform the download.
Note: There is a restriction: parallel downloads are not available to download physical addresses. When performing this type of download, the link device used by ETS is not the one configured for the line but the general one.
This is configured in the line properties.
Note: once the connection has been selected, it will not be available for the other lines.
2.1.2 ADDITIONAL INDIVIDUAL ADDRESSES (TUNNELING ADDRESSES)
KIPI SC requires a specific individual address when acting as a programming interface (tunneling) other than the address of the device itself. Up to five simultaneous connections are possible, which implies that up to five different individual addresses must be configured.
Although by default, the physical address of KIPI SC is 15.15.255 and tunneling addresses are 15.15.250, 15.15.251, 15.15.252, 15.15.253 and 15.15.254, all of them can be configured in ETS after adding the device to the project, as shown in Figure 7:
After the individual KIPI SC address has been set, the five tunneling addresses are automatically set with consecutive values. This can be changed at any time.
Important: KIPI SC tunneling addresses must not match any of the addresses set to other devices on the system.
2.2 GENERAL
The only parameterizable screen available is “General”. All device functions can be activate/deactivate from this screen.
ETS PARAMETERISATION
Heartbeat (Periodic Alive Notification) [disabled/enabled]: incorporates a one-bit object to the project (“[Heartbeat] Object to Send `1′”) that will be sent periodically with value “1” to notify that the device is still working (still alive).
Note: the first sending after download or bus failure takes place with a delay of up to 255 seconds, to prevent bus overload. The following sendings march the period set.
Synchronize Clock Master via NTP [disabled/enabled]: enables or disables the “NTP” tab in the tree on the left. For more information, see section 2.3.
Note: This parameter must be enabled in the device that will be the clock master so that there is only one in the installation.
DNS Servers Configuration: numeric text fields to enter the IP address of two DNS servers:
IP Address of DNS Server 1 and 2 [198.162.1, 198.162.2].
Note: The connection to the DNS server is necessary to ensure the correct functioning of the NTP servers (see section 2.3). As long as there is no connection to a DNS server, the date and time information will not be synchronized.
2.3 NTP CLOCK
KIPI SC can be configured as the installation master clock, it will send the date and time information to the rest of the devices of the installation. This information will be obtained from an NTP server.
Please refer to the specific manual “NTP Clock” (available under the KIPI SC product section at the Zennio homepage, www.zennio.com) for detailed information about the functionality and the configuration of the involved parameters.
ANNEX I. COMMUNICATION OBJECTS
“Functional Range” shows the values that, with the independence of any other values permitted by the bus according to the object size, may be of any use or have a particular meaning because of the specifications or restrictions from both the KNX standard and the application program itself.
| Number | Size | I/O | Flags | Data type (DPT) | Functional Range | Name | Function |
| 1 | 1 Bit | C – – T – | DPT_Trigger | 0/1 | [Heartbeat] Object to Send ‘1’ | Sending of ‘1’ Periodically | |
| 2 | 3 Bytes | 0 | C R – T – | DPT_Date | 01/01/1990 – 31/12/2089 | [NTP] Date | Current Date |
| 3 | 3 Bytes | 0 | C R – T – | DPT_TimeOfDay | 00:00:00 – 23:59:59 | [NTP] Time of Day | Current Time |
| 4 | 8 Bytes | 0 | C R – T – | DPT_DateTime | [NTP] Date and Time | Current Date and Time | |
| 5 | 1 Bit | I | C – W – – | DPT_Ack | 0/1 | [NTP] Sending Request | 0 = No Action; 1 = Request Date and Time Sending |
https://www.zennio.com
Technical Support: https://support.zennio.com
Join and send us your inquiries about Zennio devices:
https://support.zennio.com
Zennio Avance y Tecnología
S.L. C/ Río Jarama, 132.
Nave P-8.11 45007 Toledo, Spain.
Tel. +34 925 232 002
www.zennio.com
[email protected]

















