KLIC-MITTE KNX – IT Terminal Gateway for
Mitsubishi Electric Ecodan Units
User Manual
Application program version: [1.0]
User manual edition: [1.0]_c
www.zennio.com
DOCUMENT UPDATES
| Version | Changes | Page(s) | ||||
| [1.0]_c | Correction in the cover image. | – | ||||
| [1.0]_b | Clarification in Installation configuration. | section | for | a | correct | 5 |
INTRODUCTION
KLIC-MITTE
KLIC-MITTE from Zennio is a new gateway that provides full-duplex communication between the KNX home automation system and Mitsubishi Electric Ecodan airconditioning and hot water management systems through the IT Terminal interface.
Because of this bidirectional communication, the air conditioning system can be controlled from the home automation system in the same manner as it is through its own controls. Moreover, the actual status of the unit can be monitored and periodically sent to the KNX bus to inform other devices.
The most outstanding features of KLIC-MITTE are:
- Bidirectional control of Ecodan ME (Mitsubishi Electric) units through their IT Terminal connector (CN105).
- Control of the main functions of the Ecodan unit: On/Off, temperature, mode of operation, etc.
- Error management to handle specific error codes from the unit itself as well as any communication issues that may arise.
- Two analog-digital inputs, for the connection of temperature probes, motion detectors, or binary pushbuttons or switches.
- 10 customizable, multi-operation logic functions.
- Heartbeat or periodic “still-alive” notification.
INSTALLATION
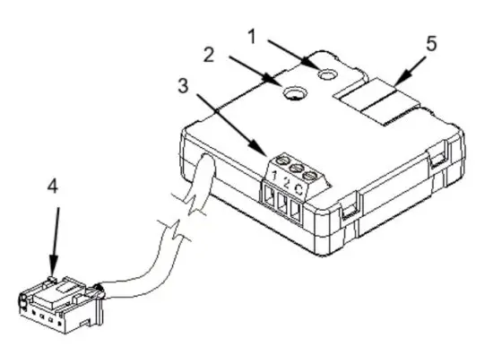
Figure 1. Element scheme
| 1. Prog./Test LED indicator | 4. IT Terminal connection cable. |
| 2. Prog./Test button | 5. KNX connector |
| 3. Analogue/digital inputs |
Prog./Test button (2): a short press on this button will set the device into the programming mode, making the associated LED (1) light in red.
Note: if this button is held while plugging the device into the KNX bus, the device will enter into safe mode. The LED will blink in red every 0.5 seconds analog-digital Inputs (3): input ports for the stripped cables of external elements such as switches, motion detectors, temperature probes, etc.
Communication cable (4): cable with a CN105 connector that will connect KLIC-MITTE to the unit. The other end of the cable, therefore, is intended to be connected to the IT Terminal connector in the PCB board of the internal unit. 
Important: KLIC-MITTE is designed for FTC5 control systems. For other control systems, that many functions are disabled must be taken into account. In addition, certain parameterizations made in the device can be ignored.
Note: For a correct parameterization and behavior of the KLIC-MITTE, it must be considered that the units of the FTC5 control systems have internal switches that allow to enable and disable certain characteristics of it. Consult the Mitsubishi unit manual for more information.
For detailed information about the technical features of KLIC-MITTE, as well as on security and installation procedures, please refer to the device Datasheet, bundled in the device packaging and also available at http://www.zennio.com.
START-UP AND POWER LOSS
Depending on the configuration, some specific actions will be performed during the device start-up. The integrator may set up an initial status to be sent to the unit after the bus power recovery, and whether certain objects should be sent to the bus after the power recovery, as described in later sections.
On the other hand, when a bus power failure takes place, the device will interrupt any pending actions and will save its state so it can be recovered once the power supply is restored.
CONFIGURATION
GENERAL
After importing the corresponding database in ETS and adding the device into the topology of the desired project, the configuration process begins by entering the Parameters tab of the device.
ETS PARAMETERISATION
The “General” screen is shown in the first place, containing the following parameters: 
- Ecodan Gateway [enabled]1: entails all functions specific to KLIC-MITTE, relating to communication with the Ecodan unit and management of the climate and hot water control system. For more information, see section 2.2.
- Inputs [disabled/enabled]: enables or disables the “Inputs” tab in the tree on the left. For more information, see section 2.3.
- Logic Functions [disabled/enabled]: enables or disables the “Logic Functions” tab in the tree on the left. For more information, see section 2.4.
- Heartbeat (Periodic Alive Notification) [disabled/enabled]: this parameter lets the integrator incorporate a one-bit object to the project (“[Heartbeat] Object to Send ‘1’”) that will be sent periodically with the value “1” to notify that the device is still working (still alive).
¹The default values of each parameter will be highlighted in blue in this document, as follows: [default/rest of options]. 
Note: the first sending after download or bus failure takes place with a delay of up to 255 seconds, to prevent bus overload. The following sendings match the period set.
Regardless of the above parameters, the following objects are available by default:
- “[General] On/Off” and “[General] On/Off (Status)”: allow switching on (value “1”) and off (value “0”) the Ecodan unit or reading the current status, respectively.
- Several error objects. See section 2.2.33.
- “[Climate] Operation (Status)” and “[Climate] Allowed/Prohibited (Status)”: allow reading the current state of the climate.
- “[Climate] [Zone 1] Temperature Setpoint” and “[Climate] [Zone 1] Temperature Setpoint (Status)”: allow setting the desired temperature setpoint or reading the current value, respectively. See section 2.2.1 for further information.
- “[Climate] [Zone 1] Temperature Control Mode (Status)”: allows reading the type of control that the unit performs (Flow/Room/Compensation Curve) respectively. See section 2.2.1 for further information.
ECODAN GATEWAY
KLIC-MITTE allows controlling and monitoring an Ecodan unit.
Through the KNX bus, commands to control the following basic functions can be sent to KLIC-MITTE:
- On/Off switch of the Ecodan unit.
- Climate control and supervision:
- Climate operation and permission status: allows knowing if the unit is working and if it is authorized.
- Climate model: depending on unit characteristics, climate mode can be changed between heating or cooling. Also, its status can be read.
- Machine climate setpoint temperature of the available zones. The temperature can be modified within a range of values according to the selected temperature control mode.
- 1 or 2 climate zones can be controlled.
- Climate temperature control mode: using KLIC-MITTE, temperature control mode can be known (flow temperature, room temperature, compensation curve), but it only can be changed by wired remote control.
- Flow temperature: this mode allows setting a fluid setpoint for heating or cooling mode whose ranges will be:
o Heating: [25…60] ºC
o Cooling: [5…25] ºC - Room Temperature: allows establishing a temperature setpoint for heating mode.
o Heating: [10…30] ºC - Compensation Curve: is intended to be modified by the wired remote control, therefore, the sending of setpoints from KLIC-MITTE in this mode is meaningless.
Note: When control by Compensation Curve is established only in Heating Mode, it should be taken into account that, in that case, the temperature control is performed entirely by the machine, so any temperature setpoint sent to the KLIC will be ignored and the flow temperature setpoint calculated by the machine using the compensation curve will return by the status object. Thus, as explained above, what is shown on the control and on the status object of the KLIC is:
o Wired remote control: shows the increase or decrease in temperature that the user wishes to perform on the flow temperature setpoint calculated by the machine.
o KLIC-MITTE: flow temperature resulting from applying the internal compensation curve of the machine plus the increase desired by the user from the wired remote control. - Domestic Home Water (DHW) control and supervision: its operation is based on the activation of a heat pump that heats the water to the desired temperature.
- Setpoint temperature: the temperature at which the water in the DHW tank will be heated.
- DHW operating and permission status: allows discerning when the unit is heating water and when it is not and if it is authorized.
On the other hand, KLIC-MITTE allows the configuration of the following advanced functions:
- Advanced Modes: allows to enable objects to activate the general Holiday Mode, and the Economy and Forced Modes in the DHW system.
- Initial Configuration: allows defining the desired initial value for the united states after the device has been programmed or restarted.
In addition, KLIC-MITTE provides an error management function (see section 2.2.33), which allows sending messages to the KNX bus in case the A/C unit reports any errors.
ETS PARAMETRIZATION
The “Configuration” tab under Ecodan Gateway provides the following parameters: 
UNIT TYPE
- Climate Mode Available [Heating / Cooling/Heating]. If “Cooling/Heating” are selected, the following 1-Bit object will be enabled: “[Climate] Operation
- Mode” and “[Climate] Operation Mode (Status)”. These will allow choosing under which mode (cold or heat) the unit will operate and monitoring its status.
- A number of Available Zones [1 / 2]: indicates the number of zones supported by the unit. Depending on which one it is, the objects corresponding to the second zone will be displayed. In a generic way, the objects shown in the zone will be:
- “[Climate] [Zone X] Temperature Setpoint”: allows for setting the desired setpoint according to the mode in which the temperature control is performed.
- “[Climate] [Zone X] Temperature Setpoint (Status)”: allows for knowing the setpoint temperature at which the machine is working.
- “[Climate] [Zone X] Temperature Control Mode (Status)”: a 1-Byte object that allows knowing the temperature control mode status. The available modes are listed in
Object Value Control Mode 0 Flow Temperature 1 Room Temperature 2 Compensation Curve - Domestic Hot Water (DHW) [enabled/disabled]: allows to show or hide of the initial configuration objects and parameters linked to the ACS management (see section 2.2.2). The objects are as follows:
- “[DHW] Operation (Status)”: a 1-bit object that allows knowing if the domestic home water management system is idled or operative.
- “[DHW] Allowed/Prohibited (Status)”: 1-bit object to know if the DHW system is allowed to be controlled.
- “[DHW] Temperature Setpoint” and “[DHW] Temperature Setpoint (Status)”: allows to set and monitor the temperature setpoint for the water in the tank. Range: [40…60] ºC.
ADVANCED MODES
- Advanced Modes [enabled/disabled]: allows to show or hide the following objects, as well as the configuration of the corresponding initial states, if the initial configuration has been selected as custom (see section 2.2.2).
- “[General] Holiday Mode” y “[General] Holiday Mode (Status)”: 1-bit objects to control and monitor the activation of the Holiday Mode.
Furthermore, the domestic hot water management system has two independent modes of operation. The 1-bit objects used to control and supervise them are as follows:
- “[DHW] Economy Mode” and “[DHW] Economy Mode (Status)”. The value “1” will cause economy mode activation, whereas the value “0” will activate normal mode. The current status of this mode can be known with “[DHW] Economy Mode (Status)” object.
- “[DHW] Forced Mode” and “[DHW] Forced Mode (Status)”. Sending the value “1” through “[ACS] Forced Mode” will cause the hot water to activate, even if the ACS is in “Prohibited” mode.
COOLING/HEATING MODE AFTER ETS DOWNLOAD
Zone 1 / Zone 2
- Heating/Cooling after ETS Download [Flow Temperature / Room Temperature / Compensation Curve]: allows to indicate the temperature control mode after download for heating mode. For Cooling Mode, due to intrinsic unit restrictions, only “Flow Temperature” is available.
Note: If zone 1 is set to “Room Temperature”, this option will not be available in zone 2. The unit does not allow two zones operating in this mode.
INITIAL CONFIGURATION
- Initial Configuration [Default / Custom]: enables or disables the “Initial Configuration” in the left menu. For more information, see section 2.2.2.
INITIAL CONFIGURATION
The custom initial configuration allows setting the desired status that KLIC-MITTE will send the unit after downloading or restarting the device. This status is defined in terms of On/Off, domestic home water, and climate.
In addition, it is possible to activate an initial sending of this status to the KNX bus.
ETS PARAMETRISATION
After selecting “Custom” for the Initial Configuration option under the “Configuration” tab (see section 2.2.1), a new tab named Initial Configuration is displayed with the following parameters:
Figure 6. Ecodan Gateway. Initial configuration.
GENERAL
- On/Off [Last / On / Off].
When Domestic Hot Water (DHW) is enabled in the “Configuration” tab (see section 2.2.1), the following parameters will be shown:
DOMESTIC HOT WATER
- Forced Mode [Last / On / Off]. It requires the general state of the machine to be On in order to be available.
- Economy Mode [Last / On / Off].
Note: Initial configuration of the ACS modes will only be available if advanced modes are enabled in the “Configuration” tab (see section 2.2.1). - Setpoint [disabled/enabled]:
- Value:
• Last: only available if Setpoint parameter remains disabled.
• 40…60 ºC: concrete value of the set temperature.
CLIMATE
- Operating Mode [Last / Cooling / Heating].
Zone 1 / Zone 2 - Setpoint [disabled/enabled]:
- Value:
• Last: only available if Setpoint parameter remains disabled.
• 5…25…60 ºC: concrete value of the set temperature. The available range varies depending on the selected operating mode. - Initial Sending of Status [disabled/enabled] if this option is enabled, the corresponding status objects will be sent to the KNX bus with the indicated delay [0…3600] [s].
Note: even if the option to send the initial configuration is not enabled, the status sending could also take place if the initial stated configured is different from the one currently available on the machine.
Note: If “Last” is selected in any of the previous parameters, the same value will be maintained as it was before its restart.
ERROR HANDLING
KLIC-MITTE is capable of managing two error types that do not entail any previous parameter configuration:
- Communication o internal error: error in the communication process between KLIC-MITTE and the Ecodan unit.
In case KLIC-MITTE is unable to connect to the machine, it stops responding or returns wrong traces, the device will send the 1-Bit object “[General] Internal - Error: Communication” with a value of “1. If this happens, the green LED will remain on. Once the error is over, the object will be sent with a value of “0”. Error in the unit: errors reported by the unit itself. KLIC-MITTE can notify the KNX bus about the reported error code, although referring to the specific documentation of the machine is advisable in order to obtain further information. In case the unit reports an error, the binary object “[General] Unit Error: Active Error” will be sent with the value “1”, while the 14-bytes object “[General] Unit Error: Error Code” will report the corresponding error code. Once the error is over, the binary object will send a value of “0” and the error code object will update its value to “0”. Please, refer to Mitsubishi error codes documentation for details about the error codes.
INPUTS
KLIC-MITTE incorporates two analog/digital inputs, each configurable as a:
- Binary Input, for the connection of a pushbutton or a switch/sensor.
- Temperature Probe, for the connection of a temperature sensor.
- Motion Detector, for the connection of a motion detector from Zennio.
BINARY INPUT
Please refer to the “Binary Inputs” user manual, available in the KLIC-MITTE product section, at the Zennio website (www.zennio.com).
TEMPERATURE PROBE
Please refer to the “Temperature Probe” user manual, available in the KLIC-MITTE product section, at the Zennio website (www.zennio.com).
MOTION DETECTOR
It is possible to connect motion detectors from Zennio to the input ports of KLIC-MITTE.
Please refer to the “Motion Detector” user manual, available in the KLIC-MITTE product section, at the Zennio website (www.zennio.com) for detailed information about the functionality and the configuration of the related parameters.
LOGIC FUNCTIONS
This module makes it possible to perform numeric and binary operations with incoming values received from the KNX bus and to send the results through other communication objects specifically enabled for this purpose.
KLIC-MITTE can implement up to 10 different and independent functions, each of them entirely customizable and consisting in up to 4 consecutive operations each. The execution of each function can depend on a configurable condition, which will be evaluated every time the function is triggered through specific, parameterisable communication objects. The result after executing the operations of the function can also be evaluated according to certain conditions and afterward sent (or not) to the KNX bus, which can be done every time the function is executed, periodically, or only when the result differs from the last one.
Please refer to the “Logic Functions” user manual (available in the KLIC-MITTE product section on the Zennio homepage, www.zennio.com) for detailed information about the functionality and the configuration of the related parameters.
ANNEX I. COMMUNICATION OBJECTS
- “Functional range” shows the values that, with the independence of any other values permitted by the bus according to the object size, may be of any use or have a particular meaning because of the specifications or restrictions from both the KNX standard or the application program itself.
13,16 | 2 Bytes | 0 | C T R – – | DPT_Value_Temp | -273.00° – 670760.00° | [Climate][Zone x] Temperature Setpoint(Status) | [5…60] 0C |
| 14,17 | 1 Byte | 0 | CTR– | DPT_Temp_CtrI_Mode | [Climate][Zone x] Temperature Control Mode (Status) | 0 = Flow Temperature; 1 = Room Temperature; 2 = Compensation Curve | |
| 18 | 1 Bit | 0 | C T R – – | DPT_Switch | 0/1 | [DHW] Operation (Status) | 0 = Idle; 1 = Operative |
| 19 | 1 Bit | 0 | C T R – – | DPT_Enable | 0/1 | [DHW] Allowed/Prohibited (Status) | 0 = Prohibited; 1 = Allowed |
| 20 | 2 Bytes | I | C – – W – | DPT_Value_Temp | -273.00° – 670760.00° | [DHW] Temperature Setpoint | [40…60] 0C |
| 21 | 2 Bytes | 0 | C T R – – | DPT_Value_Temp | -273.00° – 670760.00° | [DHW] Temperature Setpoint (Status) | [40…60] 0C |
| 22 | 1 Bit | I | C – – W – | DPT_Switch | 0/1 | [DHW] Economy Mode | 0 = Off; 1 = On |
| 23 | 1 Bit | 0 | C T R – – | DPT_Switch | 0/1 | [DHW] Economy Mode (Status) | 0 = Off; 1 = On |
| 24 | 1 Bit | I | C – – W – | DPT_Switch | 0/1 | [DHW] Forced Mode | 0 = Off; 1 = On |
| 25 | 1 Bit | 0 | C T R – – | DPT_Switch | 0/1 | [DHW] Forced Mode (Status) | 0 = Off; 1 = On |
| 26,30 | 2 Bytes | 0 | C T R – – | DPT_Value_Temp | -273.00° – 670760.00° | [Ix] Current Temperature | Temperature Sensor Value |
| 27,31 | 1 Bit | 0 | C T R – – | DPT_Alarm | 0/1 | [Ix] Overcooling | 0 = No Alarm; 1 = Alarm |
| 28,32 | 1 Bit | 0 | C T R – – | DPT_Alarm | 0/1 | [Ix] Overheating | 0 = No Alarm; 1 = Alarm |
| 29,33 | 1 Bit | 0 | C T R – – | DPT_Alarm | 0/1 | [Ix] Probe Error | 0 = No Alarm; 1 = Alarm |
| 34,40 | 1 Bit | I | C – – W – | DPT_Enable | 0/1 | [Ix] Input Lock | 0 = Unlock; 1 = Lock |
| 35,41 | 1 Bit | C T – – – | DPT_Switch | 0/1 | [Ix] [Short Press] 0 | Sending of 0 | |
| 1 Bit | C T – – – | DPT_Switch | 0/1 | [Ix] [Short Press] 1 | Sending of 1 | ||
| 1 Bit | I | C T – W – | DPT_Switch | 0/1 | [Ix] [Short Press] 0/1 Switching | Switching 0/1 | |
| 1 Bit | C T – – – | DPT_UpDown | 0/1 | [Ix] [Short Press] Move Up Shutter | Sending of 0 (Up) | ||
| 1 Bit | C T – – – | DPT_UpDown | 0/1 | [Ix] [Short Press] Move Down Shutter | Sending of 1 (Down) | ||
| 1 Bit | C T – – – | DPT_UpDown | 0/1 | [Ix] [Short Press] Move Up/Down Shutter | Switching 0/1 (Up/Down) | ||
| 1 Bit | C T – – – | DPT_Step | 0/1 | [Ix] [Short Press] Stop/Step Up Shutter | Sending of 0 (Stop/Step Up) | ||
| 1 Bit | C T – – – | DPT_Step | 0/1 | [Ix] [Short Press] Stop/Step Down Shutter | Sending of 1 (Stop/Step Down) | ||
| 1 Bit | C T – – – | DPT_Step | 0/1 | [Ix] [Short Press] Stop/Step Shutter (Switched) | Switching of 0/1 (Stop/Step Up/Down) | ||
| 4 Bit | C T – – – | DPT_Control_Dimming | Ox0 (Stop) Oxl (Dec. by 100%) ••• 0x7 (Dec. by 1%) Ox8 (Stop) OxD (Inc. by 100%) ••• OxF (Inc. by 1%) | [Ix] [Short Press] Brighter | Increase Brightness | ||
| 4 Bit | C T – – – | DPT_Control_Dimming | Ox0 (Stop) Ox1 (Dec. by 100%) ••• 0x7 (Dec. by 10/0) Ox8 (Stop) OxD (Inc. by 100%) ••• OxF (Inc. by 1%) | [Ix] [Short Press] Darker | Decrease Brightness | ||
| 4 Bit | C T – – – | DPT_Control_Dimming | Ox0 (Stop) Oxl (Dec. by 100%) ••• 0x7 (Dec. by 10/0) Ox8 (Stop) OxD (Inc. by 100%) ••• OxF (Inc. by 10/0) | (Ix) [Short Press] Brighter/Darker | Switch Bright/Dark | ||
| 1 Bit | C T – – – | DPT_Switch | 0/1 | [Ix] [Short Press] Light On | Sending of 1 (On) | ||
| 1 Bit | C T – – – | DPT_Switch | 0/1 | [Ix] [Short Press] Light Off | Sending of 0 (Off) | ||
| 1 Bit | I | C T – W – | DPT_Switch | 0/1 | [Ix] [Short Press] Light On/Off | Switching 0/1 | |
| 1 Byte | C T – – – | DPT_SceneControl | 0-63; 128-191 | [Ix] [Short Press] Run Scene | Sending of 0 – 63 | ||
| 1 Byte | C T – – – | DPT_SceneControl | 0-63; 128-191 | [Ix] [Short Press] Save Scene | Sending of 128 – 191 | ||
| 1 Bit | I/O | C T R W – | DPT_Switch | 0/1 | [Ix] [Switch/Sensor] Edge | Sending of 0 or 1 | |
| 1 Byte | C T – – – | DPT_Value_l_Ucount | 0 – 255 | [Ix] [Short Press] Constant Value | 0 – 255 | ||
| (Integer) | |||||||
| 1 Byte | C T – – – | DPT_Scaling | 0% – 100% | [Ix] [Short Press] Constant Value (Percentage) | 0% – 100% | ||
| 2 Bytes | C T – – – | DPT_Value_2_Ucount | 0 – 65535 | [Ix] [Short Press] Constant Value (Integer) | 0 – 65535 | ||
| 2 Bytes | C T – – – | 9.xxx | -671088.64 – 670760.96 | [Ix] [Short Press] Constant Value (Float) | Float Value | ||
| 36,42 | 1 Byte | I | C – – W – | DPT_Scaling | 00/0 – 100% | [Ix] [Short Press] Shutter Status (Input) | 0% = Top; 100% = Bottom |
| 1 Byte | I | C – – W – | DPT_Scaling | 0% – 100% | [Ix] [Short Press] Dimming Status (Input) | 0% – 100% | |
| 37,43 | 1 Bit | C T – – – | DPT Switch | 0/1 | [Ix] [Long Press] 0 | Sending of 0 | |
| 1 Bit | C T – – – | DPT Switch | 0/1 | [Ix] [Long Press] 1 | Sending of 1 | ||
| 1 Bit | I | C T – W – | DPT Switch | 0/1 | [Ix] [Long Press] 0/1 Switching | Switching 0/1 | |
| 1 Bit | C T – – – | DPT_UpDown | 0/1 | [Ix] [Long Press] Move Up Shutter | Sending of 0 (Up) | ||
| 1 Bit | C T – – – | DPT_UpDown | 0/1 | [Ix] [Long Press] Move Down Shutter | Sending of 1 (Down) | ||
| 1 Bit | C T – – – | DPT_UpDown | 0/1 | [Ix] [Long Press] Move Up/Down Shutter | Switching 0/1 (Up/Down) | ||
| 1 Bit | C T – – – | DPT_Step | 0/1 | [Ix] [Long Press] Stop/Step Up Shutter | Sending of 0 (Stop/Step Up) | ||
| 1 Bit | C T – – – | DPT_Step | 0/1 | [Ix] [Long Press] Stop/Step Down Shutter | Sending of 1 (Stop/Step Down) | ||
| 1 Bit | C T – – – | DPT_Step | 0/1 | [Ix] [Long Press] Stop/Step Shutter (Switched) | Switching of 0/1 (Stop/Step Up/Down) | ||
| 4 Bit | C T – – – | DPT_Control_Dimming | Ox0 (Stop) Oxl (Dec. by 100%) ••• Ox7 (Dec. by 1%) 0x8 (Stop) OxD (Inc. by 100%) ••• OxF (Inc. by 1%) | [Ix] [Long Press] Brighter | Long Pr. -> Brighter; Release -> Stop | ||
| 4 Bit | C T – – – | DPT_Control_Dimming | Ox0 (Stop) Oxl (Dec. by 100%) — 0x7 (Dec. by 1%) 0x8 (Stop) OxD (Inc. by 100%) ••• OxF (Inc. by 1%) | [Ix] [Long Press] Darker | Long Pr. -> Darker; Release -> Stop | ||
| 4 Bit | C T – – – | DPT_Control_Dimming | Ox0 (Stop) Ox1 (Dec. by 100%) — 0x7 (Dec. by 1%) 0x8 (Stop) OxD (Inc. by 100%) ••• OxF (Inc. by 1%) | [Ix] [Long Press] Brighter/Darker | Long Pr. -> Brighter/Darker; Release -> Stop | ||
| 1 Bit | C T – – – | DPT Switch | 0/1 | [Ix] [Long Press] Light On | Sending of 1 (On) | ||
| 1 Bit | C T – – – | DPT_Switch | 0/1 | [Ix] [Long Press] Light Off | Sending of 0 (Off) | ||
| 1 Bit | I | C T – W- | DPT_Switch | 0/1 | [Ix] [Long Press] Light On/Off | Switching 0/1 | |
| 1 Byte | C T – – – | DPT_SceneControl | 0-63; 128-191 | [Ix] [Long Press] Run Scene | Sending of 0 – 63 | ||
| 1 Byte | C T – – – | DPT_SceneControl | 0-63; 128-191 | [Ix] [Long Press] Save Scene | Sending of 128 – 191 | ||
| 1 Bit | 0 | C T R– | DPT_Alarm | 0/1 | [Ix] [Switch/Sensor) Alarm: Breakdown or Sabotage | 1 = Alarm; 0 = No Alarm | |
| 2 Bytes | C T – – – | 9.xxx | -671088.64 – 670760.96 | [Ix] [Long Press] Constant Value (Float) | Float Value | ||
| 2 Bytes | C T – – – | DPT_Value_2_Ucount | 0 – 65535 | [Ix] [Long Press) Constant Value (Integer) | 0 – 65535 | ||
| 1 Byte | C T – – – | DPT_Scaling | 0% – 100% | [Ix] [Long Press) Constant Value (Percentage) | 0% – 1000/o | ||
| 1 Byte | C T – – – | DPT_Value_l_Ucount | 0 – 255 | [Ix] [Long Press] Constant Value (Integer) | 0 – 255 | ||
| 38,44 | 1 Bit | C T – – – | DPT_Trigger | 0/1 | [Ix] [Long Press/Release] Stop Shutter | Release -> Stop Shutter | |
| 39,45 | 1 Byte | I | C – – W – | DPT_Scaling | 0% – 100% | [Ix] [Long Press] Dimming Status (Input) | 0% – 100% |
| 1 Byte | I | C – – W – | DPT_Scaling | 0% – 100% | [Ix] [Long Press] Shutter Status (Input) | 0% = Top; 100% = Bottom | |
| 46 | 1 Byte | I | C – – W – | DPT_SceneNumber | 0 – 63 | [Motion Detector] Scene Input | Scene Value |
| 47 | 1 Byte | C T – – – | DPT_SceneControl | 0-63; 128-191 | [Motion Detector] Scene Output | Scene Value | |
| 48, 77 | 1 Byte | 0 | C T R – – | DPT_Scaling | 0% – 100% | [Ix] Luminosity | 0-100% |
| 49, 78 | 1 Bit | 0 | C T R – – | DPT_Alarm | 0/1 | [Ix] Open Circuit Error | 0 = No Error; 1 = Open Circuit Error |
| 50, 79 | 1 Bit | 0 | C T R – – | DPT_Alarm | 0/1 | [Ix] Short Circuit Error | 0 = No Error; 1 = Short Circuit Error |
| 51, 80 | 1 Byte | 0 | C T R – – | DPT_Scaling | 0% – 100% | [Ix] Presence State (Scaling) | 0-100% |
| 52, 81 | 1 Byte | 0 | C T R – – | DPT_HVACMode | 1=Comfort 2=Standby 3=Economy 4=Building Protection | (Ix) Presence State (HVAC) | Auto, Comfort, Standby, Economy, Building Protection |
| 53, 82 | 1 Bit | 0 | C T R – – | DPT_Occupancy | 0/1 | [Ix] Presence State (Binary) | Binary Value |
| 1 Bit | 0 | C T R – – | DPT_Ack | 0/1 | [Ix] Presence: Slave Output | 1 = Motion Detected | |
| 54, 83 | 1 Bit | I | C – – W – | DPT_Window_Door | 0/1 | [Ix] Presence Trigger | Binary Value to Trigger the Presence Detection |
| 55, 84 | 1 Bit | I | C – – W – | DPI_Ack | 0/1 | [Ix) Presence: Slave Input | 0 = Nothing; 1 = Detection from slave device |
| 56, 85 | 2 Bytes | I | C – – W – | DPT_TimePeriodSec | 0 – 65535 | [Ix] Presence: Waiting Time | 0-65535 s. |
| 57, 86 | 2 Bytes | I | C – – W – | DPT_TimePeriodSec | 0 – 65535 | [Ix] Presence: Listening Time | 1-65535 s. |
| 58, 87 | 1 Bit | I | C – – W – | DPT_Enable | 0/1 | [Ix] Presence: Enable | According to parameters |
| 59, 88 | 1 Bit | I | C – – W- | DPT_DayNight | 0/1 | [Ix] Presence: Day/Night | According to parameters |
| 60, 89 | 1 Bit | 0 | CTR– | DPT_Occupancy | 0/1 | [Ix] Presence: Occupancy State | 0 = Not Occupied; 1 = Occupied |
| 61, 90 | 1 Bit | I | C – – W – | DPI_Ack | 0/1 | [Ix) External Motion Detection | 0 = Nothing; 1 = Motion detected by an external sensor |
| 62, 67, 72, 91, | 1 Byte | 0 | C T R – – | DPT_Scaling | 0% – 100% | [Ix] [Cx] Detection State (Scaling) | 0-100% |
Join and send us your inquiries
about Zennio devices: https://support.zennio.com/
Zennio Avance y Tecnología S.L.
C/ Río Jarama, 132. Nave P-8.11
45007 Toledo (Spain).
Tel. +34 925 232 002.
www.zennio.com
[email protected]
















![Kucht Professional Rang Hood User Manual [krh3001u, Krh3601u, Krh4801u, Krh3002u, Krh3602u, Krh4802u, Krh3003u, Krh3603u, Krh3004u, Krh3604u] Kucht Professional Rang Hood User Manual [krh3001u, Krh3601u, Krh4801u, Krh3002u, Krh3602u, Krh4802u, Krh3003u, Krh3603u, Krh3004u, Krh3604u]](https://static-data1.manualsee.com/1/img/335/59874/2021/02/Kucht-Professional-Rang-Hood-User-Manual-KRH3001U-KRH3601U-KRH4801U-KRH3002U-KRH3602U-KRH4802U-KRH3003U-KRH3603U-KRH3004U-KRH3604U-User-Manual-1568x1568.jpg)

