Nukatap SS
Stainless Steel: KL15509

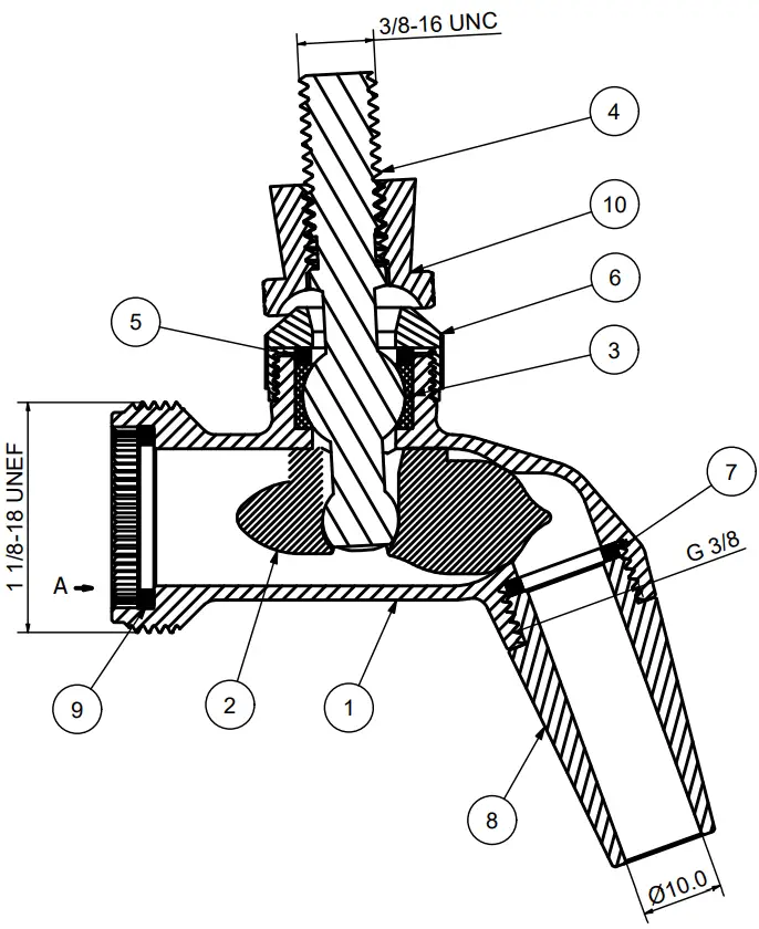
A – Knurl Detail

Components
- Nukatap Body – 304 Stainless
- Nukatap Shuttle – PP/EPDM
- Ball Seal ( 2 pcs)
- Lever
- Bonnet Washer
- Bonnet
- Nozzle Washer
- 10mm Standard Nozzle
- Shank Sealing Washer
- Handle Collar

Distributed by:
www.KegLand.com.au
www.KegLand.cn

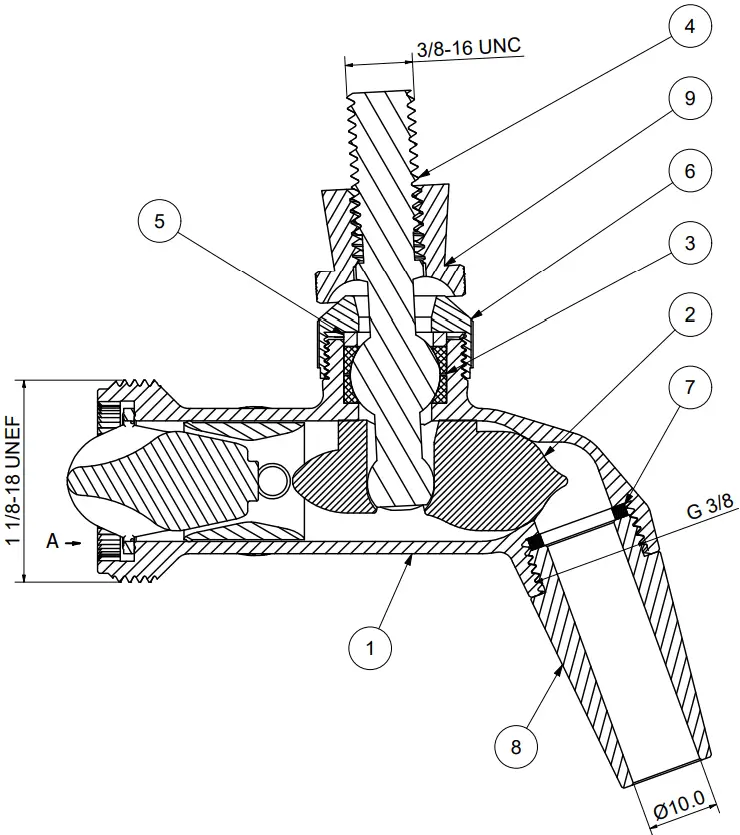
| PARTS LIST | ||
| ITEM | QTY | DESCRIPTION |
| 1 | 1 | NukaTap Body |
| 2 | 1 | NukaTap Shuttle |
| 3 | 2 | Ball Seal |
| 4 | 1 | Lever |
| 5 | 1 | Bonnet Cushion |
| 6 | 1 | Bonnet |
| 7 | 1 | Nozzle Washer |
| 8 | 1 | 10mm Standard Nozzle |
| 9 | 1 | Handle Collar |
| 10 | 1 | Detent Actuator Shaft |
| 11 | 1 | Shank Seal / Restrictor |
| 12 | 1 | Flow Slider |
| 13 | 1 | Flow Bonnet |
| 14 | 1 | Flow Control Handle |
| 15 | 2 | Shaft Seals |
| 16 | 1 | Shaft Cushion |
| 17 | 1 | Flow Bonnet Damper |
Nukatap Flow Control

A – Knurl Detail

| PROJECTION:
| UNLESS OTHERWISE STATED ALL DIMENSIONS IN MILLIMETRES | MATERIAL: | FINISH: | |
| UNSPECIFIED TOLERANCES | PART NUMBER: KLTAPFC_A001 | |||
| LINEAR 0 = ±1.0 0.0 = ±0.2 0.00 = ±0.05 0.000 = ±0.01 | ANGULAR 0 = ±2.0° 0.0 = ±0.5° | |||
![]() | MACHINED SURFACE | |||
Nukatap SS















![Kucht Professional Rang Hood User Manual [krh3001u, Krh3601u, Krh4801u, Krh3002u, Krh3602u, Krh4802u, Krh3003u, Krh3603u, Krh3004u, Krh3604u] Kucht Professional Rang Hood User Manual [krh3001u, Krh3601u, Krh4801u, Krh3002u, Krh3602u, Krh4802u, Krh3003u, Krh3603u, Krh3004u, Krh3604u]](https://static-data1.manualsee.com/1/img/335/59874/2021/02/Kucht-Professional-Rang-Hood-User-Manual-KRH3001U-KRH3601U-KRH4801U-KRH3002U-KRH3602U-KRH4802U-KRH3003U-KRH3603U-KRH3004U-KRH3604U-User-Manual-1568x1568.jpg)



