MaxLite FRK Series Round Retrofit Kit

General Safety Information

- To reduce the risk of death, personal injury or property damage from fire, electric shock, falling parts, cuts/abrasions, and other hazards read all warnings and instructions included with and on the fixture box and all fixture labels.
- Before installing, servicing, or performing routine maintenance upon this equipment, follow these general precautions.
- Commercial installation, service and maintenance of luminaires should be performed by a qualified licensed electrician.
- DO NOT INSTALL DAMAGED PRODUCT
WARNING – Risk of fire or electric shock. LED Retrofit Kit installation requires knowledge of luminaires electrical systems. If not qualified, do not attempt installation. Contact a qualified electrician.
WARNING – Risk of fire or electric shock. Install this kit only in luminaires that have the construction features and dimensions shown in the photographs and/or drawings and where the input rating of the retrofit kit does not exceed the input rating of the luminaire. Only those open holes indicated in the photographs and/or drawings may be altered as a result of kit installation. Do not leave any other open holes in an enclosure of wiring or electrical components.
WARNING – To prevent wiring damage or abrasion, do not expose wiring to edges of sheet metal or other sharp objects. THIS RETROFIT KIT IS ACCEPTED AS A COMPONENT OF A LUMINAIRE WHERE THE SUITABILITY OF THE COMBINATION SHALL BE DETERMINED BY AUTHORITIES HAVING JURISDICTION. “THIS LUMINAIRE HAS BEEN MODIFIED TO OPERATE LED LAMPS. DO NOT ATTEMPT TO INSTALL OR OPERATE FLUORESCENT LAMPS IN THIS LUMINAIRE,” Shall be marked on the retrofit luminaire where readily visible by the user during normal maintenance including relamping. Affix the field applied labelonto the luminaire.
WARNING: RISK OF ELECTRICAL SHOCK
- Turn off electrical power at fuse or circuit breaker box before wiring fixture to the power supply.
- Turn off the power when you perform any maintenance.
- Verify that supply voltage is correct by comparing it with the luminaire label information.
- Make all electrical and grounded connections in accordance with the National Electrical Code and any applicable local code requirements.
- All wiring connections should be capped with UL approved wire connectors.
CAUTION: RISK OF INJURY
- Wear gloves and safety glasses at all times when removing luminaire from carton, installing, servicing or performing maintenance.
- Avoid direct eye exposure to the light source while it is on.
- Account for small parts and destroy packing material, as these may be hazardous to children.
CAUTION: RISK OF FIRE
- Keep combustible and other materials that can burn away from luminaire and lamp/lens.
- MIN 90°C SUPPLY CONDUCTORS.
- Disconnect power and allow fixture to cool before handling fixture.
Models:
FRK Series
| Model Number: | Specific Target Luminaire: |
| FRK10X3-9XXZ/V4 | 4.3” Dia. X 2.5” depth |
| FRK17X4-9XXZ/V3 | 8.3” Dia. X 2.5” depth |
| FRK23X5.5-9XXZ/V3 | 8.3” Dia. X 2.5” depth |
| FRK28X7-9XXZ/V3 | 9.2” Dia. X 3.5” depth |
Installation & Operation
Disconnect the power by turning off the circuit breaker or by removing the appropriate fuse at the fuse box. Turning the power off using the light switch is not sufficient to prevent electrical shock.
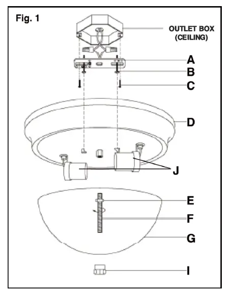
REMOVING UN-NEEDED PARTS (FIG. 1)
- Shut off the power at the circuit breaker. Remove diffuser, old sockets and lead wires, retain all other parts including the crossbar.
- Twist the ceiling pan (D), to loosen and remove via the key hole slots. You should have access to the junction box now.
- Carefully unpack your new retrofit kit and lay out all the parts on a clear area. Take care not to lose any small parts necessary for installation.
INSTALLATION STEPS
- Route LED retrofit kit wire harness wires (1 white, 1 black) and ground wire (1 green) through wire opening in fixture. Confirm wires will not be pinched by round LED mounting plate or other fixture hardware when reassembled.
- Secure the retrofit to the fixture using one of the three installation options available for retrofitting:

- Connect wire harness leads to mains wiring inside junction box using (3) wire nuts/connectors (WAGO)

- Green wire to ground wire (bare or green)
- Black or blue wire to line conductor (black)
- White wire to neutral conductor (white)
- Place the provided label in the outer space of the luminaire after the LED engine installation has been completed. Label must be visible.
- Re-attach and secure the lens to luminaire. (Luminaire will work with or without diffuser)
Warranty Information
- MaxLite Inc. warrants its products for a minimum period of FIVE (5) years from the date of original purchase from
- MaxLite or its authorized distributor/dealer (the “Warranty Period”), as follows: If a Product fails to operate during the
- Warranty Period as a result of defects in materials or workmanship, MaxLite will, at its option, repair it, replace it with the same or like Product. Please refer to Maxlite’s website (at http://maxlite.com/resources/warranties) for the complete terms and conditions of our warranty
Limitation of Liability
THE FOREGOING WARRANTY IS EXCLUSIVE, AND IS THE SOLE REMEDY FOR ANY AND ALL CLAIMS, WHETHER IN CONTRACT, IN TORT OR OTHERWISE ARISING FROM THE FAILURE OF PRODUCT AND IS IN LIEU OF ALL OTHER WARRANTIES, EXPRESS OR IMPLIED, INCLUDING ALL WARRANTIES OF MERCHANTABILITY OR FITNESS FOR A PARTICULAR PURPOSE, WHICH WARRANTIES ARE HEREBY EXPRESSLY DISCLAIMED TO THE EXTENT PERMITTED BY LAW AND, IN ANY EVENT, SHALL BE LIMITED TO THE WARRANTY PERIOD SPECIFIED ABOVE. THE LIABILITY OF MAXLITE SHALL BE LIMITED TO THE TERMS OF THE EXPRESS WARRANTY SET FORTH HEREIN. IN NO EVENT WILL MAXLITE BE LIABLE FOR ANY SPECIAL, INCIDENTAL OR CONSEQUENTIAL DAMAGES INCLUDING, WITHOUT LIMITATION, DAMAGES RESULTING FROM LOSS OF USE, PROFITS, BUSINESS OR GOODWILL, LABOR COSTS, REMOVAL OR INSTALLATION COSTS, DECREASE IN THE LIGHT OUTPUT OF THE LAMP, AND/OR DETERIORATION IN THE LAMP’S PERFORMANCE, WHETHER OR NOT MAXLITE HAS BEEN ADVISED OF THE POSSIBILITY THEREOF. UNDER NO CIRCUMSTANCES SHALL MAXLITE’S ENTIRE LIABILITY FOR A DEFECTIVE PRODUCT EXCEED THE PURCHASE PRICE OF THAT PRODUCT. WARRANTY SERVICES PROVIDED UNDER THESE TERMS AND CONDITIONS DO NOT ENSURE THE UNINTERRUPTED OPERATION OF PRODUCTS; MAXLITE SHALL NOT BE LIABLE FOR DAMAGES CAUSED BY ANY DELAYS INVOLVING WARRANTY SERVICE. This Limited Warranty gives you specific legal rights and you may also have other rights that may vary from state to state. Because some states or jurisdictions do not allow the exclusion or limitation of liability for consequential or incidental damages, this limitation may not apply to you.
© Copyright 2022. MaxLite, Inc. All Rights Reserved. 12 York Ave, West Caldwell, NJ 07006 Tel: 800-555-5629 Fax: 973-244-7333 Email: [email protected]






















