sunlite 87701-SU LED 4-Inch Square Ultra Slim Recessed Downlight 
Please read and understand this entire manual before attempting to assemble, operate or install the product.
PARTS LIST
- Junction box.
- Light panel
- Spring clips
- Connector
WARNING: Avoid fire or electric shock. Follow installation instructions carefully. Risk of fire or electric shock. LED Retrofit Kit installation requires knowledge of luminaires electrical systems. If not qualified, do not attempt installation. Contact a qualified electrician.
Install this kit only in luminaires that have the construction features and dimensions shown in the photographs and/or drawings and where the input rating of the retrofit kit does not exceed the input rating of the luminaire. Wear rubber-soled shoes and work on a sturdy ladder. Ground fixture to avoid potential electrical shock. Do not make or alter any open holes in an enclosure of wiring or electrical components during kit installation. To prevent wiring damage or abrasion, do not expose wiring to edges of sheet metal or other sharp objects.
CAUTION: Turn off the power at the fuse or circuit breaker box before installation and maintenance to avoid electric shock. This retrofit should be used on 120-Volt fused circuits. The fixture must be installed according to National Electric Code and local building codes. If you are unsure about wiring consult a qualified electrician. THIS FIXTURE BODY IS ONE PIECE, DO NOT DISASSEMBLE OR MAKE ALTERATIONS.
Not to be used for emergency lighting. Suitable for wet locations.
This device complies with part 15 of the FCC Rules. Operation is subject to the following two conditions: (1) this device may not cause harmful inference, and (2) this device must accept any inference received, including that may cause undesired operation. Retain these instructions for future maintenance reference.
Installation
STEP 1. Make sure the power is turned off at the source to the junction box.
STEP 2. Determine the location for installation and cut ceiling hole in accordance with cut-hole dimensions. Refer to the Hole Diameter table for the appropriate size. (Fig.1)
STEP 3. Open the junction box cover and remove the appropriate knockout) on the side panel. (Fig.2)
STEP 4. Insert the electrical supply cable through the knockout and secure with a cable connector (sold separately).
STEP 5. Using quick-connect push-in terminals, connect the ground wire to the green wire terminal; black wire to black wire terminal; white wire to white wire terminal. (Fig.2)
STEP 6. Place all wiring and connections back into the box and close the cover. connect the driver to the light panel
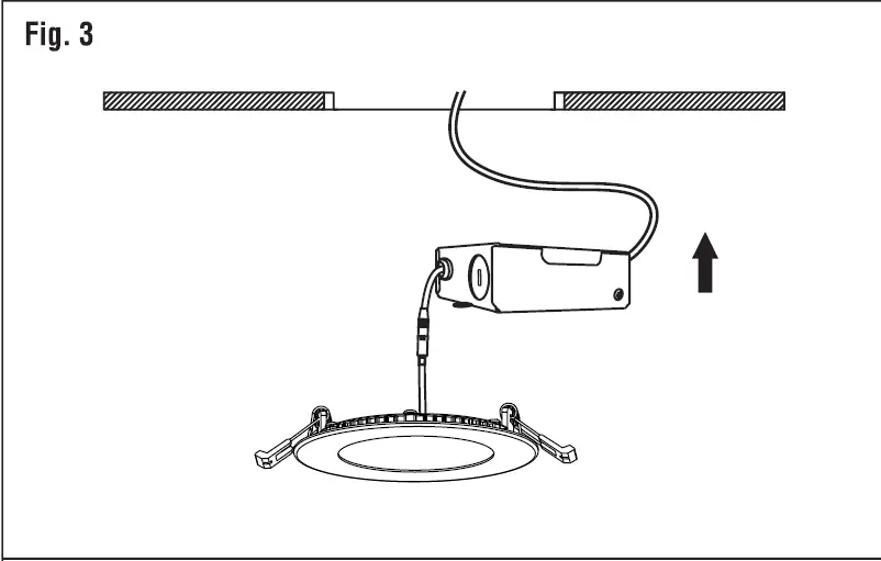
STEP 7. Insert the junction box through the mounting hole. (Fig 3).
STEP 8. Push spring-loaded clips on the fixture upwards and insert the fixture base in to the mounting hole. Release the clips and the fixture will be pulled flush to the ceiling. Fig 4




















