Agknx 3-Point Tractor Quick Hitch

IMPORTANT SAFETY INFORMATION
WARNING:
Read and thoroughly understand all instructions and safety information before assembling or operating this quick hitch. Failure to do so may cause serious injury or death. Do not allow anyone to operate this quick hitch who has not read this manual. A quick hitch can be dangerous if assembled or used improperly. Do not operate if you have doubts or questions concerning safe operation.
Call our customer service department at 303-278-0664,or email at [email protected] if you have any questions or concerns about the safe operation of this equipment.
INTENDED USE
The quick hitch is intended to speed the attachment of 3-point implements to a tractor.
Do not use the quick hitch for any purpose other than connecting a 3-point implement to a tractor.
PERSONAL PROTECTIVE EQUIPMENT:
When operating this quick hitch it is essential that you wear safety gear including steel toe shoes and tight fitting gloves (no loose cuffs or draw strings).
GENERAL SAFETY
Failure to follow warnings, cautions, assembly and operation instructions in the Operation Manual may result in serious injury or death.
Read the Operation Manual before operation.
- Do not permit children to operate this equipment at any time. Do not permit others that have not read and understood the complete Operation Manual to operate this equipment.
- Keep all people and pets a minimum of 10 feet away from the area where you connect the implement to the quick hitch.
- Do not operate the quick hitch when under the influence of alcohol, drugs or medication.
- Do not allow a person who is tired or otherwise impaired or not completely alert to operate the quick hitch.
- Read the Tractor’s operation manual concerning the proper attachment and how to safely use a 3-point quick hitch.
ALWAYS OPERATE THIS QUICK HITCH FROM THE TRACTOR SEAT.
DO NOT ATTACH THE QUICK HITCH TO THE TRACTOR WITH THE ENGINE RUNNING.
DO NOT OPERATE THE QUICK HITCH WITH ANYONE IN CONTACT WITH ANY PART OF THE IMPLEMENT, PTO DRIVELINE OR MOVING PARTS.
SERIOUS INJURY CAN RESULT FROM ENTANGLEMENT WITH MOVING PARTS.
- NEVER connect an implement to the quick hitch that does not connect directly to your tractor without a quick hitch. The implement must be approved for your tractor, check the tractor’s manual for further information. The quick hitch only acts as a faster method of connecting previously connected implements to your tractor. The Category of the Tractor must meet the Category of the quick hitch and implement.
The exception is the CAT 2/3 quick hitch that allows a CAT 2 tractor to connect to a CAT 3 implement. - Always make sure that your tractor is capable of operating the implement.
ASSEMBLY INSTRUCTIONS
INSTRUCTIONS TO ATTACH THE 3-PT OF THE TRACTOR TO THE QUICK HITCH
STEP 1:
Lower the tractor lift arms. Place the tractor lift arms within the slot of the quick hitch and align the holes. The model CAT 2/3 has two slots to connect the tractor a-arms. The inside slot is for CAT 2 tractors and the outside slot is for CAT 3 tractors.
STEP 2:
Connect the a-arm to the quick hitch using the lower a-arm pin B B and lynch pin. CC
STEP 3:
Place the tractor top link within the upper slot of the quick hitch and align the holes.
STEP 4:
Connect the top link B B with the top link pin and lynch pin. CC
INSTRUCTIONS TO ATTACH THE IMPLEMENT TO THE QUICK HITCH
STEP 1:
Bushings might be required to connect your implement to the quick hitch. Bushings are required if the diameter of the implements lower hitch pin is smaller than the lower hooks of the quick hitch.
Attach the bushings to the implements lower hitch pins by sliding on the bushing. Secure the bushing to the implements lower hitch pins with roll pins. A hammer will be needed to force the roll pin in place.
OPERATING INSTRUCTIONS
STEP 2:
Move the tractor to position the quick hitch’s lower hooks below the implements bushings or lower hitch pin. Position the hook of the quick hitch below the mast pin of the implement.
STEP 3:
Raise the a-arms of the tractor to lift the implement. Verify that the bushings or lower hitch pins set completely within the quick hitch lower hooks and the mast pin captured by the quick hitch upper hook.
STEP 4:
Connect the driveline from the implement to the tractor if the implement requires. See the tractors owner’s manual for instructions on how to connect a driveline.
EXCEPTIONS:
The CAT 1 quick hitch allows the use of non-standard implements.
If the mast pin or the lower hitch pins of the implement do not set all the way in the hooks it might be necessary to raise or lower the top hook of the quick hitch. It may require a few tries to get the hook in the right location.
Some Non-standard CAT 1 implements may require the use of the CAT 1 quick hitch adapter. Follow the below steps to attach the quick hitch to non-standard implements.
STEP 1:
Remove the upper hook by removing the hex bolts and nuts.
STEP 2:
Slide the adapter bracket over the top bracket of the quick hitch and put the top link pin through both the quick hitch adapter and top link. Either hole of the quick hitch adapter can be used.
STEP 3:
Connect the quick hitch adapter to the mast of the implement.
INSTRUCTIONS TO REMOVE THE IMPLEMENT FROM THE QUICK HITCH
STEP 1:
Turn off the tractor and remove the PTO driveline if applicable. See the tractor’s owner’s manual for instructions.
Raise the tractor a-arms enough that the implement weight is on the quick hitch hooks.
Flip both quick hitch handles vertical. The handles will stay vertical or in the open position. Flipping the handles vertical will pull the locking plate inside the quick hitch freeing the implement’s lower pins to be removed.
STEP 2:
Lower the tractor’s a-arms until the implements pins or bushings are out of the quick hitch lower hooks and mast from the quick hitch upper hook.
STEP 3:
Verify that no parts of the implement or driveline are attached to the quick hitch and the tractor is clear to move forward without the quick hitch hitting any part of the implement.
Drive the tractor forward and then flip the handles back closed in the horizontal position.
MAINTENANCE
ALWAYS PERFORM MAINTENANCE OPERATIONS WITH THE TRACTOR’S ENGINE POWERED OFF, AND PTO DISENGAGED.
Clean dirt and debris off the quick hitch after each use.
Store the quick hitch in a clean and dry location.
Lubricate all moving parts periodically.
Check for damaged or worn parts after each use. Do not attach the quick hitch to a tractor or implement if parts are warn and need to be replaced.
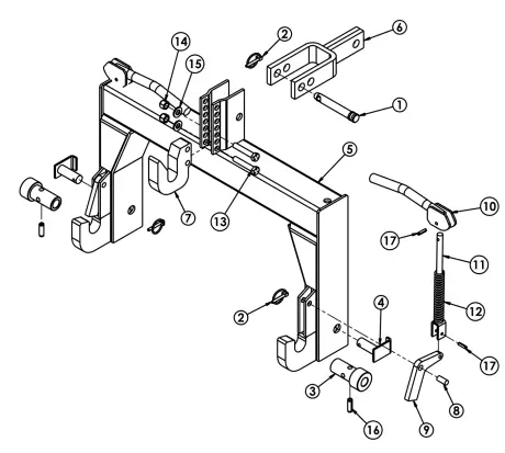
QUICK HITCH PARTS LIST
CAT 1 QUICK HITCH P/N: 25-005
| ITEM NO. | PART NUMBER | DESCRIPTION | QTY. |
| 1 | 07-07-02-00 | TOP LINK PIN | 1 |
| 2 | 07-09-04-00 | 1/4” LYNCH PIN | 3 |
| 3 | 25-001 | CAT 1 QUICK HITCH BUSHING | 2 |
| 4 | 25-003 | CAT 1 PIN | 2 |
| 5 | 25-004 | CAT 1 QUICK HITCH, BARE | 1 |
| 6 | 25-006 | QUICK HITCH ADAPTER | 1 |
| 7 | 25-007 | CAT 1 TOP HOOK | 1 |
| 8 | 25-011 | PIN, CAT 1 | 2 |
| 9 | 25-012 | LOCK, CAT 1 | 2 |
| 10 | 25-013 | HANDLE, QUICK HITCH | 2 |
| 11 | 25-014 | WELDMENT, ROD | 2 |
| 12 | 25-015 | SPRING, QH | 2 |
| 13 | N/A | BOLT, 1/2”-13 X 2-3/4”, PT | 2 |
| 14 | N/A | LOCKNUT, 1/2”-13 | 2 |

| CAT 2 P/N: 25-010 | CAT 2 HD P/N: 25-019 | CAT 3 P/N: 25-020 | CAT 3N P/N: 25-021 | CAT 2/3 P/N: 25-022 | |||
| ITEM NO. | PART NUMBER | DESCRIPTION | QTY. | ||||
| 1 | 07-09-01-00 | 07-09-01-00 | 07-09-01-00 | 07-09-01-00 | 07-09-01-00 | 7/16” LYNCH PIN | 2 |
| 2 | 25-002 | 25-002 | N/A | N/A | N/A | QUICK HITCH BUSHING | 2 |
| 3 | 25-008 | 25-008 | 25-025 | 25-025 | 25-025 | PIN | 2 |
| 4 | 25-009 | 25-029 | 25-030 | 25-031 | 25-032 | QUICK HITCH, BARE | 1 |
| 5 | 25-013 | 25-013 | 25-013 | 25-013 | 25-013 | HANDLE, QUICK HITCH | 2 |
| 6 | 25-015 | 25-015 | 25-015 | 25-015 | 25-015 | SPRING, QH | 2 |
| 7 | 25-016 | 25-033 | 25-034 | 25-035 | 25-036 | LOCK MOUNTING PIN | 2 |
| 8 | 25-017 | 25-003 | 25-004 | 25-004 | 25-004 | WELDMENT, ROD | 2 |
| 9 | 25-018 | 25-018 | 25-018 | 25-018 | 25-018 | LOCK | 2 |
| 10 | N/A | N/A | N/A | N/A | N/A | SPRING PIN, 7/16” X 1-3/8” | 2 |
| 11 | N/A | N/A | N/A | N/A | N/A | SPRING PIN, 1/4” X 1” | 2 |
| 12 | N/A | N/A | N/A | N/A | N/A | SPRING PIN, 1/4” X 1-1/2” | 2 |
| 13 | N/A | N/A | N/A | N/A | N/A | SPRING PIN, 5/16” X 1” | 2 |
WARRANTY
IMPORTANT NOTICE
We, the manufacturer, reserve the right to change the product and/ or specifications in this manual without notification. The manual is for information use only and the pictures and drawings depicted herein are for reference only.
Warranty Repair and Service
Do not return this product to the store for warranty issues or repair. Call our customer service department at 303-278-0664 for the location of the nearest service center.
Record the information below for future reference.
- Model No.
- Serial No. (if applicable)
- Date of Purchase
- Place of Purchase
SPECIFICATIONS
| SKU/Part No. | 25-005 | 25-010 | 25-019 | 25-020 | 25-021 | 25-022 |
| Model # | CAT 1 | CAT 2 | CAT 2 HD | CAT 3 | CAT 3N | CAT 2/3 |
| Description | Category 1 quick hitch | Category 2 quick hitch | Category 2 heavy duty quick hitch | Category 3 quick hitch | Category 3 narrow quick hitch | Category 2/3 quick hitch |
| Tractor category | 1 | 2 | 2 | 3 | 3 | 2 or 3 |
| Implement category | 1 | 2 | 2 | 3 | 3 | 3 |
| Tractor rating | 50 HP | 90 HP | 150 HP | 200 HP | 200 HP | 200 HP |
| Capacity | 2500 lbs. | 3600 lbs. | 4000 lbs. | 4000 lbs. | 4000 lbs. | 4000 lbs. |
| Inside lower hook spacing | 27.1 in. | 32.7 in. | 32.7 in. | 38.4 in. | 38.4 in. | 32.7 in. |
| Vertical hook spacing | 14.8 to 18 in. (adjustable hook) | 14.8 in. | 14.8 in. | 18.8 in. | 18.8 in. | 18.8 in. |
| Warranty | 1-year limited | 1-year limited | 1-year limited | 1-year limited | 1-year limited | 1-year limited |
REGISTRATION
Acceptance of responsibility:
I (purchaser) have read the Operation Manual and Limited Warranty or someone has read and explained all instructions to me. I understand this warranty does not cover any labor and that all disputes will be settled by binding arbitration. Warranty void if any attempt to repair or replace defective parts has been made by unauthorized personnel. The mark next to each item below confirms my acceptance of responsibility for the use and maintenance of this quick hitch. I understand that I alone am responsible for the proper maintenance, care and safe operation of this quick hitch.
- Received, read and understand the Operation Manual
- Specifications accepted
- Operations understood
- Maintenance requirements understood
I (purchaser) understand that persons who have not read and understand the operations manual should not be allowed to use the machinery. Children should not operate or be near the equipment. Anyone operating the quick hitch must have read the safety and operations manual.
Is this quick hitch used in a business:
No: ______________ Yes, business type: ______________
Owner / Purchaser Signature: ________________________________________________________
The warranty may be refused if the registration is not legible, completed and signed. It is the responsibility of the purchaser to assure that the registration form is received.
Agknx product warranty offers one year warranty against workmanship.
The warranty gives the consumer certain and specific rights which may vary from state to state.
Warranty does not cover normal wear, misuse, neglect, abuse, improper maintenance, overload beyond rated capacity, accidents, cosmetic defects, consumables, non-authorized replacement parts or accessories, operation with inadequate supply of gear box oil, improper fluid types or unauthorized adjustments.
WARRANTY VOID IF REGISTRATION IS NOT POST MAKED WITHIN 15 DAYS OF PURCHASE.
Mail to: AGKNX
15000 West 44th Ave, Suite B
Golden, CO 80403
Serial # (if applicable): ___________________________________________________________________ Purchase Date: __________________________________________________________________________ Purchased From: ________________________________________________________________________ Purchaser: _____________________________________________________________________________ Purchaser’s Address: ____________________________________________________________________ City: _________________________ State: _______________________ Zip Code: __________________ Phone:________________________ Email: ___________________________________________________
Attach a copy of receipt or proof of purchase.
Registration may be completed by scanning the Registration pages and emailing them to: [email protected]
For Service or Questions: Call 303-278-0664





















