SAMSON G-Track Pro
Owner’s Manual

Introduction
Congratulations on your purchase of the Samson G-Track Pro USB Microphone with Audio Interface. The G-Track Pro features dual 1” ultra thin capsules with selectable polar patterns, onboard 24-bit 96kHz Analog-to-Digital converter and USB output. Plus, the G-Track Pro features a built-in audio interface with headphone output allowing you to connect your electric guitar or bass, keyboards, drum machines and just about any other signal source. The onboard mixer allows you set clean signals for recording by providing Instrument and Mic input level controls. In addition, the G-Track Pro employs a clever monitoring system allowing you to choose a variety of playback options for headphones or monitors with zero latency monitoring of the input signals. Whether you’re recording your latest song idea, podcast, or streaming on your gaming channel, the G-Track Pro is the simplest and most comprehensive solution for high-quality recording on a Mac or PC. Just plug it in and start creating!
In these pages, you’ll find a detailed description of the features of the G-Track Pro, as well as step-by-step instructions for its setup and use. If your microphone was purchased in the United States, you’ll also find a registration card enclosed— don’t forget to follow the instructions so that you can receive online technical support and so that we can send you updated information about this and other Samson products in the future. Also, be sure to check out our website www.samsontech.com for complete information about our full product line.
We recommend you keep the following records for reference, as well as a copy of your sales receipt:
Serial number: _____________________________
Date of purchase: ___________________________
If you have any questions or comments regarding the G-Track Pro or any other products from Samson, do no hesitate to contact us at [email protected]
With proper care and maintenance, your G-Track Pro will operate trouble-free for many years. Should your G-Track Pro ever require servicing, a Return Authorization (RA) number must be obtained before shipping your unit to Samson. Without this number, the unit will not be accepted. Please visit www.samsontech.com/ra for an RA number prior to shipping your unit. Please retain the original packing materials and, if possible, return the unit in its original carton. If your G-Track Pro was purchased outside of the United States, contact your local distributor for warranty details and service information.
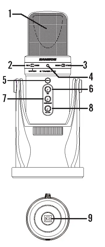
G-Track Pro Callouts

- Capsule – Dual, 1-inch (25mm) diaphragms
- Pattern Switch – Select from one of the three pick-up patterns:
Omnidirectional, Cardioid, Figure-8 - Recording Select Switch – The slide switch allows you to select the different recording modes:
Mono: Microphone input and instrument input are mixed together and sent to the computer as a mono signal.
2-Track: Microphone input and intsrument input are sent to the computer on separate tracks. - Status Indicator – The three color Power/Clip/Mute LED lights green to indicate power, flashes red when the input signal is clipping, and lights amber when the microphone is muted.
- Mute Button – Mutes the output of the microphone to the computer and headphone output. The Status Indicator will illuminate amber when the microphone is muted.
- MIC – Control to adjust the sensitivity of the internal microphone.
- INSTRUMENT – Control to adjust the input level of the instrument input.
- VOLUME – Control to adjust the overall volume of the 1/8” Headphone output.
- USB Jack – B size USB connector for interfacing with your PC or Mac computer.
- DIRECT MONITOR On/Off Switch
– This switch turns the direct monitor on and off. This switch does not affect the audio from the computer. - Headphone Output – 3.5mm stereo jack for connecting headphones or studio monitors.
The headphone output provides a mix of the direct signal (if enabled) from the microphone and the audio playback from the computer. - IN Jack – 1/4” mono instrument input for connecting instruments in like electric guitar and bass guitar, or line level signal like those from keyboards, drum machines and mixers.

Quick Start
Follow this simple quick start for a typical set-up to start recording.
Using the G-Track Pro with a computer
- Position the G-Track Pro on your desktop by using the included microphone base.
- Set the G-Track Pro’s pattern switch. If you are recording a single person, set the switch to the Cardioid position and be sure to face the front side, with the Samson logo. If recording two people, set the microphone to the Figure-8 position and if recording multiple subjects, set the switch to the Omni position.
- Connect headphones to the Headphone output located on the rear of the microphone.
- Plug the USB cable into the G-Track Pro and plug the other end of the cable into an available USB port on your computer.
- Set the G-Track Pro as the input and output audio device by following the steps in the section “Connecting to a Computer”.
- Launch your recording software.
- Turn down the output VOLUME control on the G-Track Pro and if not already set, select the G-Track Pro as the input and outputs in the software.
- Create two mono audio tracks. Set one track to G-Track Pro Left Input for the microphone input and the other track to G-Track Pro Right Input for the instrument input. Note: Input names may vary depending on software.
- Arm the tracks for recording.
- Set the input levels of the microphone by following the steps in the section “Setting Levels”.
- Set the direct monitor setting by following the steps in the section “Direct Monitor”.
- While singing/speaking or playing your instrument into the G-Track Pro, raise the VOLUME control until the audio output is at a comfortable listening level.
- Press the record button and start creating.
Connecting to a Computer
Using the G-Track Pro with Windows Computers
- Connect the G-Track Pro to the computer using the included USB cable.
- From the Start Menu, open the Control Panel and select Sound.
- Click the Recording tab and select the Samson G-Track Pro as the audio input device.
- Set the Output sample rate by clicking the Properties button and selecting the Advanced tab.
- Set the G-Track Pro as the output device by clicking the Playback tab and selecting the Samson G-Track Pro.
- Set the Input sample rate by clicking the Properties button and selecting the Advanced tab. Note: The Input and Output sample rates must be set to the same setting. To avoid any sample rate conversion issues, make sure that the sample rate in your software is set to the same settings.
Using the G-Track Pro with Apple OSX
- Connect the G-Track Pro to the computer using the included USB cable.
- Open System Preferences from the dock or the main Apple Menu.
- Select the Sound preference icon, choose the Input tab and select Samson G-Track Pro.
- Set the G-Track Pro as the output device by clicking the Output tab and selecting Samson G-Track Pro.
- To set the sample rate, from the Applications folder, open the Utilities folder and open Audio MIDI Setup.
- From the Window menu, select Show Audio Window.
- Select the Samson G-Track Pro
- From the Format dropdown menu, select the desired sample rate and bit depth.
Setting Levels
You can adjust the G-Track Pro’s internal analog input gain stage by using the G-Track Pro’s INSTRUMENT and MIC level control knobs. The purpose of the level, (or gain) controls are to optimize the amount of good signal relative to any associated noise. The G-Track Pro preamp includes a clip indicator to show when the input signal is overdriving or clipping the input.
To set a good level on the mic:
- Set the G-Track Pro up in front of the desired sound source and slowly raise the MIC volume control until you see the CLIP indicator light red.
- Then, turn the MIC volume control down until the indicator no longer lights red.
- Repeat the same process for the instrument. Play your instrument or line level device at a performance level, and slowly turn up the INSTRUMENT volume control until the CLIP indicator lights red.
- Then, turn the INSTRUMENT volume control down until the CLIP indicator no longer lights red.
- Once you set the INSTRUMENT and MIC input level control you shouldn’t need to change them during recording.
- Use the level controls in the computer software to set the balance between the instrument mic and stereo mix from the software.
About Polar Patterns
An important characteristic of any microphone is its directionality or polar pattern.
The G-Track Pro feature dual 1” capsules, allowing for a choice of three individual polar patterns: omnidirectional, unidirectional (cardioid), and bidirectional (figure-8). The microphone pattern can be selected using the three-position slide switch below the left side of the grill. Each pattern has distinct pick-up characteristics with respect to the sensitivity and frequency response to sounds arriving from different directions. The following section discusses some of the features of each pattern, to help you choose the best setting for your application.
Omnidirectional – The omnidirectional setting reproduces sound from all directions, (including offaxis), with an even frequency response, which makes it resistant to the phenomenon known as proximity effect. It captures a greater amount of ambient sound than the other settings, and thus will include more of the room sound than when using a directional setting. The omnidirectional setting is great for recording ensemble performances including group vocals, brass, woodwind, and other instruments with the artists facing each other in a circle around the microphone. To select the omnidirectional pickup pattern, set the pattern selection switch to the right position.

Unidirectional (Cardioid) – The cardioid pickup pattern is the most widely used for studio and live miking applications. It captures sound in front of the microphone and rejects sound from the sides and back, which allows for better separation of instruments in the studio, and picks up more of the instrument sound in relation to the sound of the room.
The separation also allows for more control and more gain before feedback in live sound reinforcement situations. To select the cardioid pickup pattern, set the pattern selection switch to the center position.

Bidirectional (Figure-8) – This setting captures sound directly in front and back of the microphone while rejecting sound on the left and right sides, and has minimal off-axis frequency response deterioration.
It is very useful in a variety of stereo microphone techniques. The figure-8 pattern can be used to simultaneously capture two instruments or vocalists by positioning the microphone directly between them, so one is addressing the front of the microphone and the other the rear. To select the figure-8 pickup pattern, set the pattern selection switch to the left position.

Direct Monitor
The G-Track Pro has a simple, yet sophisticated direct monitor system, which provides zero latency monitoring.
What’s Latency, and what’s Zero Latency, and why do I need it?
Latency is the delay time between record and playback that all computer software has when recording and monitoring simultaneously. Simply stated, when recording, the computer software needs to recognize the input signal, then crunch a bunch of numbers and then send the signal through to the output. Depending on several factors like the speed of your computer, the amount of tracks you’ve recorded, and whether or not you’re using the effects in the software, this can take a few to several milliseconds. A delay of several milliseconds can sometimes make it hard for a musician to play on time. To solve this problem, the G-Track Pro lets you monitor the internal microphone and line inputs directly on the headphones without making the round-trip in and out of the computer. As a result you hear the inputs with no latency.
MONITOR ON/OFF Switch
When listening back to your recording during a mixing session, or if you want to only hear the G-Track Pro’s inputs after it has gone through your computer software effects, you may want to turn the Direct Monitor off. To turn the Direct Monitor off, move the DIRECT MONITOR switch on the rear of the G-Track Pro to the OFF position, you hear only the playback from your computer software, in stereo, with no input signal. To enable the Direct Monitor, set the DIRECTMONITOR switch to the ON position. If you plan to use direct monitoring on the G-Track Pro, disable software monitoring for the armed (input) tracks.
Specifications
- Element Type: Dual back electret condenser
- Diaphragm Width/Thickness: 25mm/3 microns
- Polar Pattern: Cardioid (unidirectional), bidirectional (figure-8), omnidirectional
- Frequency Response: 50Hz–20kHz
- Max Sensitivity : +6dB FS/PA (all polar patterns)
- Max. SPL: 120dB SPL
- Bit Depth/Sample: Rate 16 or 24-bit/ Up to 96kHz
- Digital Output: USB
- Headphone Output/Impedance: 1/8” (3.5mm)/ 16Ω
- Headphone Power Output: 85mW @ 32Ω
- Instrument Input/Impedance: 1/4”/ 1MΩ
- Controls: Mute, Mic/Instrument/Headphone Volumes, Monitor On/Off, Mono/2 Track Recording Modes
- LED: 3-color Power/Clip/Mute
- Body Construction/Grille: Die-cast zinc/heavy gauge mesh
- Accessories: Integrated desktop base, USB cable
- Product Dimensions: 4.5” x 10.5” diameter; (116mm x 268.5mm diameter)
- Product Weight: 3.52lb (1.6kg)
Important Safety Information
Note: This equipment has been tested and found to comply with the limits for a Class B digital device, pursuant to Part 15 of the FCC rules. These limits are designed to provide reasonable protection against harmful interference in a residential installation.
This equipment generates, uses and can radiate radio frequency energy and, if not installed and used in accordance with the instructions, may cause harmful interference to radio communications. However, there is no guarantee that the interference will not occur in a particular installation. If this equipment does cause harmful interference to radio or television reception, which can be determined by turning the equipment off and on, the user is encouraged to try to correct the interference by one or more of the following measures:
- Reorient or relocate the receiving antenna.
- Increase the separation between the equipment and receiver.
- Connect the equipment into an outlet on a circuit different from that of the receiver.
- Consult the dealer or an experienced radio/TV technician for help
WARNING: Listening to music at high volume levels and for extended durations can damage one’s hearing. In order to reduce the risk of damage to hearing, one should lower the volume to a safe, comfortable level, and reduce the amount of time listening at high levels.
Please use the following guidelines established by the Occupational Safety Health Administration (OSHA) on maximum time exposure to sound pressure levels before hearing damage occurs.
- 90 dB SPL at 8 hours
- 95 dB SPL at 4 hours
- 100 dB SPL at 2 hours
- 105 dB SPL at 1 hour
- 110 dB SPL at 1/2 hour
- 115 dB SPL at 15 minutes
- 120 dB SPL – avoid or damage may occur
If you want to dispose this product, do not mix it with general household waste. There is a separate collection system for used electronic products in accordance with legislation that requires proper treatment, recovery and recycling.
Private household in the 28 member states of the EU, in Switzerland and Norway may return their used electronic products free of charge to designated collection facilities or to a retailer (if you purchase a similar new one). For Countries not mentioned above, please contact your local authorities for a correct method of disposal.
By doing so you will ensure that your disposed product undergoes the necessary treatment, recovery and recycling and thus prevent potential negative effects on the environment and human health.


















