SRD77 – Electric Button
Installation Instructions
Please read these instructions carefully prior to commencing the installation of the door.
IMPORTANT SAFETY RULES
This equipment must be installed and used in accordance with these instructions. Failure to follow these instructions could result in damage to the integrity of the safety circuits.
Two persons are required to install this product to ensure safe handling procedures.
CAUTION
Do not wear rings, watches or loose clothing while installing or servicing the unit and ensure correct PPE is worn.
To avoid serious personal injury from entanglement, remove any loose objects from the equipment prior to operating door.
DANGER
Installation and wiring must be in accordance with your local building and electrical regulations.
Any electrical work must be carried out by a suitably qualified person, if in doubt consult a qualified electrician.
Use only the mains lead supplied with the Remote Control Unit as failure to do so will invalidate the warranty. Connect the mains lead to an adjacent 13 amp 3 pin switched socket. The plug must be fitted with a 13 amp fuse.
Note: For optimum electrical safety this unit should be connected to circuit protected by a R.C.D. (max 30 mA trip rating). This unit should not be installed in a damp or wet space or on a damp or single skinned wall without sufficient spacers.
DANGER
Disconnect electric power to the control unit before making repairs or removing covers.
Install the Control Box and/or Switch Control in a location where the garage door is visible, but out of the reach of children. The door must be in direct sight of the control and must not be operated via security or doorbell cameras. Do not allow children to operate push button(s) or remote control(s). Serious personal injury from a closing garage door may result from misuse of the operator.
CAUTION
Activate unit only when the door is in full view, free of obstructions and operator is properly adjusted. No one should enter or leave the garage while the door is in motion. Do not allow children to play near the door.
PRE-INSTALLATION AND COMPONENT CHECK
Always check on delivery that the order details are correct and the door is undamaged, especially before removing any existing doors.
Sequence of Installation & Contents
- Pre-Installation and Component Check
- Installation Options
- Prepare the Guide Rails
- Installation of Box Supports
- Fix Guide Rails
- Install the Axle Assembly
- Fit Emergency Overrides
- Install the Curtain in the Guides (incl curtain adjustment)
- Attach the Curtain
- Set-up the Control Unit (where supplied)
- Set the Motor Limits
- Commissioning
- Technical Assistance
- Notes
Check:
i. Delivery note
ii. Order sheet
iii. Door dimensions / colour
iv. Opening dimensions / clearances
v. Components
vi. Check for any damage to the guide rails or the outside roll of the curtain
Do not proceed further with the installation unless you are sure that the door is the correct size, and all components are present.

WIDTHS
Manufacturing Width = Over Guide Width Drive Through Width = Over Guide Width less 150mm for 75mm guides
HEIGHTS
Manufacturing Height = Guide Height Total Height = Guide Height + End Plate
Headroom/End Plate up to 2.5m Guide Height = 300mm Drive Through Height = Guide Height less 100mm
PRE-INSTALLATION CHECK
Note: In case of power failure a manual override system is fitted as standard but this can only be operated from inside the garage. If the garage has no service entrance door then an exterior release kit must be fitted to allow manual operation of the garage door rom outside.
Before removing the old door check that the door size and colour correspond with that which was ordered.
Structural condition of opening.
i. Ensure the area around the opening is strong enough to support the weight of the door.
ii. The surface where the door is to be fitted must be flush and reasonably smooth. Small irregularities in the brickwork will be acceptable.
iii. No obstacles in fitting footprint eg. no sharp objects, pipes, cables, bumps etc. sticking out from the pillars, lintel or header to twist the guides, distort the fascia or catch on the curtain.
iv. The lintel must not protrude backwards or forwards from the brick piers. Should the lintel protrude backwards or forwards from the brick piers this will require special instructions, please consult your supplier.
v. The floor must be flat/level. If necessary install a sub-frame to ensure secure, flush and level fixing (recommended minimum 70 X 70 PAR). The lintel must not protrude backwards or forwards from the brick piers. Should the lintel protrude backwards or forwards from the brick piers this will require special instructions, please consult your installer.
Fitting Notes
vi. It is recommended that 2 people are available for fitting all door sizes.
vii. The door must be fitted square and level, irrespective of the shape of the opening; on no account should any compensation be made to suit an irregular opening.
viii. Ensure all necessary tools are to hand before starting.
ix. The door package and its contents should be checked for obvious damage before removal of the wrapping.
IF THERE IS ANY DAMAGE YOUR SUPPLIER SHOULD BE CONTACTED IMMEDIATELY.
x. Ensure there is a suitable 13amp 3 pin switched socket adjacent to where the Remote Control Box is to be fitted.
xi. Ensure all tools and door components are gathered together inside the garage prior to starting the installation.
Recommended Tools for Assembly:
- 2 stepladders
- Spirit/laser level
- Tape measure
- Power drill
- 10mm A/F spanner
- Slot screwdriver
- Pozidrive screwdriver
- 3.5mm drill bit
- 7.0mm drill bit
- 11.0mm drill bit
- 3mm A/F Allen key
- 4mm A/F Allen key
- Hacksaw
- Suitable wall plugs (not supplied)
- Suitable fixings (not supplied)
COMPONENT CHECK

| 01. Control Unit (where supplied) * 02. Motor (fitted into axle) 03. 70mm Octagonal Axle 04. 2 to 6 Pairs of Rings for Auto Lock Collars (fitted on a05. Safety Brake 06. R/H End Plate 07. 2 to 6 Autolock Straps (3 elements) * 08. 2 to 6 No.8 x 1/2” Pozi Pan Screws * | 09. L/H End Plate 10. Guide Rails (UPH 75) 75mm or (UPH 250) 90mfitted with Brush Insert 11. Curtain 12. End Locks (fitted to curtain) 13. Bottom Slat (fitted to curtain) 14. Rubber Seal (fitted to bottom slat) | 15. Override Eye * 16. 6 No. M8 X 21mm Penny Washers * 17. 10 No. 4mm X 8mm Rivets * (for securing endlocks) 18. Crank Handle Clip * 19. Crank Handle * 20. Optional Half Box 21. Optional Full Box Cover 22. Optional Box Supports *Supplied in Accessory Box |
Recommended Fixings (not supplied) 12 x 1” Self Tapping Screws for Steel 12 x 2 1⁄2” Countersunk Screws for Masonry and Wood
Guides, axle assembly and the crank handle will be wrapped together in one bubble wrapped parcel and strapped together. The curtain is individually packed. A separate accessories box is packed with the installation and end user instructions, the attachment/locking arms, the accessory pack and a box containing the electrical items.
INSTALLATION OPTIONS

PREPARE THE GUIDE RAILS
If the guides require cutting down refer to the ‘Widths and Heights’ information on page 2. If face fixing where possible set the guide height at least 110mm above the structural opening height to maximise drive through height.
If you need to reduce the length of the guide rails you must cut from the bottom of the guide rails.

i. Position guides
ii. Drill a minimum of 4 guide fixing holes, with a 7mm pilot hole and 13mm outer hole. Position the first hole position 250mm from the top of the guide and the second hole 250mm from the bottom of the guide. Equally space out the remaining holes with a maximum gap of 500mm between each fixing. Avoid mortar joints and edges of bricks etc.

Note: Guides are handed. Please take note of the orientation of the guides. If cutting guides cut excess length from bottom of guide.
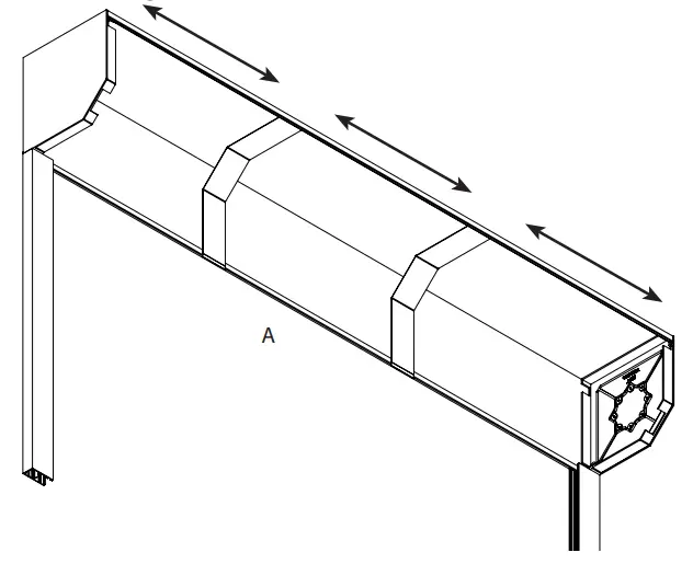
INSTALLATION OF BOX SUPPORTS – OPTIONAL EXTRA FOR HALF BOX OR FULL BOX
Where supplied, the box supports need to be riveted to the fascia to hold them in place.
i. First fix the fascia in place then position the box supports within the fascia with equal distances between each support (see Drawing A).
ii. Drill a hole with a 4.2mm drill bit through each box support and the fascia.
iii. Fasten the box support to the fascia using a 4 x 8 rivet.
Note: Ensure that both ends of each box support are positioned within the lip of the fascia (see Drawing B).
FIX GUIDE RAILS
Note: Before positioning check that there are no sharp objects or bumps sticking out from the pillars, lintel or header to twist the guides or that will catch the door during operation.
If in doubt pack the guides and end plates out by at least 10mm.
- Slot end plate lugs into guides (see Drawing A) remembering the guides are handed
- Position guides and end plates against opening
- Hold or prop securely the assembly in position
- Drill fixing holes (min 4 in guides and 2 in each end plate) -see 4.ii
- Fix guides/end plates with minimum No. 12 x 21⁄2” countersunk screws (and plugs) to masonry/timber or 12 x 1” self tapping screws to steel.
Note: If end plates are fitted within the reveal, the side of the end plates must be fitted to the structure with at least 2 fixing points.
Ensure that fixing heads are clear of the curtain operation to prevent damage when the door is in use.
Check:
- Back faces of guides and end plates are flush and untwisted (see Drawing B)
- Guides are vertical/parallel/same height
Note: Extreme care should be taken while manoeuvring the door into place to avoid the possibility of snapping the end plate lugs. It is imperative that fixings are put through the end plates into the wall as the aluminium lugs are not designed to carry the weight of the door.

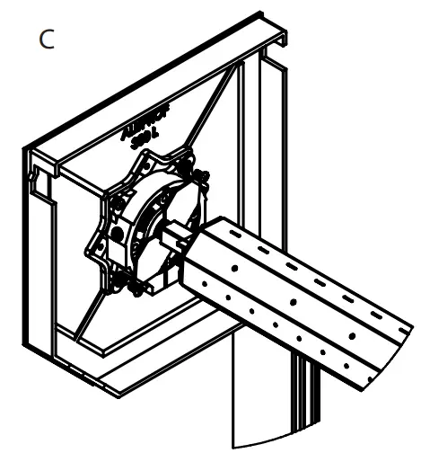
INSTALL THE AXLE ASSEMBLY
Dummy End
- For doors supplied with a dummy end only, fix the bra(A) to the end plate using the screws provided in the accessories kit.
Ensure that the open end of the bracket cup is facing towards the top of the end plate (B). - Locate the dummy end in to the bracket fitted to the end plate (B).

If the dummy end appears to be too short, loosen the grub screw and extend the dummy end to the required length, then tighten the grub screw. - Fold the top tabs on the bracket round the bearing to secure the bearing.
- Insert the motor end of the axle into the opposite end plate.
INSTALL THE AXLE ASSEMBLY (CONTINUED)
Anti-Fall Back Device
Note: The rivet securing the dummy end into the axle is use for transport purposes only and MUST be removed before installing the axle.
- Remove the retaining plate from the pre-built end plate (see Drawing A). If retaining plate is not on the endplate, check your accessories box.

- Loosen the safety collar on the dummy end shaft and extend the shaft fully into the safety brake (see Drawing B).

- Attach the motor side of the axle to the opposite end plate.
- Re-install the retaining plate over the safety brake and onto the end plate (see Drawing C). Ensure the retaining plate sits inside the shaft groove to prevent movement.

- Fix the reaining plate securely to the end plate using the preexisting fixings supplied or spare fixings from the accessories kit. Detail 3:
- Slide the safety collar tight up to the dummy end and tighten.
IMPORTANT INFORMATION: In the event that the door fails and the safety brake is triggered to prevent the door from falling, the safety brake MUST BE REPLACED with a like-for-like brake. This includes activation of the interlock switch OR turning of the inner dial.
Fix the Motor End of the Axle
- Fasten the motor end of the axle, using the bracket suppliedto the other end plate using the screws provided and the prepared tapped holes in the end plate.

- Ensure that the motor limits are facing down and that the override hole is towards the chamfered front end of the end plate.
- Ensure the motor power lead is securely fastened to the end plate and away from the curtain. – (see Drawing D).
- You must ensure that you allow for a drip loop in the motor cable to prevent water from running down the cable and into the motor. Cable ties can be attached to the motor cable to act as drip loop to prevent water entering the motor.

FIT EMERGENCY OVERRIDES
The motor limits are accessible from two sides. This enables the motor to always be fitted to the end plate so that limits are facing down and so that the override is towards the front of the end plate.
Possible Override Exit Options

- Drill hole for override eye through end plate flange
- Remove the screw and the upper collar
- Insert override eye in hole in motor adjacent to limit adjusters
- Locate and tighten the upper and lower collars around the motor
- Insert and tighten the holding screw and washer from above
- Hook crank handle in eye
- Secure clear of shutter with crank handle clip
On a left hand door the motor cable will exit the motor vertically down.
On a right hand door the motor cable will exit the motor vertically up. You must ensure that you include a drip loop to prevent water from entering the motor.
This will ensure that you do not have to cut down the roller plate to enable the override eye to be fitted.
Screw
INSTALL THE CURTAIN IN THE GUIDES
- Check there are at least 2 pairs of autolock collars on the axle. They should all be fitted onto the axle in the same position (see Drawing A). One collar from the pair will have restricted movement due to fixing in the axle, this will be the positioning of the straps.

SAFETY NOTE: A minimum two people are required for this procedure to ensure safe handling. - Carefully unwrap and remove the outer bubble wrap protection and place over the axle to stop damage to inside of curtain during installation.
- Using minimum 2 people, carefully lift the curtain assembly up level with the axle. Practice has shown that it is best to place one hand on the axle, keeping that arm straight, and support the curtain roll on that shoulder (see Drawing B).
- Feed the bottom lath over the top of the axle and down between the guide rails taking care not to scuff the curtain assembly. Proceed until half of the curtain has been fed over the axle.
- Carefully unroll the remaining curtain until it is balanced over the axle (see Drawing C).
- Slide the autolock straps onto the top slat, ensuring they are equally spaced with more than 800mm between each one.
- With 1 person positioned at the top of the door and one person positioned at the bottom, carefully feed the curtain into the guide until the curtain is reaches the floor.
Note: Do not let the curtain ‘free fall’ over the axle as this will result in damage to the curtain and/or the safety edge transmitter.

Note: The door is manufactured with the curtain height to suit the length of guide supplied. The door will not lock down properly if the curtain is either too tall or too short. If the guide height has been adjusted on site, check that the top of the curtain is between 1/2 to 11/2 slats above the top of the guide (see Drawings
D). If the curtain is too tall, remove slat(s) following the steps below. If too short notify the supplier.
Curtain Adjustment (also used for repairs)
i. To remove slat(s), first remove the curtain from the guides by carefully raising the curtain until half of the curtain has been fed over the axle. Carefully balance the curtain on the axle.
ii. Remove the attachment straps.
iii. Carefully remove the staples from the end lock and remove the end lock (see Drawing E) before sliding out the slat (see Drawing F). Preferably remove slats from the top of the curtain to save having to remove and refit the bottom slat.
iii. If replacing damaged slats as part of a repair, slide in the new slat(s).
iv. Re-secure the endlock(s) with 2 No. 4mm x 8mm rivets supplied (see Drawing G).
v. Re-install the curtain by repeating steps ii to vii above.
ATTACH THE CURTAIN
- Use the motor override or a test lead to rotate the axle until the locking joint attachment holes are positioned as shown in Drawing A.

Note: One collar from each pair will pre-fixed into the axle, this will be the positioning of the straps. - Attach the autolock strap pins into each of the collars on the axle, ensuring they are pushed up to the collar that is fixed into the axle.
Note: You must ensure the strap pins are fully engaged into the collars on the axle before fixing the second collar in place to prevent the product failing (see Drawing B).
- Slide the loose collars to engage the other end of the strap pins and use the No.8 x 1/2” pozi pan screws supplied to fix the loose collars to the axle (see Drawing C).

Note: It is recommended to drill 4mm pilot holes before fixing the screws. Take care not to damage the motor inside the axle. - Use the motor override or a test lead to raise the door slightly. Check that the semi-circular curtain attachment strap coils up flush with the collars (see Drawing D).

ET-UP THE CONTROL UNIT (WHERE SUPPLIED)
Control unit set up instructions are provided in the control panel accessory box along with the control unit and you can also access them digitally using this QR code or link:
www.alluguard.co.uk/downloads

http://www.alluguard.co.uk/downloads
Both the up and down limits require setting.
Note: Incorrect setting of the limits risks damage to the motor, curtain and attachment devices.
Important: When the door is fully closed, the autolock strap should be positioned with a slight bend which locks the collar out (see Drawings A, B & C).

ALLUDRIVE MOTOR
Which limit is up and which limit is down?
The up and down limit is determined using the direction arrows next to the limit adjusters and the direction of axle rotation to either close or open the door.

Closed/Down Limit Setting
- Carefully close the door using either a motor test lead or the control unit so that the curtain is fully down and the top slat ipushed forward.
- Use the limit adjusting tool to adjust the down limit of the door until the motor stops in the correct position.
• Turn the down limit in the ‘+’ direction to increase the travel of the door.
• Turn the down limit in the ‘–’ direction to reduce the travel of the door.
Check the Limit Positions
- Run the motor in both directions until the limit switches cut out the motor travel.
- Carry out any fine adjustments. One turn of the adjustment screw corresponds to approximately 70° turn of the axle.
- In order that the locking joints operate effectively, the position of the shaft in the closed position needs to be finely adjusted.
- Do not adjust past this position as this will impose excessive loads on the mechanism.
- This motor is fitted with a thermal trip; this stops the motor from overheating.
- Be aware that excessive running of the door may cause the thermal trip to operate, if this happens; please wait 20 minutes before trying to operate the door again.

Open/Up Limit Setting
iii. Carefully open the door using either a motor test lead or the control unit so that the curtain is fully open.
iv. Use the limit adjusting tool to adjust the up limit of the door until the motor stops in the correct position.
- Turn the up limit in the ‘+’ direction to increase the travel of the door.
- Turn the up limit in the ‘–’ direction to reduce the travel of the door.
Note: Do not use a drill to adjust the limits.

SOMFY MOTOR
![]()
Checking the Direction of Rotation of the Motor
- Press simultaneously on the ^ and v buttons until the motors up and down movement occurs to enter motor adjustment mode. Indicator light 1 flashes slowly.
- Press button ^ or v to check the motor’s direction of rotation.
If the motor’s direction of rotation is correct, move on to step iii.
If the direction of rotation is is incorrect, press the stop button until the motors up and down movement occurs, check the motor’s direction of rotation again and move on to step iii of the motor end limit setting procedure. - If the motor end limits are already set, move on to step
- to exit motor adjustment mode.
If the motor end limits are not set, check that the motor is released: the two push-buttons should be pressed.
Note: The motor end limits can also be set with a setting tool. In this case, set the motor end limits with the cable then move on to step viii to exit motor adjustment mode. - Press ^ button to position the garage door in the upper position.
Adjust the upper position with buttons ^ and v.
- Press the motor’s upper end limit push-button.
- Press v button to position the garage door in the lower position.
Adjust the low position with buttons ^ and v. - Press the motor’s low end limit push-button.
- Press simultaneously on the ^ and v buttons or press the (prog) button until the motor’s up and down movement occurs to exit motor adjustment mode. Indicator light 1 goes out.
COMMISSIONING
Final Checks
- Remove any protective plastic coverings.
- Wipe curtain & guides with damp cloth.
- Touch-up any small scratches.
- Check all electrical & operating equipment is installed and functioning correctly (especially the safety edge) and complete UKCA marking label and paperwork.
- Check direction handle needs winding to open door and fit appropriate label supplied to crank handle.
N.B. Check the front of the curtain to make sure that it is not rubbing on the lintel.
The manual override will not function after the door is operated by remote control, until the power to the motor has ‘timed out’.
This will take a few moments to occur.
If you wish to demonstrate the manual override immediately after opening the door press either the stop button on the handset or simulate a power cut by switching off the power to the Control Unit.
Upon completion it is your responsibility to train the customer how to operate the door correctly and safely and provide them with the operating and maintenance instructions supplied.
TECHNICAL ASSISTANCE
If you require any on site technical assistance including repair or maintenance queries please call 01524 772400 or email [email protected].
Control unit set up instructions are provided in the accessory box and you can also access them digitally using this QR code or link:
www.alluguard.co.uk/downloads
MK3001RP April 2023 R1

NOTES
MK3001RP April 2023 R1
















