Q2U Recording Podcasting Pack
USB/XlR Dynamic Microphone with Accessories
Owner’s Manual

Introduction
Congratulations on your purchase of the Q2U Recording and Podcasting Pack from Samson! The Q2U combines the convenience of digital and analog audio capture into one microphone. With XLR and USB outputs, the Q2U easily fits into your home studio and mobile recording, as well as a stage performance. The pack includes a desktop tripod stand, mic clip, foam windscreen, XLR cable, and USB cable…everything you need to start recording right out of the box. For recording music, podcasts, house of worship services, meetings, or conferences, the Q2U is the perfect solution for recording quality digital audio on your computer or sound reinforcement. Just plugin and start creating!
Features
- Dynamic Microphone with USB digital output and standard XLR analog output.
- Full range, the linear frequency response for accurate sound reproduction.
- A Unidirectional, pick-up pattern picks up the sound in front of the microphone and minimizes ambient and background noise.
- Compatible with most any Mac or PC recording software
- Onboard headphone amplifier with level control for zero-latency monitoring, plus you can use the output to connect active studio monitors.
- Computer-controlled analog Input Gain makes it easy to set the proper level and get a clean signal.
- A desktop tripod stand, tripod extension, mic clip, foam windscreen, 10’ USB cable, and 10’ XLR cable are included to easily set up the microphone right out of the box.
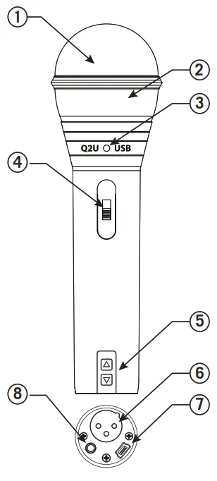
Q2U Layout

- Windscreen – Dual-stage grille protects the capsule and helps reduce wind noise and p-popping.
- Capsule – Internally shock-mounted dynamic microphone element with a cardioid pick-up pattern.
- LED – The dual color Power/Clip LED lights green to indicate power, and flashes red when the input mic is overloaded or clipping.
- ON/OFF switch – Used to turn the microphone USB and XLR outputs on or off.
- Output Level control – Up and Down buttons control the headphone output volume.
- XLR connector – Standard Male XLR connector with analog output for connecting to a standard microphone preamp.
- USB – Mini-B size USB connector for interfacing with your PC or Mac computer.
- Headphone Output – 3.5mm stereo jack for connecting headphones or studio monitors. The headphone output provides a mix of the direct signal from the microphone and the audio playback from the computer.
Getting Started – Connecting to a Computer
Using the Q2U with a computer is a simple procedure that takes just a few minutes. Simply connect the included USB cable to an available USB port on your computer and begin recording.
Using the Q2U with Windows Computers
- From the Start Menu, open the Control Panel and select Sound. Under the Playback and Recording tabs, select the Samson Q2U as the audio device.
- To adjust the gain of the microphone, click the Properties button, and then select the Levels tab. You can view the volume level as either a percentage or in dB, by right-clicking on the number box.
- If the microphone LED is lighting red, turn this control down until the LED no longer flashes red.
- In the Playback tab, select the Level tab and set the computer’s Master Volume to 100%. Use the Q2U’s Output Level buttons to control the overall output from the headphones or speaker.
- To adjust the direct monitoring level in the Playback tab by moving the fader labeled Microphone.
Using the Q2U with Apple OSX
- Open System Preferences from the dock or the main Apple Menu.
- Select the Sound preference icon, choose the Input tab, and select Q2U.
- Set the gain of the Q2U by adjusting the Input volume slider at the bottom of the Sound dialog box.
- Set the Q2U as playback volume by clicking the Output tab and select Q2U, adjust the Output volume slider at the bottom of the Sound dialog box to the maximum setting and use the Q2U’s front panel Volume knob to control the overall output from the headphones or speakers.
- To turn direct monitoring on or off, open the Audio/MIDI Setup utility located in the Utility folder inside the Applications folder. Then click the check-box in the Thru column in Audio/MIDI Setup.
Quick Start
Follow this simple quick start for a typical set-up to start recording.
Using the Q2U with a computer
- Unpack the Q2U, and position the microphone on the desktop stand.
- Set the Q2U’s ON/OFF switch to the “ON” position and point the end of the microphone towards the performer.
- Connect headphones to the Headphone output located on the bottom of the microphone.
- Plug the mini-B (small) end of the USB cable into the Q2U and plug the other end of the cable into an available USB port on your computer.
- Launch your recording software, turn down the main output level, and select the Q2U for the input and outputs.
- Set up a mono record track in your software.
- Set the level of the microphone following the instructions in “Getting Started – Connecting to a Computer”
- Set the level of your headphones to a comfortable listening level by using the Up and Down Output Level Control buttons.
- Press the record button and start creating.
Microphone Placement
In order to maximize the quality of your recordings, you should pay careful attention to the placement and positioning of the Q2U for the instrument or vocalist that you are making. The Q2U is a unidirectional microphone with a cardioid pickup pattern. Cardioid microphones, exhibit a phenomenon known as the proximity effect. The proximity effect is a resulting change in the frequency response of a microphone based on the position of the mic capsule relative to the sound source. In general, as the microphone moves closer to the sound source, the bass response increases.
You can also make subtle changes to the frequency response by making minor adjustments to the position. Specifically, when you point a cardioid mic directly at the sound source (on-axis) you will get the best frequency response, however, when you start pointing the microphone slightly away (off-axis) you will notice the high-frequency response dropping off and the microphone will start to sound like it has more bass and fewer highs.
For most vocal applications you’ll want to position the microphone directly in front of the artist about 4 to 18 inches. This will pick up the voice while minimizing unwanted background or ambient noise. If you are close-miking vocals, and notice plosive sounds, like p-pops, caused by plosive consonants set the microphone to a slight angle to reduce p-popping. Slight changes to the angle of the microphone in reference to the sound source can make some pretty amazing equalization adjustments. This can be a very useful technique in capturing the optimum sound of the drum set, acoustic guitar, piano, or other instruments in a live room or sound stage. Experimentation and experience are the best teachers in getting good sounds, so plugin and start creating!
Using the Q2U with a mixer
Using the XLR Output you can connect the Q2U to a standard PA mixer for live sound applications or when recording through an audio interface.
Connect the included XLR cable to your mixer
Set the ON/OFF switch to the “ON” position.
Follow the manufacturer’s instructions for setting the microphone level of the mixer or audio interface.
P-Popping
Sometimes when recording vocals certain plosive consonants (like hard “P” and “B” sounds) overload the input of the microphone which causes clipping and adds distortion to your recording. These are some of the worst sounds that can make their way into your recording. Once recorded, they are almost impossible to remove and can be very distracting to your listener. In addition to the dual-stage grill, the Q2U includes a large foam windscreen which reduces the effect of the blasts of air from vocalists when pronouncing words that include these hard consonant sounds. The pop filter also helps to protect the microphone element from moisture.
Stand Mounting
The Q2U includes a tripod desktop microphone stand. The desktop stand includes an extension piece. This allows you to raise the height of the microphone towards the performer’s mouth. Additionally, the Q2U can be mounted to any standard microphone stand using the included mic clip. Simply screw the Q2U mic clip onto your mic stand or boom arm and adjust the microphone to the desired angle.
Polar Pattern & Frequency Response
Two characteristics of a microphone are its polar pattern and frequency response. The polar pattern describes the directionality of the microphone and the frequency response is a graphical representation of how the microphone reacts to different frequencies.

The Q2U is a unidirectional microphone that captures sound in front of the microphone and rejects sound from the sides and back. This allows for better separation of performers or instruments in the studio and picks up more of the performer’s sound in relation to the sound of the room. For information on the microphone, technique visit samsontech.com. 270°

Specifications
| Element Type | Dynamic |
| Polar pattern | Cardioid |
| Frequency Response | 50Hz – 15 kHz |
| Power Requirements | 5V DC USB Power |
| Controls | On/Off Switch, Headphone Volume |
| Output Connectors | Mini-B USB, XLR, 3.5mm TRS Stereo Headphone |
| Sample Rate | 44.1/48kHz |
| Bit Rate | 16bit |
| Sensitivity | -54 dBV/Pa |
| Max SPL | 148 dB SPL |
| Headphone Output Power | 10mW @ 16 ohms |
| Included Accessories | USB cable, XLR cable, tripod stand, tripod extension, microphone clip, foam windscreen |
| Weight | 11.2oz / 317.5g |
| Dimensions | 7.5 ” x 2.2 ” (diameter) / 190 mm x 55 mm (diameter) |
At Samson, we are continually improving our products, therefore specifications and images are subject to change without notice.
Important Safety Information
Note: This equipment has been tested and found to comply with the limits for a Class B digital device, pursuant to Part 15 of the FCC rules. These limits are designed to provide reasonable protection against harmful interference in a residential installation. This equipment generates, uses, and can radiate radio frequency energy and, if not installed and used in accordance with the instructions, may cause harmful interference to radio communications. However, there is no guarantee that the interference will not occur in a particular installation. If this equipment does cause harmful interference to radio or television reception, which can be determined by turning the equipment off and on, the user is encouraged to try to correct the interference by one or more of the following measures:
- Reorient or relocate the receiving antenna.
- Increase the separation between the equipment and receiver.
- Connect the equipment into an outlet on a circuit different from that of the receiver.
- Consult the dealer or an experienced radio/TV technician for help
WARNING: Listening to music at high volume levels and for extended durations can damage one’s hearing. In order to reduce the risk of damage to hearing, one should lower the volume to a safe, comfortable level, and reduce the amount of time listening to high levels. Please use the following guidelines established by the Occupational Safety Health Administration (OSHA) on maximum time exposure to sound pressure levels before hearing damage occurs.
- 90 dB SPL at 8 hours
- 95 dB SPL at 4 hours 100 dB SPL at 2 hours
- 105 dB SPL at 1 hour 110 dB SPL at 1/2 hour
- 115 dB SPL at 15 minutes
- 120 dB SPL – avoid or damage may occur
If you want to dispose of this product, do not mix it with general household waste. There is a separate collection system for used electronic products in accordance with legislation that requires proper treatment, recovery, and recycling. Private household in the 28 member states of the EU, in Switzerland and Norway may return their used electronic products free of charge to designated collection facilities or to a retailer (if you purchase a similar new one). For Countries not mentioned above, please contact your local authorities for a correct method of disposal.
By doing so you will ensure that your disposed product undergoes the necessary treatment, recovery, and recycling and thus prevent potential negative effects on the environment and human health.
Samson Technologies Corp.
Copyright 2018
278-B Duffy Ave
Hicksville, New York 11801
Phone: 1-800-3-SAMSON (1-800-372-6766)
Fax: 631-784-2201
www.samsontech.com
v6




















