
XPDm Digital Wireless System
Owner’s Manual
Important Safety Information

ATTENTION
CAUTION: TO REDUCE THE RISK OF ELECTRIC SHOCK, DO NOT REMOVE COVER (OR BACK). NO USER-SERVICEABLE PARTS INSIDE. REFER SERVICING TO QUALIFIED SERVICE PERSONNEL.
This lightning flash with arrowhead symbol within an equilateral triangle is intended to alert the user to the presence of non-insulated “dangerous voltage” within the product’s enclosure that may be of sufficient magnitude to constitute a risk of electric shock.
The exclamation point within an equilateral triangle is intended to alert the user to the presence of important operating and maintenance instructions in the literature accompanying the appliance.
WARNING
TO PREVENT FIRE OR SHOCK HAZARD. DO NOT USE THIS PLUG WITH AN EXTENSION CORD, RECEPTACLE OR OTHER OUTLET UNLESS THE BLADES CAN BE FULLY INSERTED TO PREVENT BLADE EXPOSURE. TO PREVENT FIRE OR SHOCK HAZARD. DO NOT EXPOSE THIS APPLIANCE TO RAIN OR MOISTURE. TO PREVENT ELECTRICAL SHOCK, MATCH WIDE BLADE PLUG TO WIDE SLOT AND FULLY INSERT.
If you want to dispose this product, do not mix it with general household waste. There is a separate collection system for used electronic products in accordance with legislation that requires proper treatment, recovery and recycling.
Private households in the 28 member states of the EU, in Switzerland and Norway may return their used electronic products free of charge to designated collection facilities or to a retailer (if you purchase a similar new one). For Countries not mentioned above, please contact your local authorities for a correct method of disposal.
By doing so you will ensure that your disposed product undergoes the necessary treatment, recovery and recycling and thus prevent potential negative effects on the environment and human health.
Copyright 2020, Samson Technologies Corp. v1.1
Samson Technologies Corp.
278-B Duffy Ave Hicksville, NY 11801
www.samsontech.com
- Read these instructions.
- Keep these instructions.
- Heed all warnings.
- Follow all instructions.
- Do not use this apparatus near water.
- Clean only with dry cloth.
- Do not block any ventilation openings. Install in accordance with the manufacturer’s instructions.
- Do not install near any heat sources such as radiators, heat registers, stoves, or other apparatus (including amplifiers) that produce heat.
- Do not defeat the safety purpose of the polarized or grounding type plug. A polarized plug has two blades with one wider than the other. A grounding type plug has two blades and a third grounding prong. The wide blade or the third prong are provided for your safety. If the provided plug does not fit into your outlet, consult an electrician for replacement of the obsolete outlet.
- Protect the power cord from being walked on or pinched particularly at the plugs, convenience receptacles, and at the point where they exit from the apparatus.
- Only use attachments/accessories specified by the manufacturer.
- Use only with the cart, stand, tripod, bracket, or table specified by the manufacturer, or sold with the apparatus. When a cart is used, use caution when moving the cart/apparatus combination to avoid injury from tip-over.
- Unplug the apparatus during lightning storms, or when unused for long periods of time.
- Refer all servicing to qualified personnel. Service is required when the apparatus has been damaged in any way, such as power supply cord or plug is damaged, liquid has been spilled or objects have fallen into the apparatus, has been exposed to rain or moisture, does not operate normally, or has been dropped.
- This appliance shall not be exposed to dripping or splashing water and no object filled with liquid such as vases shall be placed on the apparatus.
- Caution-to prevent electrical shock, match wide blade plug wide slot fully insert.
- Please keep a good ventilation environment around the entire unit.
- The direct plug-in adapter is used as disconnect device, the disconnect device shall remain readily operable.
- Batteries (battery pack or batteries installed) shall not be exposed to excessive heat such as sunshine, fire or the like.

FCC Notice
- This device complies with Part 15 of the FCC Rules. Operation is subject to the following two conditions:
(1) This device may not cause harmful interference.
(2) This device must accept any interference received, including interference that may cause undesired operation. - Changes or modifications not expressly approved by the party responsible for compliance could void the user’s authority to operate the equipment.
FCC Statement
This equipment has been tested and found to comply with the limits for a Class B digital device, pursuant to Part 15 of the FCC Rules. These limits are designed to provide reasonable protection against harmful interference in a residential installation.
This equipment generates, uses, and can radiate radio frequency energy and, if not installed and used in accordance with the instructions, may cause harmful interference to radio communications. However, there is no guarantee that interference will not occur in a particular installation. If this equipment does cause harmful interference to radio or television reception, which can be determined by turning the equipment off and on, the user is encouraged to try to correct the interference by one or more of the following measures:
- Reorient or relocate the receiving antenna.
- Increase the separation between the equipment and receiver.
- Connect the equipment into an outlet on a circuit different from that to which the receiver is connected.
- Consult the dealer or an experienced radio/TV technician for help.
RF Exposure Statement (SAR)
This device is designed and manufactured not to exceed the emission limits for exposure to radio frequency (RF) energy set by the Federal Communications Commission of the U.S. Government.
Hereby, Samson Technologies Corp., declares that this XPDm Digital Wireless System is in compliance with the essential requirements and other relevant provisions of Directive 2014/53/EU. The declaration of conformity may be consulted at: XPDm_DOC [PDF]![]()
Introduction
Congratulations on purchasing the Samson XPDm Digital Wireless System.
The XPDm Digital Wireless System, available in Handheld, Lavalier, and Headset configurations, operates in the license free 2.4GHz frequency range.This system is a unique wireless microphone solution that is ideal for presenters, fitness instructors, educators, interviewers and more.
The RXD1M tabletop receiver is compact enough to fit in any carry bag and includes XLR, 1/4″, and 1/8″ outputs for easy connection to mixers and PA systems. Onetouch pairing allows for straight forward connection between transmitter and receiver. Samson’s XPDm Digital Wireless Systems have a range of 100′ and offer up to 20 hours of operation using two AA batteries.
In these pages, you’ll find a detailed description of the features of the XPDm Digital Wireless System, instructions for its setup and use, and specifications. If your wireless system was purchased in the United States, you’ll also find a registration card enclosed–don’t forget to follow the instructions so that you can receive technical support and so that we can send you updated information about this and other Samson products in the future. Also, be sure to check out our website (www. samsontech.com) for complete information about our full product line.
We recommend you keep the following records for reference, as well as a copy of your sales receipt.
Transmitter & Receiver Serial number: _________________________________
Date of purchase: ___________________________________________________
If you have any questions or comments regarding the XPDm Digital Wireless Microphone System or any other products from Samson, do not hesitate to contact us at [email protected].
With proper care and maintenance, your XPDm Digital Wireless System will operate troublefree for many years. Should your XPDm Digital Wireless System ever require servicing, a Return Authorization (RA) number must be obtained before shipping your unit to Samson. Without this number, the unit will not be accepted. Please visit www.samsontech.com/ra for an RA number prior to shipping your unit. Please retain the original packing materials and, if possible, return the unit in its original carton. If your XPDm Digital Wireless System was purchased outside of the United States, contact your local distributor for warranty details and service information.
RXD1M Receiver Features
- VOLUME/Power Control – This rotary knob controls the level of the receiver output and powers the RXD1m on and off. Turn clockwise to power on and counterclockwise to power off. The light ring around the VOLUME/Power Control will illuminate white when powered on.
- PAIR button – Press and hold for more than three seconds to enter pairing mode, the READY LED will begin flashing. NOTE – the system is paired at the factory prior to shipment.
- READY Indicator – This LED displays the operation mode. Solid AMBER means normal operation, flashing AMBER means pairing, no light means not paired or that the transmitter is either out of range or powered off.

RXD1m Receiver Features Rear Panel
- DC Input – Connect the suplied adapter here. WARNING: Do not substitute any other kind of power adapter. Doing so can cause severe damage to your RXD1m and void your warranty.
- Unbalanced Outputs – Use these unbalanced 1/4″ and 1/8″ jacks when connecting the RXD1m to consumer (-10 dBV) audio equipment. Wiring is as follows: tip hot, sleeve ground
- Balanced Output – Use this electronically balanced low impedance (600 Ohm) XLR jack when connecting the RXD1m to professional (+4 dBu) audio equipment. Pin wiring is as follows: Pin 1 ground, Pin 2 high (hot), and Pin 3 low (cold)
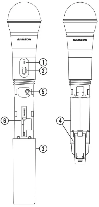
HXD1 Handheld Transmitter Callouts
- Status Indicator – This LED displays the operation mode. Amber: Normal Operation Flashing Amber: Pairing / Low Battery
- Power/Pair Switch – Press <5 seconds to turn the unit on or off. Press >5 seconds to enter pairing mode.
- Battery Cover – Unscrew the battery cover and slide down to open the HXD1 Handheld battery compartment.
- Battery Holder – Open the battery holder by pressing the tab and lifting the cover. Insert two standard AA (LR6) batteries here, being sure to observe the plus and minus polarity markings shown.
WARNING: Do not insert the batteries backwards; doing so can cause severe damage to the transmitter and will void your warranty. - Input GAIN Control – This control adjusts the transmitter input sensitivity. This input sensitivity control has been factory preset to provide optimum level for the particular microphone capsule provided with the XPDm system and so we recommend that this not be adjusted manually. If necessary, however, you can use the supplied screwdriver to raise or lower the input level.
- Screwdriver – Used to adjust the input GAIN control.

PXD1 Beltpack Transmitter Callouts
- Input Connector – Connect the input device via this mini-XLR input jack. The PXD1 is supplied with either a lavalier or headset microphone that is wired to a P3 connector.
- Status Indicator – This LED displays the operation mode. Amber: Normal Operation Flashing Amber: Pairing / Low Battery
- Power/Pair Switch – Press <5 seconds to turn the unit on or off. Press >5 seconds to enter pairing mode.
- Input GAIN Control – This control adjusts the transmitter input sensitivity.
- Battery Holder – Open the battery holder by pressing the tab and lifting the cover. Insert two standard AA (LR6) batteries here, being sure to observe the plus and minus polarity markings shown.
WARNING: Do not insert the batteries backwards; doing so can cause severe damage to the transmitter and will void your warranty. - Screwdriver – Used to adjust the input GAIN control.

Quickstart
In order for the XPDm Digital Wireless System to work correctly, both the RXD1m receiver and HXD1 handheld or PXD1 beltpack transmitter must be paired together. (NOTE: The XPDm Digital Wireless System will come paired from the factory).
Follow this basic procedure for setting up and using your XPDm Digital Wireless System:
- Physically place the RXD1m receiver where it will be used. We suggest you keep receiver and transmitter within line of sight for optimal performance, meaning the performer using or wearing the transmitter can see the receiver.
- Connect the included power adapter to the RXD1m receiver before turning the power on. Turn the RXD1m on momentarily to confirm that it is receiving power, then turn it off (figure 1).

- With your amplifier or mixer powered off and volume control down connect the RXD1m receiver output jack to the mic or line input using the balanced XLR output, unbalanced 1/4″ or 1/8″ output jacks. Turn the RXD1m power on but keep the volume at minimum level (figure 2).

- Place a fresh set of AA (LR6) batteries in the transmitter’s battery compartment being sure to observe polarity markings (figure 3).

- If the receiver and transmitter have not been previously paired press and hold the pair button on the RXD1m receiver for >3 seconds until the LED begins to flash (amber). Press and continue to hold the power button on the transmitter until the LED indicators on both units light steadily indicating that the receiver and transmitter are paired and ready for operation.(figure 4)

- Turn on the connected amplifier or mixer but leave the PA system’s volume at the minimum level. Turn the volume control of your RXD1m fully clockwise, this is unity gain. Speak or sing into the microphone at a normal performance level while turning up the PA system’s volume control until you reach the desired output level.
- NOTE: Only two XPDm systems can be used within close proximity to each other.
Troubleshooting
| Issue | Solutions |
| No Audio | Make sure that the transmitter and receiver are both powered on. |
| Ensure the transmitter’s batteries are installed correctly. | |
| Check that the transmitter is not muted. | |
| Confirm that the RXD1m adapter is correctly connected and plugged into an electrical outlet. | |
| Turn on the RXD1m receiver. | |
| Make sure the RXD1m audio output connections are securely seated into the jacks and that the cables are functioning. | |
| Ensure that the receiver and transmitter are in line of sight with one another. | |
| Check the receiver and audio input device level controls. | |
| Ensure that the transmitter and receiver are paired. If unsure, follow the pairing explanation on page 11, #5. | |
| Distorted Audio | The receiver output level or audio input device level may be too high. |
| Check the transmitter’s batteries, and replace if low. | |
| The input gain on the transmitter (PXD1/HXD1) or audio source output level may be too high. | |
| Audio Dropout | The transmitter may be too far away from the receiver. Move it closer to the receiver. |
| Remove any sources that may cause RF interference such as cell phones, cordless phones, lighting equipment, computers, metal structures, etc. | |
| Receiver will not power on | Check the adaptor to ensure it is properly connected and plugged into an outlet providing power. |
| Transmitter will not power on (LED does not light) | Replace the transmitter batteries. |
| Noise or interference | If using two systems, make sure both systems are paired together. If the problem persists, pair each system individually. |
Specifications
| System | |
| Working Range Audio Frequency Response T.H.D. (Overall) Modulation Type Operating Temperature Working Frequency | 100’ (30m) line of sight 20Hz – 16kHz (+0/-3dB) <0.6% (@AF 440Hz, +4 dBu) GFSK >85dB,re 0dBu,20Hz-16kHz BW –10°C (14°F) to +60°C (+140°F) |
| RXD1m Receiver | |
| Audio Output Level 1/8” (3.5mm) & 1/4” (6.3mm) jack (unbalanced) XLR jack (balanced) Audio Output Impedance 1/8” (3.5mm) & 1/4” (6.3mm) jack (unbalanced) XLR output jack (balanced) RF Sensitivity Operating Voltage Dimensions (LxWxH) Weight | +4 dBu, 1 kHz, <0.6% THD+N +4 dBu, 1 kHz, <0.6% THD+N 110 ohms @ 1kHz 2.4Kohms @ 1kHz SINAD 5VDC 500mA 4.3” x 3.7” x 1.5” 110mm x 95mm x 39mm 0.33lb /152g |
| PXD1 Transmitter | |
| Input Connector RF Power Power Requirements Battery Life Dimensions (HxLxD) Weight | Mini-XLR (P3) <10 mW EIRP Two AA (LR6) alkaline batteries 20 Hours 3.75” x 2.44” x 0.75” 96mm x 62mm x 18.5mm 0.2lb / 93g |
| HXD1 Transmitter | |
Microphone Element RF Power Power Requirements Battery Life Dimensions (HxLxD) Weight | Q6 Dynamic <10 mW EIRP Two AA (LR6) alkaline batteries 20 Hours 10.2” x ø2.1” 260mm x ø 54mm 0.5lb / 218g |
Samson Technologies Corp.
278-B Duffy Ave
Hicksville, New York 11801
Phone: 1-800-3-SAMSON (1-800-372-6766)
www.samsontech.com

























