SAMSON Concert 288x Frequency-Agile UHF Wireless System Owner’s Manual
Important Safety Information
- Read these instructions.
- Keep these instructions.
- Heed all warnings.
- Follow all instructions.
- Do not use this apparatus near water.
- Clean only with dry cloth.
- Do not block any ventilation openings. Install in accordance with the manufacturer’s instructions.
- Do not install near any heat sources such as radiators, heat registers, stoves, or other apparatus (including amplifiers) that produce heat.
- Do not defeat the safety purpose of the polarized or grounding type plug. A polarized plug has two blades with one wider than the other. A grounding type plug has two blades and a third grounding prong. The wide blade or the third prong are provided for your safety. If the provided plug does not fit into your outlet, consult an electrician for replacement of the obsolete outlet.
- Protect the power cord from being walked on or pinched particularly at the plugs, convenience receptacles, and at the point where they exit from the apparatus.
- Only use attachments/accessories specified by the manufacturer.
- Use only with the cart, stand, tripod, bracket, or table specified by the manufacturer, or sold with the apparatus. When a cart is used, use caution when moving the cart/apparatus combination to avoid injury from tip-over.

- Unplug the apparatus during lightening storms, or when unused for long periods of time.
- Refer all servicing to qualified personnel. Service is required when the apparatus has been damaged in any way, such as power supply cord or plug is damaged, liquid has been spilled or objects have fallen into the apparatus has been exposed to rain or moisture, does not operate normally, or has been dropped.
- This appliance shall not be exposed to dripping or splashing water and that no object filled with liquid such as vases shall be placed on the apparatus.
- Caution-to prevent electrical shock, match wide blade plug wide slot fully insert.
- Please keep a good ventilation environment around the entire unit.
- The direct plug-in adapter is used as disconnect device, the disconnect device shall remain readily operable.
- Batteries (battery pack or batteries installed) shall not be exposed to excessive heat such as sunshine, fire or the like.
If you want to dispose this product, do not mix it with general household waste. There is a separate collection system for used electronic products in accordance with legislation that requires proper treatment, recovery and recycling.
Private household in the 28 member states of the EU, in Switzerland and Norway may return their used electronic products free of charge to designated collection facilities or to a retailer (if you purchase a similar new one).
For Countries not mentioned above, please contact your local authorities for a correct method of disposal.
By doing so you will ensure that your disposed product undergoes the necessary treatment, recovery and recycling and thus prevent potential negative effects on the environment and human health.
Copyright 2020, Samson Technologies Corp V1
Samson Technologies Corp.
278-B Duffy Ave
Hicksville, NY 11801
www.samsontech.com
Introduction
Congratulations on purchasing the Samson Concert 288x dual channel wireless system. The Concert 288x is the ideal solution for the any application requiring two wireless microphones. Featuring simple operation, with 100 available channels per receiver and RF scanning for an available channel, the Concert 288x can be set up with ease out of the box. The Concert 288x system ensures clear, interruption-free performance by combining tone-key with auto-mute and True Antenna Diversity. This configuration allows only the transmitter’s audio to pass through the receiver, and mutes the output if there is any interference.
The Concert 288x is a dual handheld system including two CH88 handheld transmitters with Q8 dynamic microphone capsules. For travel or permanent installation, the Concert 288x includes a standard 19″ rackmount kit.
In these pages, you’ll find a detailed description of the features of the Concert 288 wireless system, as well as a guided tour through its control panel, step-by-step instructions for its setup and use, and full specifications. If your wireless system was purchased in the United States, you’ll also find a warranty card enclosed—don’t forget to follow the instructions so that you can receive online technical support and so that we can send you updated information about this and other Samson products in the future. Also, be sure to check out our website (www.samsontech.com) for complete information about our full product line.
We recommend you keep the following records for reference, as well as a copy of your sales receipt.
Receiver Serial number: _________________________________________
Transmitter Serial number: ______________________________________
Date of purchase: ______________________________________________
Dealer name: __________________________________________________
With proper care and maintenance, your Concert 288x wireless system will operate trouble-free for many years. Should your wireless system ever require servicing, a Return Authorization (RA) number must be obtained before shipping your unit to Samson. Without this number, the unit will not be accepted. Please call Samson at 1-800-3SAMSON (1-800-372-6766) for an RA number prior to shipping your unit. Please retain the original packing materials and, if possible, return the unit in its original carton. If your Concert 288x system was purchased outside of the United States, contact your local distributor for warranty details and service information.
System Features
- Professional wireless system for use in both live sound and sound contracting applications
- True diversity technology maximizes operating range and reduces interference
- 100 available channels per receiver operating in the UHF band designed for maximum system compatibility in the same location without interference
- The CR288x receiver is a half-rack unit that can be used freestanding or can be mounted in any standard 19″ rack using the included rack kit, making it easy to integrate into any traveling or fixed installation audio system
- Tone-key and auto-mute ensures clear, interruption-free performance allowing only the transmitter’s audio to pass through the receiver, and mutes the output if there is any interference
- Up to 300-foot range within line of sight
- Up to eight hours of battery life, using two standard AA batteries
System Components
All systems
- CR288x receiver
- Power Supply
- Rack mount accessories
- Owner’s Manual & warranty card
Dual Handheld system
Two CH88 handheld transmitters with Q8 dynamic microphone capsule
CR288x Receiver Callouts

- Antennas – The antenna mountings allow full rotation for optimum placement. In normal operation, both antennas should be placed in a vertical position. Both antennas can be folded inward for convenience when transporting the CR288x.
- VOLUME/POWER Control (CH 1 & CH 2) – This knob is used to power on the CR288x and to adjust the level of the audio signal being output from the CH 1 & CH 2 output jacks on the rear panel. Reference level is obtained when the knob is turned fully clockwise (to its “10” setting).
- SCAN Button – Press and hold this button for more than 2 seconds to enter scan mode, the display will flash quickly. The receiver will scan through 100 opearing channels to find the optimal channel for use in your location. Once the scan is complete the CR288x will enter IR Set mode and send the selected channel to the transmitter. NOTE – Press and hold the button for more than 10 seconds to enter manual channel selection mode. The display will flash slowly and will send the receiver’s current selected channel to the transmitter
- IR Transmitter – During “IR SET” an infrared light is used to set the transmitter’s channel.
- READY Indicator – This indicator lights green when the corresponding receiver channel is receiving RF signal and the system is ready to use.
- PEAK Indicator – This indicator lights red when the corresponding transmitted audio signal is overloaded.
- LED Display – The two digit, 7-segment LED display shows each receiver’s current operating channel.
CR288x Receiver Callouts

- DC Input – Connect the supplied power adapter here, using the strain relief as shown in the illustration below. WARNING: Do not substitute any other kind of power adapter. Doing so can cause severe damage to the CR288x and will void your warranty.
- BALANCED OUTPUT – Use this electronically balanced low impedance (240 Ohm) XLR jack when connecting the CR288x to professional (+4dBu) audio equipment. Pin wiring is as follows: Pin 1 ground, Pin 2 high (hot), and Pin 3 low (cold).
- MIX OUT UNBALANCED – Use this unbalanced high impedance (1.1K Ohm) ¼” jack when connecting the CR288x to consumer (-10dBV) audio equipment. The jack will carry the combined signal from receiver CH 1 & 2. Wiring is as follows: tip hot, sleeve ground.
Using the strain relief: Gather up a loop of wire and pass it through the strain relief, then pass the adapter plug through the loop in order to create a knot.

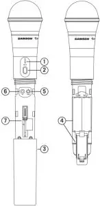
CH88 Handheld Transmitter

- Status Indicator – This LED displays the operation mode:
GREEN Normal Operation RED Mute Flashing GREEN Low Battery - Power/Mute Switch – Press and hold to turn the unit on or off. Press and release to mute or unmute the transmitter.
- Battery Cover – Unscrew the battery cover and slide down to open the CH88 battery compartment.
- Battery Holder – Open the battery holder by pressing the tab and lifting the cover. Insert two standard AA (LR6) batteries here, being sure to observe the plus and minus polarity markings shown. Although rechargeable Ni-Cad batteries can be used, they do not supply adequate current for more than four hours. WARNING: Do not insert the batteries backwards; doing so can cause severe damage to the CH88 and will void your warranty.
- Input GAIN Control – This control adjusts the transmitter input sensitivity. For optimal performance, using the included screwdriver, set the input GAIN control to where you see the CR288x PEAK indicator start to light under high levels, then turn down until the PEAK light stops lighting.
- IR Lens – This window is used to capture the infrared signal sent from the CR288 during the IR SET to channelize the transmitter. The battery cover must be open and the IR Lens facing towards the receiver to load the selected channel.
- Screwdriver – Designed for use in adjusting the CH88 input GAIN control (See #5 Input GAIN Control HH).
Quick Start
In order for your wireless system to work correctly, both the receiver and transmitter must be set to the same channel.
Follow this basic procedure for setting up your Concert 288x wireless system:
Physically place the CR288x receiver where it will be used, and extend the antennas vertically. The general rule of thumb is to maintain “line of sight” between the receiver and transmitter so that the person using or wearing the transmitter can see the receiver.
With the CR288x powered off connect the included adapter. Turn the volume knob clockwise until it clicks to confirm that the unit is receiving power. You’ll see the LED display light up, then turn the CR288x power off by turning the volume control counter clockwise until you hear a click.

With your amplifier or mixer off and volume control all the way down, connect the CR288x receiver mix output jack to the line level input of a mixer or amplifier. Turn the CH1 VOLUME knob on the CR288x clockwise until it clicks but keep the volume low.

With the CH88 transmitter powered off, install two fresh AA batteries. Leave the battery compartment open.

Turn on the power to the transmitter by pressing and holding Power switch; the indicator LED will light green.

Press the CH1 SCAN button on the front of the CR288x to begin scanning 100 channels – the receiver will select an available channel based on available frequencies in your location. CH1 display will begin flashing.

Power on the CH88 and position the transmitter about 6-12″ (15-30 cm) from the front of the CR288x with the transmitter’s IR window facing the IR transmitter on the front panel of the CR288x receiver. The receiver and transmitter will automatically sync and the display will stop flashing.

NOTE: Press and hold the CR288x CH 1 SCAN button for more than 10 seconds to set the transmitter to the same channel as the receiver. Receiver display will flash slowly, once IR sync to transmitter is complete the receiver display will stop flashing. When the transmission is complete, the CR288x will receive RF signal and the tone key from the transmitter.

The CH1 READY indicator will light on the front panel of the CR288x receiver. Repeat these steps for the CH2 transmitter and receiver. Turn on your connected amplifier or mixer, but keep the volume all the way down. Set the CH1 and CH2 Volume knob on the CR288x fully clockwise (to its “10” setting). This is unity gain.

Speak or sing into the microphone. Slowly raise the volume of your amplifier or mixer until the desired level is reached.
If you find the system has noticeable dropouts, reduced overall working range, or unexpected noise bursts, change the operating channel of the system using the steps above.
When using multiple systems in the same frequency band, each system must be set to a different operating channel.
Rack Mounting
The CR288x receiver can be installed into a standard 19” rack for transport or permanent installation using the included rack ears. Follow the simple steps below to mount the CR288x:
Attach the included rack ears by sliding each rack ear into the groove on either side of the CR288x until they lock into place, and the receiver flush with the front panel.

Position the CR288x receiver into an available rack space and slide in until the rack ears are touching the rails of the rack case and are aligned with the rack rail holes.

Mount the receiver into the rack using the appropriate size rack screws (not included). To ensure equal tension and balance when installing the receiver, you should secure screws in a crisscross pattern of opposite corners: top left -> bottom right -> top right -> bottom left.
In order to mount two CR288x receivers in one rack space, the system includes a center connection piece. Slide the center connection piece into the groove of each receiver, secure using the included screws, and attach the short rack ears to each receiver. Mount the receivers into the rack using the crisscross pattern described above.

Troubleshooting
Issue | Solutions |
No Audio | Make sure that the transmitter and receiver are both powered on. |
| Ensure the transmitter’s batteries are installed correctly. | |
| Check that the transmitter is not muted. | |
| Confirm that the CR288x adapter is correctly connected and plugged into an electrical outlet. | |
| Turn on the CR288x receiver. | |
| Make sure the CR288x audio output connections are securely connected. | |
| Ensure that the receiver and transmitter are in line of sight with one another. | |
| Check the receiver and audio input device level controls. | |
| Ensure that the transmitter and receiver are set to the same operating channel. If unsure, reset the channel by performing an IR set. | |
Distorted Audio | The receiver output level or audio input device level may be too high. |
| Check the transmitters batteries, and replace if low. | |
| The input gain on the transmitter (H88) or audio source level may be too high. | |
Audio Dropout | The transmitter may be too far away from the receiver. Move it closer to the receiver, or reposition the antennas. |
| Remove any sources that may cause RF interference such as cell phones, cordless phones, lighting equipment, computers, metal structures, etc. | |
Receiver will not power on | Check the adaptor to ensure it is properly connected and plugged into an outlet providing power. |
Transmitter will not power on (LED lights RED) | Replace the transmitter batteries. |
Unwanted noise or interference | If using multiple systems, make sure none of the systems are operating on the same channel. If the problem persists, change one or all of the systems channels. |
Concert 288x Channel Plans
Group K 470–494MHz | |||||||||
CH | MHz | CH | MHz | CH | MHz | CH | MHz | CH | MHz |
00 | 470.125 | 20 | 474.625 | 40 | 479.125 | 60 | 483.625 | 80 | 488.125 |
| 01 | 470.350 | 21 | 474.850 | 41 | 479.350 | 61 | 483.850 | 81 | 488.350 |
02 | 470.575 | 22 | 475.075 | 42 | 479.575 | 62 | 484.075 | 82 | 488.575 |
| 03 | 470.800 | 23 | 475.300 | 43 | 479.800 | 63 | 484.300 | 83 | 488.800 |
04 | 471.025 | 24 | 475.525 | 44 | 480.025 | 64 | 484.525 | 84 | 489.025 |
| 05 | 471.250 | 25 | 475.750 | 45 | 480.250 | 65 | 484.750 | 85 | 489.250 |
06 | 471.475 | 26 | 475.975 | 46 | 480.475 | 66 | 484.975 | 86 | 489.475 |
| 07 | 471.700 | 27 | 476.200 | 47 | 480.700 | 67 | 485.200 | 87 | 489.700 |
08 | 471.925 | 28 | 476.425 | 48 | 480.925 | 68 | 485.425 | 88 | 489.925 |
| 09 | 472.150 | 29 | 476.650 | 49 | 481.150 | 69 | 485.650 | 89 | 490.150 |
10 | 472.375 | 30 | 476.875 | 50 | 481.375 | 70 | 485.875 | 90 | 490.375 |
| 11 | 472.600 | 31 | 477.100 | 51 | 481.600 | 71 | 486.100 | 91 | 490.600 |
12 | 472.825 | 32 | 477.325 | 52 | 481.825 | 72 | 486.325 | 92 | 490.825 |
| 13 | 473.050 | 33 | 477.550 | 53 | 482.050 | 73 | 486.550 | 93 | 491.050 |
14 | 473.275 | 34 | 477.775 | 54 | 482.275 | 74 | 486.775 | 94 | 491.275 |
| 15 | 473.500 | 35 | 478.000 | 55 | 482.500 | 75 | 487.000 | 95 | 491.500 |
16 | 473.725 | 36 | 478.225 | 56 | 482.725 | 76 | 487.225 | 96 | 491.725 |
| 17 | 473.950 | 37 | 478.450 | 57 | 482.950 | 77 | 487.450 | 97 | 491.950 |
18 | 474.175 | 38 | 478.675 | 58 | 483.175 | 78 | 487.675 | 98 | 492.175 |
| 19 | 474.400 | 39 | 478.900 | 59 | 483.400 | 79 | 487.900 | 99 | 492.400 |
Group D** 542–566MHz | |||||||||
CH | MHz | CH | MHz | CH | MHz | CH | MHz | CH | MHz |
00 | 542.125 | 20 | 546.625 | 40 | 551.125 | 60 | 555.625 | 80 | 560.125 |
| 01 | 542.350 | 21 | 546.850 | 41 | 551.350 | 61 | 555.850 | 81 | 560.350 |
02 | 542.575 | 22 | 547.075 | 42 | 551.575 | 62 | 556.075 | 82 | 560.575 |
| 03 | 542.800 | 23 | 547.300 | 43 | 551.800 | 63 | 556.300 | 83 | 560.800 |
04 | 543.025 | 24 | 547.525 | 44 | 552.025 | 64 | 556.525 | 84 | 561.025 |
| 05 | 543.250 | 25 | 547.750 | 45 | 552.250 | 65 | 556.750 | 85 | 561.250 |
06 | 543.475 | 26 | 547.975 | 46 | 552.475 | 66 | 556.975 | 86 | 561.475 |
| 07 | 543.700 | 27 | 548.200 | 47 | 552.700 | 67 | 557.200 | 87 | 561.700 |
08 | 543.925 | 28 | 548.425 | 48 | 552.925 | 68 | 557.425 | 88 | 561.925 |
| 09 | 544.150 | 29 | 548.650 | 49 | 553.150 | 69 | 557.650 | 89 | 562.150 |
10 | 544.375 | 30 | 548.875 | 50 | 553.375 | 70 | 557.875 | 90 | 562.375 |
| 11 | 544.600 | 31 | 549.100 | 51 | 553.600 | 71 | 558.100 | 91 | 562.600 |
12 | 544.825 | 32 | 549.325 | 52 | 553.825 | 72 | 558.325 | 92 | 562.825 |
| 13 | 545.050 | 33 | 549.550 | 53 | 554.050 | 73 | 558.550 | 93 | 563.050 |
14 | 545.275 | 34 | 549.775 | 54 | 554.275 | 74 | 558.775 | 94 | 563.275 |
| 15 | 545.500 | 35 | 550.000 | 55 | 554.500 | 75 | 559.000 | 95 | 563.500 |
16 | 545.725 | 36 | 550.225 | 56 | 554.725 | 76 | 559.225 | 96 | 563.725 |
| 17 | 545.950 | 37 | 550.450 | 57 | 554.950 | 77 | 559.450 | 97 | 563.950 |
18 | 546.175 | 38 | 550.675 | 58 | 555.175 | 78 | 559.675 | 98 | 564.175 |
| 19 | 546.400 | 39 | 550.900 | 59 | 555.400 | 79 | 559.900 | 99 | 564.400 |
Group G* 863–865MHz | |||||||||
CH | MHz | CH | MHz | CH | MHz | CH | MHz | CH | MHz |
| 00 | 863.050 | 07 | 864.950 | 14 | 864.800 | 21 | 864.650 | 28 | 864.400 |
01 | 863.550 | 08 | 863.100 | 15 | 863.300 | 22 | 864.850 | 29 | 864.700 |
| 02 | 863.750 | 09 | 863.600 | 16 | 863.150 | 23 | 863.350 | 30 | 864.900 |
03 | 864.050 | 10 | 863.800 | 17 | 863.650 | 24 | 863.200 | 31 | 863.400 |
| 04 | 864.250 | 11 | 864.100 | 18 | 863.850 | 25 | 863.700 | ||
05 | 864.550 | 12 | 864.300 | 19 | 864.150 | 26 | 863.900 | ||
| 06 | 864.750 | 13 | 864.600 | 20 | 864.350 | 27 | 864.200 | ||
Group L* 823–832MHz | |||||||||
| CH | MHz | CH | MHz | CH | MHz | CH | MHz | CH | MHz |
00 | 823.125 | 19 | 826.925 | 38 | 830.100 | 57 | 824.825 | 76 | 828.825 |
| 01 | 824.125 | 20 | 828.125 | 39 | 831.200 | 58 | 826.025 | 77 | 829.225 |
02 | 825.325 | 21 | 828.525 | 40 | 823.625 | 59 | 827.425 | 78 | 830.600 |
| 03 | 826.725 | 22 | 829.900 | 41 | 824.625 | 60 | 828.625 | 79 | 831.700 |
04 | 827.925 | 23 | 831.000 | 42 | 825.825 | 61 | 829.025 | ||
| 05 | 828.325 | 24 | 823.425 | 43 | 827.225 | 62 | 830.400 | ||
06 | 829.700 | 25 | 824.425 | 44 | 828.425 | 63 | 831.500 | ||
| 07 | 830.800 | 26 | 825.625 | 45 | 828.825 | 64 | 823.925 | ||
08 | 823.225 | 27 | 827.025 | 46 | 830.200 | 65 | 824.925 | ||
| 09 | 824.225 | 28 | 828.225 | 47 | 831.300 | 66 | 826.125 | ||
| 10 | 825.425 | 29 | 828.625 | 48 | 823.725 | 67 | 827.525 | ||
11 | 836.825 | 30 | 830.000 | 49 | 824.725 | 68 | 828.725 | ||
| 12 | 828.025 | 31 | 831.100 | 50 | 825.925 | 69 | 829.125 | ||
13 | 828.425 | 32 | 823.525 | 51 | 827.325 | 70 | 830.500 | ||
| 14 | 829.800 | 33 | 824.525 | 52 | 828.525 | 71 | 831.600 | ||
15 | 830.900 | 34 | 825.725 | 53 | 828.925 | 72 | 824.025 | ||
| 16 | 823.325 | 35 | 827.125 | 54 | 830.300 | 73 | 825.025 | ||
17 | 824.325 | 36 | 828.325 | 55 | 831.400 | 74 | 826.225 | ||
| 18 | 825.525 | 37 | 828.725 | 56 | 823.825 | 75 | 827.625 | ||
- Not for use in the USA and Canada.
- Not for use in the EU.
For questions regarding available channels in your area contact your local Samson distributor
Specifications
- System
- Working Range 300′ (100m) line of sight
- Audio Frequency Response 50 Hz – 15 kHz
- T.H.D. (Overall) <1% (@AF 1 kHz, RF 46 dBu)
- Dynamic Range >100 dB A-weighted
- Signal to Noise >95 dB
- Operating Temperature –10°C (14°F) to +60°C (+140°F)
- Tone Key Frequency 35 kHz
- CH88 Handheld Transmitter
- Microphone Element Q8 Dynamic
- Input Gain Range 28 dB
- RF Power 10 mW EIRP
- Power Requirements Two AA (LR6) alkaline batteries
- Battery Life 8 hours
- Dimensions
(HxØ) 10.23″ x 2.1″ - 260mm x 54mm
- Weight 0.48 lb / 218 g
- CR288x Receiver
- Audio Output Level – Mix Unbalanced +14 dBu
- Audio Output Level – Balanced +9 dBu
- Audio Output Impedance – Unbalanced 1.1K Ohms
- Audio Output Impedance – Balanced 240 Ohms
- Sensitivity: 100dBm/30dB SINAD
- Image Rejection: >50 dB
- Operating Voltage: 15 VDC 600mA
- Dimensions
(LxWxH) 8.25″ x 4.9″ x 1.75″
210mm x 125mm x 44mm - Weight: 0.99 lb / 450 g
At Samson, we are continually improving our products, therefore specifications and images are subject to change without notice.
FCC Rules and Regulations
Samson wireless receivers are certified under FCC Rules part 15 and transmitters are certified under FCC Rules part 74. Licensing of Samson equipment is the user’s responsibility and licensability depends on the user’s classification, application and frequency selected.
This device complies with Part 15 of the FCC rules Class B and RSS-210 of Industry & Science Canada.
Operation is subject to the following two conditions:
- This device must not cause harmful interference, and
- This device must accept any interference received including interference that may cause undesired operation. Suitable for home or office use.
NOTE: This equipment has been tested and found to comply with the limits for a Class B digital device, pursuant to Part 15 of the FCC Rules. These limits are designed to provide reasonable protection against harmful interference in a residential installation. This equipment generates, uses and can radiate radio frequency energy and, if not installed and used in accordance with the instructions, may cause harmful interference to radio communications. However, there is no guarantee that interference will not occur in a particular installation. If this equipment does cause harmful interference to radio or television reception, which can be determined by turning the equipment off and on, the user is encouraged to try to correct the interference by one or more of the following measures:
- Reorient or relocate the receiving antenna.
- Increase the separation between the equipment and receiver.
- Connect the equipment into an outlet on a circuit different from that to which the receiver is connected.
- Consult the dealer or an experienced Radio/TV technician for help.
WARNING: Changes or modifications not expressly approved by the party responsible for compliance could void the user’s authority to operate the equipment.
This equipment is intended for use in wireless microphone applications.
Equipment is intended for sale in: AT, BE, CH, CY, CZ*, DK, EE, FI*, FR*, DE*, GR*, HU, IE, IS, IT, LV, LT*, LU, MT*, NL, NO*, PL* PT, RO, SK, SI, ES, SE, UK
*Subject to license. Please contact your national frequency authority for information on available legal use in your area. Any changes or modifications not expressly approved by Samson Technologies Corp. could void your authority to operate the equipment.
Hereby, Samson Technologies Corp., declares that this Concert 288x is in compliance with the essential requirements and other relevant provisions of Directive 2014/53/EU. The declaration of conformity may be consulted at: http://www.samsontech.com/site_media/support/manuals/Concert_288x_DOC.pdf
External Power Supplies
| Information published | Value and precision | Notes | |
| Manufacturer Fabricant | Kuantech(Beihai) Co., Ltd. 8th Industrial Park, Beihai Road, 536000 Beihai City, Guangxi People’s Republic of China | ||
| Model identifier | KSAS0121500080D5 | KSAS0050500100D5U | |
| Input voltage Tension | 100-240V | 100-240V | |
| Input AC frequency | 50/60Hz | 50/60Hz | |
| Output voltage Tension de sortie | 15.0VDC | 5.0VDC | |
| Output current Courant de sortie | 0.8A | 1.0A | |
| Output power Puissance de sortie | 12.0W | 5.0W | |
| Average active efficiency | 84.1% | 77.6% | 230V @50Hz |
| Efficiency at low load (10 %) | 78.9% | 68.4% | 230V @50Hz |
| No-load power consumption | 0.07W | 0.06W | 230V @50Hz |
If you want to dispose this product, do not mix it with general household waste. There is a separate collection system for used electronic products in accordance with legislation that requires proper treatment, recovery and recycling.
Private household in the 28 member states of the EU, in Switzerland and Norway may return their used electronic products free of charge to designated collection facilities or to a retailer (if you purchase a similar new one).
For Countries not mentioned above, please contact your local authorities for a correct method of disposal.
By doing so you will ensure that your disposed product undergoes the necessary treatment, recovery and recycling and thus prevent potential negative effects on the environment and human health.
Copyright 2020, Samson Technologies Corp V1
Samson Technologies Corp.
278-B Duffy Ave
Hicksville, NY 11801
www.samsontech.com
Customer Support
Having Trouble with your Concert 288x Wireless System?
We can help!
CONTACT OUR SUPPORT TEAM: [email protected]
Our experts can help you resolve any issues.
Follow us:

@samson
@samsontech
@samson_technologies
Samson Technologies
278-B Duffy Ave
Hicksville, NY 11801
Phone: 1-800-3-SAMSON
www.samsontech.com



















