JARO T Series Stati LED Strahler
Instruction Manual
Stativ LED Strahler
Tripod LED Light
Projecteur LED sur pied télescopique
JARO 2050 T / 3050 T / 4050 T / 5050 T / 6050 T
JARO T Series Stati LED Strahler
| Type | Mains plug | Nominal power | Max. current | Power factor |
| W | A | |||
| JARO 2050 T | Schuko | 20 | 0,12 | > 0,7 |
| JARO 3050 T | Schuko | 30 | 0,14 | > 0,9 |
| JARO 4050 T | Schuko | 2 x 20 | 2 x 0,12 | > 0,9 |
| JARO 5050 T | Schuko | 50 | 0,22 | > 0,9 |
| JARO 6050 T | Schuko | 2 x 30 | 2 x 0,14 | > 0,9 |
| max. projected area | Dimensions | Dimensions of protective cover | Weight |
| cm² | mm | mm | kg |
| 341,3 | 920 x 55 x 1801,5 | 153,6 x 121,6 x 4 | 3,45 |
| 594,2 | 1160 x 62 x 1780 | 202,8 x 160,8 x 4 | 4,46 |
| 2 x 341,3 | 1070 x 55 x 1627,5 | 153,6 x 121,6 x 4 | 4,72 |
| 769,7 | 1160 x 75 x 1816,5 | 213,2 x 161,2 x 4 | 4,84 |
| 2 x 594,2 | 1303 x 62 x 1645 | 202,8 x 160,8 x 4 | 6,05 |
Operating Instructions
Tripod LED Light
JARO 2050 T / 3050 T / 4050 T / 5050 T / 6050 T
Attention: Before using the product, please carefully read the operating instructions and store them in a proper location!
SAFETY INSTRUCTIONS
- Always check the product for damage before use. Never use the product in case of any damage. If this is the case, please refer to an electrician or the manufacturer’s service address. Non-compliance poses a risk of fatal injury from electrical current!
- Do not use the product in potentially explosive atmospheres – danger of death!
- Keep the floodlight away from children. Children are not aware of the risks imposed by electric current.
- Please never look directly into the light.
- A destroyed protective cover cannot be replaced. The floodlight has to be disposed of.
- The external flexible cable of this lamp cannot be exchanged; if the cable is damaged, the lamp has to be scrapped.
Not suitable for applications with external dimmers.
If the minimum distance is not complied with, illuminated objects may overheat.
TECHNICAL DATA
| Protection class: | I |
| IP class/shock resistance: | IP65, IK08 |
| Nominal voltage: | 220-240 V~ 50/60 Hz |
| Temperature range: | -20 °C to +50 °C |
| Connection cable: | H07RN-F 3G1.0 |
This product is suitable for indoor and outdoor lighting purposes.
OPERATION
In this connection, you must imperatively ensure sufficient stability of the tripod and firm assembly of the floodlight.
Tripod for individual floodlight 20 W: extendible from 75 cm to 160 cm
Tripod for individual floodlight 30/50 W: extendible from 86 cm to 152 cm
Tripod for double floodlight 2 x 20 W: extendible from 82 cm to 142 cm
Tripod for double floodlight 2 x 30 W: extendible from 88 cm to 138 cm
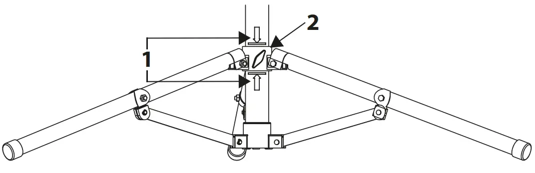
ASSEMBLY OF THE LED FLOODLIGHT ON THE TRIPOD

Loosen the locking screw (C). Fold out the feet completely.
Afterwards, re-tighten the locking screw (C).
There are two arrows (1) at the tube. These mark the area where the ring of the feet (2) have to be placed to ensure sufficient stability of the tripod. The refore make sure that the ring of the feet (2) matches insides the arrows (1) area.
Fasten the LED floodlight by means of the locking screw (A) at the central hole of the fastening bracket on the tripod.
ACCESSORIES
Suitable accessories are available on our homepage www.brennenstuhl.com.
MAINTENANCE

ATTENTION! The LED lamp does not contain components that require maintenance. The light source in this lamp cannot be replaced; if the light source has reached the end of its service life, the entire lamp has to be replaced. The lamp may not be opened.
CLEANING
Before cleaning, disconnect the floodlight from the mains power.
Do not use solvents, caustic cleaning agents or similar products. Only use a dry or slightly moistened cloth for cleaning.
DISPOSAL
Dispose of electric appliances in an environmentally friendly manner!
Electric appliances must not be disposed of in household waste!
The European Directive 2012/19/EU on Waste Electrical and Electronic Equipment rules that used electric appliances should be collected separately and recycled in an environmentally friendly manner.
For possibilities of disposal of the used appliance, please contact your local or municipal administration.
EU DECLARATION OF CONFORMITY
The EU declaration of conformity is deposited at the manufacturer.
ADRESSES
Hugo Brennenstuhl GmbH & Co. KG
Seestraße 1 – 3 · D-72074 Tübingen
H. Brennenstuhl S.A.S.
4 rue de Bruxelles ∙ F-67170 Bernolsheim
lectra technik ag
Blegistrasse 13 · CH-6340 Baar
For more information please visit the Service/FAQ section on our homepage, www.brennenstuhl.com.
https://tm.by
– TM.by














