SBi AC01216 Fresh Air Intake Kit for Chic-Choc Cookstove

Application
This fresh air intake kit is designed to be installed on a wood stove with legs. The vent termination must be installed outside the building.
Kit Contents

Other Required Parts (not included)

Suggested Tools

Installation Instructions
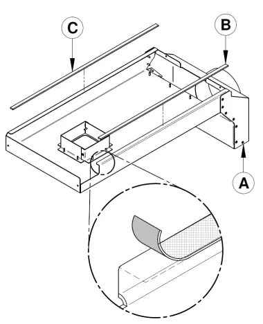
- Cut two strips of self-adhesive gasket, one of 19″ (483 mm) (B) and one of 22″ (559 mm) (C).

- Install the two strips of self-adhesive gasket (B and C) on the fresh air intake (A), as shown.

- Cut the micro joints of the back sheet heat shield.

- Remove the ash drawer (I).

- Position the air intake (A) underneath the stove.

- Fasten the air intake at the back of the stove with two screws (E, 2x).

- Fasten the air intake on the front of the stove with two screws (E, 2x).

- Make a 6″ x 6″ (150 mm x 150 mm) opening in the outside wall behind the unit. Install a 5″ insulated Flexible duct (G) to the air intake housing using a clamp (F). Attach the other end of the flexible duct to the air intake cover (D) with another clamp (F). Secure the air intake grille with 4 screws (H, 4x), not supplied in this kit.

The fresh air intake assembly and duct should be inspected periodically to ensure that it is not obstructed.
SBI HEATING ACCESSORIES
255 De Copenhague Street
Saint-Augustin-de-Desmaures
Québec, Canada
G3A 2H3
418-908-8002


























