K N 77-2615KC Performance Air Intake System

TOOLS NEEDED
- Flat blade screwdriver
- 10mm wrench
- 4mm Allen key
- side cutters
PARTS LIST

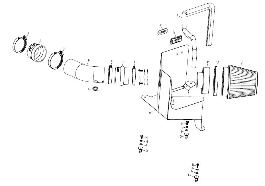
| Description | Qty. | Part # | Description | Qty. | Part # | Description | Qty. | Part # | |||
| A | HOSE CLAMP; #40 | 1 | 08554 | G | BOLT; M6 X 1 X 16MM | 2 | 07730 | M | HEAT SHIELD | 1 | 074549 |
| B | HOSE; 3” TO 2.75”ID X 2”L | 1 | 084036 | H | WASHER; M6 SPLIT LOCK | 5 | 1-3025 | N | BOLT; M6 X 1 X 12MM | 3 | 07727 |
| C | HOSE CLAMP; #48 | 3 | 08601 | I | WASHER; 6MM FLAT | 5 | 08269 | O | MOUNT; PLASTIC | 3 | 8-186-1 |
| D | TUBE; 3”OD X 8.5”L | 1 | 25867C | J | EDGE TRIM; 50”L | 1 | 102481 | P | ADAPTER; 3”OD HOSE | 1 | 21569 |
| E | GROMMET; 1”OD, 1/2”ID | 1 | 08064 | K | LOCKING PLATE | 1 | 010151 | Q | HOSE CLAMP; #88 | 1 | KITHS88 |
| F | HOSE; HUMP 3”ID X 2.5”L | 1 | 087121 | L | BADGE; PLASTIC SNAP ON | 1 | 088096 | R | AIR FILTER | 1 | RU-5147 |
If you need any assistance please call 1-800-858-3333 to speak with a representative in our Customer Service Center before returning the product.
NOTE:
FAILURE TO FOLLOW INSTALLATION INSTRUCTIONS AND NOT USING THE PROVIDED HARDWARE MAY DAMAGE THE INTAKE TUBE, THROTTLE BODY AND ENGINE.
INSTALLATION INSTRUCTIONS
TO START:
- Turn off the ignition and disconnect the negative battery cable.
NOTE: Disconnecting the negative battery cable erases pre-programmed electronic memories. Write down all memory settings before disconnecting the negative battery cable. Some radios will require an anti-theft code to be entered after the battery is reconnected. The anti-theft code is typically supplied with your owner’s manual. In the event your vehicles anti-theft code cannot be recovered, contact an authorized dealership to obtain your vehicles anti-theft code.
- Lift the center of the locking pins that secure the fresh air duct and then remove the pins. lift the fresh air duct and disconnect it from the air filter housing and remove it from the vehicle.

- Separate the air filter housing end from the fresh air duct.

- Disconnect the AIT sensor electrical connection and unhook the wiring harness from the air filter housing.

- Loosen the hose clamp that secures the factory intake tube to the turbo inlet. Disconnect the hose from the inlet and then lift out the complete intake system.

- Cut the provided edge trim into sections of 7.5”, 13” and 29” long. Install the edge trim onto the heat shield as shown.

- Install the filter adapter into the heat shield and secure with the provided hardware. Install the K&N badge onto the heat shield and secure with the locking plate.

- Install the three mounting posts onto the heat shield using the provided hardware.

- Move and rotate the IAT harness clamp to the position as shown.

- Install the provided coupler onto the turbo inlet pipe and secure with the provided hose clamp.

- Install the heat shield assembly into the vehicle so the mounting studs insert into the factory air filter housing mounting grommets.

- Install the provided hump coupler onto the filter adapter and secure with the provided hose clamp.

- Lift the locking tab and then rotate the IAT sensor counterclockwise to remove it from the factory air filter housing and then remove the O-ring from the sensor.

- Using the provided grommet, install the IAT sensor into the K&N intake tube.

- Install the intake tube into the couplers and adjust for best fit, then secure with the provided hose clamps.

- Reconnect the IAT sensor electrical connection.

- Install the K&N air filter and secure with the provided hose clamp.

- Reinstall the fresh air intake duct and secure with the factory push pins.

- Reconnect the vehicle’s negative battery cable. Double-check to make sure everything is tight and properly positioned before starting the vehicle.
- It will be necessary for all K&N® high flow intake systems to be checked periodically for realignment, clearance, and tightening of all connections. Failure to follow the above instructions or proper maintenance may void the warranty.
ROAD TESTING
- Start the engine with the transmission in neutral or park, and the parking brake is engaged. Listen for air leaks or odd noises. For air leaks secure hoses and connections. For odd noises, find cause and repair before proceeding. This kit will function identically to the factory system except for being louder and much more responsive.
- Test drive the vehicle. Listen for odd noises or rattles and fix as necessary.
- If road test is fine, you can now enjoy the added power and performance from your kit.
- K&N Engineering, Inc., requires cleaning the intake system’s air filter element every 100,000 miles. When used in dusty or off-road environments, our filters will require cleaning more often. We recommend that you visually inspect your filter once every 25,000 miles to determine if the screen is still visible. When the screen is no longer visible in some place on the filter element, it is time to clean it. To clean and re-oil, purchase our filter Recharger® service kit, part number 99-5050 or 99-5000 and follow the easy instructions.
Contact Information
1455 CITRUS ST., P.O. BOX 1329, RIVERSIDE, CA., U.S.A. 92502
TECH SERVICE 800-858-3333
FAX 951-826-4001
e-mail: [email protected].
Website: http://www.knfilters.com.






































