SBI AC01421 Fresh Air Intake Kit for Wood Stove on legs and pedestal Instruction Manual
Application
This fresh air intake kit is designed to be installed on a wood stove with legs or pedestal. The vent termination must be installed outside the building.
Kit Contents
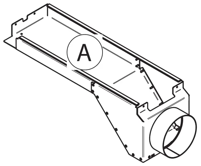
Air Intake Housing 5″ (A) 1x
Self-adhesive gasket (B) (C) 36″ long
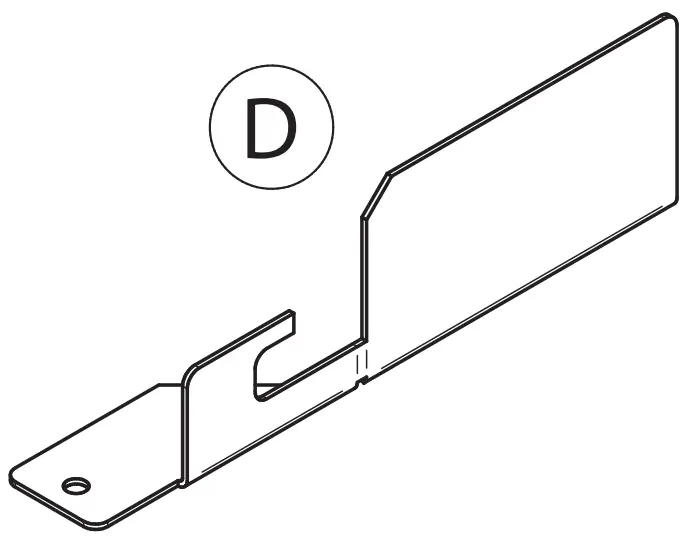
Air control cover for round hatch rod (D) 1x
Air control cover for flat hatch rod (E) 1x
Air Intake grille 5″ (F) 1x
Black metal screw #10 x ⅝» (G) 4x
Clamp (5″) (H) 2x
Other Required Parts (not included)
Screws for the air intake grille (I) 4x
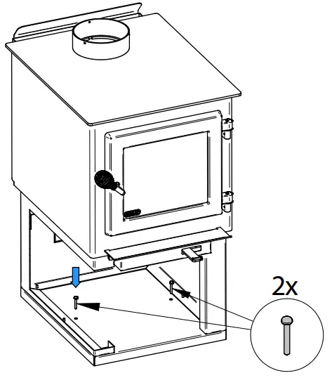
Screws to secure the wood stove in the mobile home (J) 4x for stove on legs, 2x for stove on pedestal
HVAC flexible insulated pipe in accordance with ULC S110 or UL 181, class 0 or class 1. (K) 1x
Suggested Tools
Powered Driver
or
Robertson or Phillips screwdriver
Installation Instructions
The following images are showing a generic wood stove model. Even if your stove is different, the installation steps are identical.
Step 1. Cut two strips of self-adhesive gasket, one of 17 ½” (444 mm) (B) and one of 19 5/8″ (499 mm) (C)
Step 2. Install the two strips of self-adhesive gasket (B and C) on the fresh air intake (A) as shown.
Step 3. Position the air intake (A) underneath the stove.
Step 4. Fix the air intake at the back of the stove with two screws (G, 2x).
Step 5. Fix the air intake on the front of the stove with two screws (G, 2x).
Step 6. Fold the air control cover as shown (D or E).
Step 7. Fix the air control cover (D or E) with two screws (G, 2x). The example show the air control cover for a round hatch rod (D).
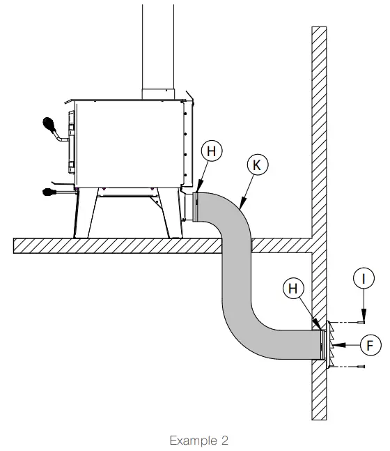
Step 8. Make a 6″ x 6″ (150 mm x 150 mm) opening in the outside wall behind the unit. Install a 5″ insulated flexible duct (K) to the air intake adapter using a clamp (H). Attach the other end of the flexible duct to the air intake grille (F) with another clamp (H). Secure the air intake grille with 4 screws (I, 4x), not supplied in this kit.

The fresh air intake assembly and duct should be inspected periodically to ensure that it is not obstructed.
Step 9. For a mobile home installation, secure the stove to the floor with the appropriate hardware (J) for the flooring.

SBI HEATING ACCESSORIES
255 De Copenhague Street
Saint-Augustin-de-Desmaures
Québec, Canada
G3A 2H3
418-908-8002


















