Schneider Electric DAILY Line Comfort SP LED

ABOUT
Electric installation work may only be carried out by approved specialists according to the local regulations. Liability will only be accepted by us when our products are installed by qualified engineers. The light sources incorporated in this product should only be replaced by the manufacturer, or by another similarly well-qualified person. Rooms with baths or showers have to be protected with a residual-current-operated protective device (RCD) FI (RCD) I ∆ n = 30mA. Volume 2 min. protection IP X4. Volume 2 no socket admitted.
CE
The product is controlled after current guidelines. Indoor installation only.
DISPOSE
The product must be disposed of separately from normal household waste. This product must be switched on and off with the wall switch!
Assembling instructions

IMPORTANT
Turn off the electricity before beginning.
RISK

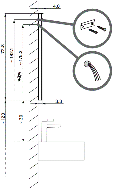
DIMENSIONS


Press on the magnetic holder firmly!

IMPORTANT
Make sure that the magnet sticks! If necessary, add washers underneath the magnet.
Wiring

Notes
This product must be switched on and off with an external wall switch!
W. Schneider+Co. AG, Neue Dorfstrasse 27, CH–8135 Langnau a. A. www.wschneider.com


















