99-7874
INSTALLATION INSTRUCTIONS
Honda Accord 2008-2012*
Honda Crosstour 2012-2015*

*Designed for factory single zone climate controls only
NOTE: Factory NAV screen not retained
Visit MetraOnline.com for more detailed information about the product and up-to-date vehicle
specific applications
KIT FEATURES
- DIN Radio Provision with pocket
- Double DIN Radio provision
- ISO DIN radio provision with pocket
- ISO Mount radio provision with pocket
- Stacked ISO Mount Units Provision
- Painted to match factory dash 99-7874 = Charcoal, 99-7874T = Taupe
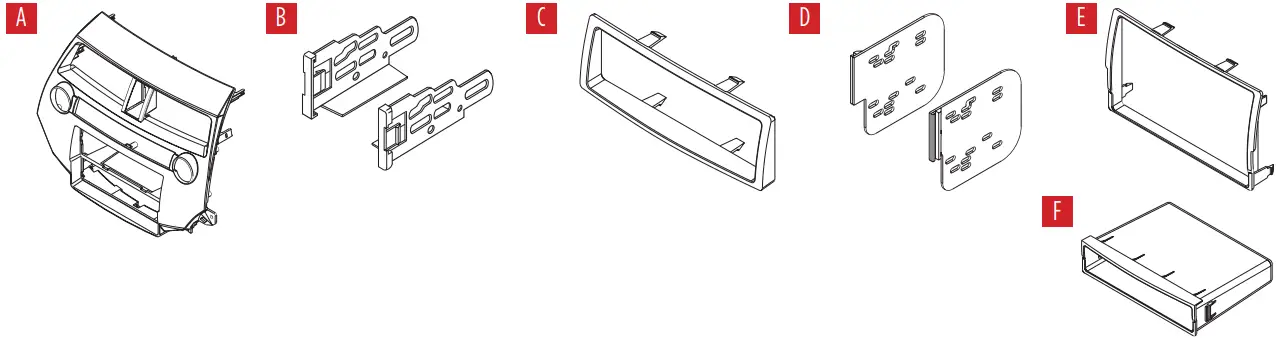
KIT COMPONENTS
- A) Radio Housing
- B) ISO Brackets
- C) ISO Trim Plate
- D) Double DIN Brackets
- E) Double DIN Trim Plate
- F) Pocket
WIRING & ANTENNA CONNECTIONS (sold separately)
Wiring Harness: 70-172
Antenna Adapter: 40-HD10
TOOLS REQUIRED
• Panel removal tool
• Phillips screwdriver
Attention! With the key out of the ignition, disconnect the negative battery terminal before installing this product. Ensure that all installation connections are secure before cycling the ignition to test this product.
DASH DISASSEMBLY
- Unclip and remove the trim panel above the glove box on the right side of the factory radio. (Figure A)

- Unclip and remove the trim panel on the left side of the factory radio. (Figure B)

- Remove (2) Phillips screws from the left and right sides of the radio. (Figure C)

- Unclip and remove the top of the center console including the cup holders. (Figure D)

- Remove (2) Phillips screws at the bottom edge of the pocket assembly. (Figure E)

DASH DISASSEMBLY (CONT.)
- Remove (2) Phillips screws facing up inside of the pocket, below the factory radio. (Figure F)

- Unclip and remove the pocket assembly(Figure G)

- Remove (2) Phillips screws securing the bottom of the radio. (Figure H)

- Unclip the factory radio assembly. Unplug and remove the radio assembly. (Figure I)

KIT PREPARATION
From the factory radio assembly:
- Remove (6) Phillips screws securing the climate controls, then remove.
- Remove (4) Phillips screws securing the a/c vents, then remove.
- Unclip and remove the hazard switch and passenger airbag light.
- Remove (4) Phillips screws securing the lower trim panel, then remove.
- Remove (9) panel clips.
To the 99-7874 radio housing: - Secure the lower panel using the factory screws. (Figure A)

- Clip in the hazard switch and airbag light. (Figure B)

- Secure the a/c vent using the (4) factory screws. (Figure C)

- Secure the climate controls using the (6) factory screws. (Figure D)

- Attach the factory panel clips. (Figure E)

KIT ASSEMBLY
DIN radio provision with pocket
- Remove the metal DIN sleeve from the aftermarket radio.
- Slide the sleeve into the radio housing and secure by bending the metal locking tabs outward. (Figure A)

- Slide the radio back into the sleeve until it clicks into place. (Figure B)

- Clip the pocket into the radio housing. (Figure C)

- Clip the pocket into the radio housing. (Figure C)
- Reassemble the dash in reverse order of disassembly to complete the installation.
KIT ASSEMBLY
ISO DIN radio provision with pocket
- Remove the metal DIN sleeve and trim ring from the aftermarket radio.
- Secure the ISO DIN radio brackets to the radio using the screws supplied with the radio. (Figure A)

- Slide the radio into the radio housing until it clicks into place. (Figure B)

- Clip the ISO DIN trim plate onto the radio assembly. (Figure C)

- Clip the pocket into the radio housing. (Figure C)
- Reassemble the dash in reverse order of disassembly to complete the installation.
KIT ASSEMBLY
ISO DDIN radio provision
- Cut and remove the center bar from the radio housing. (Figure A)
- Clip the ISO DDIN radio brackets to the inside edge of the radio housing. (Figure B)
- Slide the radio into the radio housing, then secure to the radio brackets using screws supplied with the radio. (Figure C)
- Clip the ISO DDIN trim plate into the radio assembly. (Figure C)
- Reassemble the dash in reverse order of disassembly to complete the installation.
99-7874
INSTALLATION INSTRUCTIONS
http://www.metraonline.com
Having difficulties? We’re here to help.
Contact our Tech Support line at:
386-257-1187
Or via email at: [email protected]
Tech Support Hours (Eastern Standard Time)
Monday – Friday: 9:00 AM – 7:00 PM
Saturday: 10:00 AM – 7:00 PM
Sunday: 10:00 AM – 4:00 PM
®KNOWLEDGE IS POWER
Enhance your installation and fabrication skills by enrolling in the most recognized and respected mobile electronics school in our industry.
Log onto www.installerinstitute.edu or call 386-672-5771 for more information and take steps toward a better tomorrow.
Metra recommends MECP
certified technicians
Metra. The World’s Best Kits.®
MetraOnline.com
REV. 7/7/21 INST99-7874
© COPYRIGHT 2021 METRA ELECTRONICS CORPORATION










































