
ezH2O® Liv™
Built-in Filtered Water Dispenser

INSTALLATION, CARE & USER MANUAL
Please Note: The filter cabinet shown above is NOT available for refrigerated versions.
General Information
Installation, Care & User Manual
Read all instructions carefully BEFORE starting the installation and familiarize yourself with the various parts of this product.
This manual contains step-by-step installation, adjustment, and maintenance instructions for the Built-in Water Dispenser. Followed carefully, these instructions will result in an easy, trouble-free installation of this Elkay Manufacturing Company (Elkay) product. Additional use and care documents can be found on the Elkay website at http://www.elkay.com/support.
Any deviations, additions, or deletions from the described methods, without the prior written approval of our Customer Care department, will void the warranty covering this product. Make sure the installation and use of this product meet all local, state, and federal plumbing and electrical codes.
Save these instructions for future reference.
WARNING
To avoid product or property damage, personal injury, or even possible death, carefully read, understand, and follow all the instructions in this Installation, Care, & Use Manual before installing this product.
Improper installation, use, and/or maintenance of this product could cause a dangerous situation that results in injury or death.
Do not operate power tools unless you read and understand the instructions and warnings in this and all other applicable manuals. Proper use of tools and the products described in this guide is your responsibility.
Failure to follow these instructions could result in personal injuries, water damage, and other damage to floors, pipes, walls, and other portions of your home.
Disclaimer
The information contained in this Installation, Care, & Use Manual is given free of charge. It is based upon technical data which we believe to be reliable and is intended for use by persons having knowledge of this technical area at their own discretion and risk. Elkay assumes no responsibility for results obtained or damage incurred from the use of this material either in whole or in part by the buyer.
Serial Number Location
Please use the serial number located on the inside right wall of the main enclosure, just above the junction box. Use this serial number when contacting us with questions concerning the installation of this product.

Contact Information
General Information
Elkay Manufacturing Company
2222 Camden Court
Oak Brook, IL 60523
Phone: 630.574.8484
Email: [email protected]
Website: http://www.elkay.com
USA/Canada Customer Care
Phone: 800.476.4106
Email: [email protected]
International Customer Care
Phone: 630.575.4755
Email: [email protected]
Installation Services
Phone: 800.952.8064
Email: [email protected]
Website: http://www.elkay.com/contact-us/install
Notice of Changes
The information, specifications, and illustrations in this manual are based on the information that was available at the time this material was written and can change at any time.
Dimensions are given in inches (“) and millimeters (mm).
Models Covered in Manual
| LBWD00xxC | where xx represents the color of facia/glass |
| LBWD06xxK | where xx represents the color of facia/glass |
Radio Frequency Compliance
The water dispenser and filter communicate with each other through a Near Field Communication (NFC) device. This short-range, wireless connectivity technology is designed to monitor the status of the filter and to alert the user when it is time to change the filter.
This device complies with part 15 of the FCC Rules. Operation is subject to the following two (2) conditions: (1) This device may not cause harmful interference, and (2) this device must accept any interference received, including interference that may cause undesired operation.
Changes or modifications not approved by the manufacturer could void the user’s authority to operate the equipment.
This device complies with Industry Canada licence-exempt RSS standard(s). Operation is subject to the following two conditions: (1) this device may not cause interference, and (2) this device must accept any interference, including interference that may cause undesired operation of the device.
Warranty
This product is covered by a Limited Warranty and Elkay will not be held responsible for damage of any kind in connection with the installation of the product.
Refer to the Elkay website http://www.elkay.com/warranty and click on DRINKING WATER PRODUCT WARRANTY
Safety
Think Safety
Before performing any work, read and understand the safety instructions in this manual.
General
The Elkay Manufacturing Company (Elkay) cannot anticipate every possible circumstance that might involve a potential hazard during the installation or maintenance of this product. The warnings and instructions in this Installation, Care, & Use Manual are, therefore, not all-inclusive. If a tool, installation procedure, or work method that is not specifically recommended by Elkay is used, you must be satisfied that it is safe for yourself and others. You should also make sure that the product will not be damaged by the methods you choose.
Most work-related accidents are caused by failure to observe basic safety rules or precautions. An accident can often be avoided by recognizing potentially hazardous situations before an accident occurs. As you install and maintain this product, you must be alert to potential hazards. You should also have the necessary training, skills, and tools to perform any installation or maintenance procedure.
Safety Alert Symbol
This is the safety alert symbol. It is used to alert you to potential personal injury hazards. Obey all safety messages that follow this symbol to avoid possible injury or death.
This manual contains WARNINGS, CAUTIONS, NOTICES, SAFETY INSTRUCTIONS, and NOTES which must be followed to prevent the possibility of improper service, damage to the equipment, personal injury, or death. The following keywords call the reader’s attention to potential hazards.
Hazards are identified by the “Safety Alert Symbol” and followed by a signal word such as “WARNING” or “CAUTION”.
Personal Safety
WARNING These warnings indicate a potentially hazardous situation that, if not avoided, could result in serious injury or death. Follow all instructions related to the installation and/or maintenance of this product (unit).
Personal Protection
Be sure to use all personal protective equipment, such as sturdy safety glasses, work shoes, hearing protection, and cut-resistant gloves, whenever necessary, to ensure your own safety.
To avoid eye injury, always wear protective glasses with side shields when using power tools. Also, make sure no one else can be injured by flying particles when using power tools.
Always wear ear protection, such as earmuffs or earplugs, when using power tools.
Wear protective cut-resistant gloves during installation to protect against sharp edges from sheet metal components.
Power Tool Hazard
To prevent personal injury or possible death, always follow the electrical safety recommendations of the power tool’s manufacturer.
- Do not use power tools in an unsafe manner.
- Power tools should only be connected to a circuit protected by a ground-fault circuit interrupter (GFCI).
- If an extension cord is required, always use an appropriate extension cord.
Shock and Electrocution Hazards
Failure to follow these instructions could result in severe electrical burns, significant injuries, and even death.
Water will conduct electric current to create a short circuit, resulting in injury or death.
- Never use electric power tools around water or wet floors/surfaces.
- Keep all liquids away from electrical cords and power tools.
- If an extension cord is required, always use an appropriate extension cord.
- DO NOT create a short circuit between a source of electricity and a liquid by being in contact with both simultaneously.
WARNING
Contacting live electrical wiring with power tools or hand tools can cause serious injury or death.
- Make sure all related circuit breakers are turned OFF.
- Test for live circuits or wiring inside any wall where installation of the product requires cutting into a wall.
Prior to any maintenance, make sure the unit is disconnected from the power source and the circuit breaker is turned OFF.
Prior to installation, test for live circuits or wiring inside the wall before cutting or drilling into the wall. Before working near any electrical circuit or wiring, remove all power and use a circuit tester to verify the power has been disconnected. Contact with live electricity can cause serious bodily injury and in some cases death.
CAUTION
These cautions indicate a potentially hazardous situation that, if not avoided, may result in minor or moderate injury. Follow all instructions related to the installation and/or maintenance of this product.
Tripping Hazard
Personal injury can result from tripping over power cords, tools, or other installation items. DO NOT leave items laying around the work area.
Cutting Hazard
The installation of this product requires using power tools.
Keep hands away from the cutting edge of any tool used in the installation of our product.
Placing fingers in or around the cutting blades could result in serious personal injury.
Use Proper Tools
Always use proper tools which are in good working condition during the installation of the product.
Property Damage
NOTICE
Inspect Before Cutting
Make sure no electrical wiring or plumbing is present before cutting into a wall.
Installation Preparation
NOTICE
The installation of this product requires electrical and plumbing connections that use specific skills and knowledge. If you are unsure or not qualified to make these connections, consult a qualified plumber, electrician, or installer for this installation. Professional installation is recommended.
General Information
- This water dispenser is designed for indoor use only and should not be installed outdoors or in a humid environment. This water dispenser should not be installed on exterior walls.
NOTICE
A water supply pressure below 40 psi will result in decreased water flow through the unit and damage to the product. A pressure above 105 psi will also cause damage to the product. - Make sure the water supply pressure to the product is between 40 and 105 psi. The water dispenser with filter requires 40 psi minimum water pressure.
- Use care when opening and removing the packaging to prevent damage to the product.
a. Inspect the product for any shipping damage and report it immediately to the location of purchase. Installation of a damaged product will void the warranty.
b. Confirm that all parts have been included for the proper installation of this product. Contact the location of purchase if damaged parts are found.
NOTICE
Make sure no electrical wiring, potable water inlet pipes, or drain water outlet pipes will be damaged during the installation of the product. Damage to any of these items can cause electrical damage, fire, and/or water damage. - Shut off the water supply source and disconnect power to the electrical circuit being used to operate the product before starting the installation.
Installation
Tools Required
| Tool | Used For |
| Tape Measure | Locate the mounting opening. |
| Wall Cutting Tool | Remove section of wall to insert unit. |
| Level | Proper mounting into the wall cavity. |
| Phillips Screw Driver | Remove electrical box cover. |
| Various Electrician’s Hand Tools | Connecting power source to the unit’s wiring. |
| Various Plumber’s Hand Tools | Connecting unit’s plumbing to the household water source and waste drain. |
| 3/32 Allen Wrench | Remove the front covers. |
Installer Supplied Parts Required
Description | Qty. |
| #8 Flathead Screws 1-1/4″ long. | 8 |
| Electrical | |
| 12/2 with ground electrical wire (depending on local building codes the installation could require rigid conduit, armored cable, or plastic sheath NM-B cable). | — |
| Electrical wire nuts (appropriate size). | — |
| GFCI circuit (connected into an electrical circuit). | 1 |
| Water | |
| 3/8″ flexible water tubing (copper or plastic) (insulated). | — |
| Quarter-turn shut off valve at the location of the water source. | 1 |
| 1/4 inch copper or plastic tubing if a remote filter is installed (insulated) | 15 feet or less |
| Optional Catch Basin Drain | |
| 1-1/4″ P-trap and related parts. | — |
| Plumbers Putty | — |
| Additional 3/4 inch drain hose if the installation requires a longer drain hose than the supplied 13-inch long hose. | — |
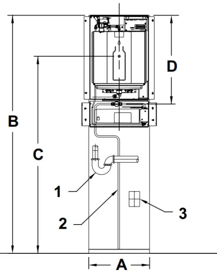
Critical Depth Dimensions
- Make sure the wall cavity is deep enough to house the water dispenser (dimension A).
- If the optional filter unit will be installed make sure there is adequate space to route electrical wiring between the wall and the filter box which is approximately 1-5/8″ for standard 2 x 4 wall construction.
Water Dispenser
A) 3-7/8″ (97 mm) deep. B) 19-7/8″ (505 mm) high.
Filter Unit
C) 6-5/8″ (169 mm) high. D) 2-3/8″ (61 mm) deep.
Mounting Height Dimensions
- The suggested water dispenser mounting height to the center of the water dispenser sensor (C) is 47 inches (1194 mm). This height can be adjusted higher or lower depending on the desires of the user.

Plumbing and Electrical Key
1) P-trap. 2) 3/8 inch flexible water tubing. (3) Electrical box.
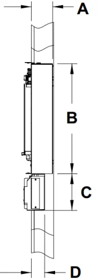
Recommended Opening Dimensions
The overall wall opening is 14-1/2 inches (368 mm) wide (A) by 55-3/4 inches high (B), top of the unit to the floor.
Unit Height (from the floor)
B) 55-3/4 inches (1441 mm).
Height (from the floor) to Bottle Filler
Sensor C) 47 inches (1194 mm).
Rough-in Reference Dimensions
D) 21-1/8 inches (537 mm) centerline of the filter water inlet.
Note Item 1: If the p-trap is sealed within the wall, under the water dispenser, all the plumbing joints must be glued. The glue must be appropriate for the PVC pipe utilized. If the p-trap uses threaded components, they must be easily accessible.
Note Item 2: According to most electrical codes, the electrical box cannot be sealed inside a wall cavity with no access. If the electrical connection is placed under the unit, a user-supplied removable wall cover will be required to access the junction box.
Water Dispenser Installation
There are several installation options available:
- Water dispenser with attached filter box and filter.
- Water dispenser with a remote filter.
Note: When the filter is located in a remote location, mount the filter vertically on a wall or other supporting structure. - Water dispenser with remote filter and chiller.
Note: When the filter is located in a remote location, mount the filter vertically on a wall or other supporting structure before the water chiller. - Water dispenser with optional waste drain.
Use the following sections to install the water dispenser using the appropriate configuration.
4.5.1 Installing Water Dispenser into the Wall
- Cut the opening into the wall using the suggested mounting dimensions as a guide.
- Place the unit into the wall cavity and slide it up against the drywall at the top of the opening. The unit is designed with a 1/4 inch overlap to conceal any irregularities at the top of the wall opening.

A 1/4 inch offset helps conceal any irregularities at the top of the wall opening. - Using a bubble level, level the water dispenser and attach it to the wall studs using four #8 flathead screws.

- Locate the electrical gang box, at the lower right-hand corner of the water dispenser, and remove the cover.
CAUTION
Follow all safety practices and industry regulations and standards when connecting any electrical device. A 15 AMP GFCI Circuit Breaker is required for safe installation. - Connect a 110 VAC power supply to the water dispenser. Route the wiring through the wall into the bottom of the electrical gang box.
a. Route the appropriate electrical wiring through a wiring clamp into the gang box.
b. Tighten the wiring clamp to prevent the wire from being pulled out of the gang box.
c. Connect black wire to supplied voltage line (black) wire and the white wire to neutral.
d. Use installer-provided wire nuts to insulate the connections.
e. If required by code a green grounding screw can be used to connect a grounding wire inside the gang box.
f. Reinstall the gang box cover.
NOTICE
Do not use a cord with a three-prong plug to power this unit.
Note: If an optional filter unit will be installed under the water dispenser, the space behind that filter box is limited so make sure any electrical wiring will not interfere with mounting the filter box into the wall. Refer to “4.3 Critical Depth Dimensions” on page 6 for additional information.
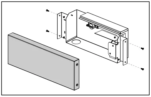
4.5.2 Installing the Filter Box
- If the filter unit is being installed in the wall opening under the water dispenser, replace the front cover of the water dispenser to help locate and align the filter box under the water dispenser.
NOTICE
It is recommended to attach the front cover with the top two mounting screws to prevent it from falling away from the water dispenser while the filter unit is being installed. - Place the filter unit into the wall opening and slide it up against the bottom of the water dispenser. Make sure the filter unit is in alignment with the water dispenser and, using four #8 flathead screws, start the screws to hold the unit in place.
Do not completely tighten the screws until the filter unit cover is installed and the fit between the water dispenser cover and the filter cover is checked.
Note: Some side-to-side and up-and-down movement of the housing is capable of accurately aligning the filter unit with the water dispenser. - Replace the filter unit cover and check the gap between the two covers. Adjust the filter box to create an even gap all the way across the units. Tighten all screws.
Create an even gap across the entire unit. - After aligning the two sections, remove the front cover from the filter unit by removing the four flat head screws from the right and left sides of the cover using a 3/32 Allen wrench.

4.5.3 Connecting the Water Lines
- Connect the 1/4 inch water line from the water dispenser to the filter housing.
- Connect the NFC wire.
NOTICE
Do not disconnect the 1/4 inch tubing from the water valve at the top of the water dispenser. This connection has been factory tested to be leak-free and could result in water leaking into the unit if this connection is changed.
a. If the filter unit is installed below the water dispenser, connect the 1/4 inch tube to the fitting below the filter, as shown.
b. If the filter is installed in a remote location, attach an installer-supplied length of 1/4 inch tubing to the 1/4 inch tubing from the water dispenser using a union coupling. The type of 1/4 inch tubing, copper or plastic, should meet all local regulations and building codes. This line should be insulated to prevent condensation.
Note: Do not place the remote filter more than 15 feet from the water dispenser. - Connect an installer-supplied 3/8 inch water supply tube to the quarter-turn shutoff valve, as shown. The type of tubing, copper or plastic, should meet all local regulations and building codes.
Note: Elkay also recommends installing a shutoff valve at the source of the water supply for the water dispenser.
Connecting the Optional Catch Basin Drain
The water dispenser does not require a drain connected to the household wastewater plumbing. The water dispenser has a built-in catch basin that will hold the typical overflow that can occur when using the product.
Some local building codes, however, may require a wastewater drain to prevent the potential overflow of water. The following steps cover the installation of the drain.
- Remove the two screws attaching the drainage basin to the water dispenser. Remove the drain basin.

- Place the drain basin on a flat, hard surface, such as a piece of sacrificial wood. Carefully drill a hole in the basin using a 1-inch hole saw using the centering dimple as a guide to center the hole saw.
Note: Do not use a 1-1/8 inch hole saw as this will make the opening too large.
- Place a small amount of plumbers putty around the lip of the strainer flange and insert it into the hole. If the flange does not fit, carefully open the size of the hole.

- Install the O-ring over the strainer threads.

- Thread the strainer into the drain adapter. Needle-nose pliers can be used to turn the drain adapter. Tighten the connection to create a watertight seal. The drain adapter must be facing to the left.

- Attach one end of the 3/4 inch flexible drain hose to the 3/4 inch barbed drain adapter connection using the supplied hose clamp. The supplied flexible drain is 13 inches long. If a longer drain hose is required, it must be installer-supplied.

- Place the drain basin back into the water dispenser and reinstall the two screws.

- Route the drain hose through the filter box and attach the other end to the p-trap drain adapter using a hose clamp. The drain adapter is designed to be glued into a 1-1/4 inch PVC pipe.

- Install the filter.
- Connect the drain adapter into the household waste drainpipe. If the p-trap is located inside a sealed wall, it must have permanently-glued joints.
If the p-trap is in an accessible location, a standard non-glued p-trap is acceptable.
Note: Whichever installation method is used, must meet local standards and building codes. - Install the metal cover. Do not install the drip tray if the unit is plumbed into the household waste line.
Remote Filter Location
The filter unit can also be installed remotely, up to 15 feet away from the water dispenser. The remote filter location is normally associated with the installation of a water chiller.
- If desired, remove the filter unit from the filter box.

- Securely mount the filter unit in the desired location.

- Connect a 3/8 inch water supply line, copper or plastic, to the quarter-turn shutoff valve.

- Connect a 1/4 inch insulated water line, copper or plastic, to the outlet connector of the filter.

- Connect the 1/4 inch insulated water line to either a remote chiller or the 1/4 inch water line on the water dispenser. Use a union connection fitting to connect the water line to the water dispenser.
NOTICE
Do not disconnect the 1/4 inch tubing from the water valve at the top of the water dispenser. This connection has been factory tested to be leak-free and could result in water leaking into the unit if this connection is changed. - If a remote chiller is installed, follow the installation instructions provided with that unit.
Remote Water Chiller
A remote water chiller can be installed in connection with the water dispenser to supply chilled water. The chiller must be installed within 15 feet of the water dispenser, in an accessible location. Install the chiller with adequate ventilation space as outlined in the water chiller manual.
The standard installation of the built-in water dispenser supplies filtered water at the ambient temperature of the water supply that comes into the unit. This temperature can vary greatly depending on the location of the incoming water line.
Follow the installation instructions that come with the water chiller. A filter unit must also be installed prior to the chiller, and the water line from the chiller to the water dispenser cannot be more than 15 feet long. When the filter is located in a remote location, mount the filter vertically on a wall or other supporting structure near the chiller.

Note: The remote chiller can take from 24 to 48 hours to provide completely chilled water. Water lines must be insulated to prevent condensation.
Startup
- Open the shutoff valve(s) for the water supply. Check for any water leaks.
- Place the ON/OFF switch in the upper left-hand corner of the water dispenser opening in the OFF position. Turn ON power to the unit (typically a circuit breaker).

- Move the power switch to the ON position and make sure the LED lights are lit.
- Remove the scratch-resistant protective layer that is covering the glass face, filter cover, and back wall covering.
Note: Not removing this layer will activate the IR sensor. - Place a container under the water dispenser spout to activate the fill sensor and dispense at least one gallon of water to bleed off any trapped air from the supply lines and filter as well as flush any fine carbon particles from the filter.
Note: The water dispenser is set to automatically shut off after 16 ounces of water has been dispensed to prevent overflow and potential flooding so multiple activations will be required to get the required one gallon of water flow through the unit. - If there are no leaks and the unit is functioning correctly, install the water dispenser cover and then install the filter box cover using the flathead screws and a 3/32 inch Allen wrench.
- Upon initial startup, the PLASTIC BOTTLES SAVED indicator panel should show several bottles have been saved due to the water used to initially start up the unit.
- The left-most FILTER LIFE indicator light should also be lit. This light shows the filter is functioning correctly and has used less than 65 percent of its capacity.
When the middle blue light illuminates, the filter has reached 66 percent of its life and will need to be changed soon. When this indicator light comes on, a replacement filter should be ordered.
The right-most red light will illuminate in red and indicates that the filter should be changed.
- Once the installation is complete, the water has been turned on, and any trapped air has been bled from the system re-check for any water leaks.
Cleaning
Warm, soapy water can be used to clean the exterior panels of the unit. Extra caution should be used to clean the glass cover panel. It can be easily scratched and should only be cleaned with mild soap and water or glass cleaner and a clean, soft cloth. Use of harsh chemicals (including bleach), petroleum-based, or abrasive cleaners will void the warranty.
Complete care and cleaning instructions can be found at http://www.elkay.com/care-and-cleaning and click on Drinking Water Products Care
For care of the outside surfaces of the water, dispenser refer to the Elkay website http://www.elkay.com/drinking-products-care
Maintenance
Filter Cartridge Replacement
A filter cartridge is designed to filter approximately 750 gallons of water at which time it must be replaced. The filter should also be replaced every 12 months if the 750-gallon maximum is not reached.
- Remove four screws from the filter box cover using a 3/32 Allen wrench (if the filter box is installed).

- Shut off the water supply using the shut-off valve. Turn the water shut-off valve handle to the OFF position (clockwise). The handle will be facing up when closed.

- Activate the water dispenser using a water bottle to relieve pressure in the water line.

- Shut OFF power to the unit at the circuit breaker.
- Place a towel inside the filter box, under the filter, to absorb any water that leaks out of the filter when it is removed.
- Twist the filter counterclockwise until it is disengaged.
Remove the filter and quickly hold it upright.
- Drain the filter before disposing of it in the trash. The filter can be discarded along with the everyday trash.
- Remove and discard the protective cap from the new filter cartridge.
- Mark the current date on the label of the new filter cartridge in the space provided.
- Attach the filter cartridge by firmly inserting it onto the filter head and twisting it clockwise until it is completely seated. The label must be facing outward to be correctly installed.

- Restore power to the unit at the circuit breaker.
- Check the filter status light. If the red light is blinking the filter is installed incorrectly. A steady blue light indicates the filter is installed properly.
- Open the water supply valve.
- Place a container under the spout to activate the fill sensor and dispense at least one gallon of water. This amount of water will bleed any trapped air from the supply lines and filter as well as flush any fine carbon particles from the filter.
Note: The unit is set to automatically shut off after 16 ounces of water has been dispensed to prevent overflow and potential flooding so activations will be required to get the needed one gallon of water flow through the unit. - Check for leaks.
- Re-install the filter box cover.
Troubleshooting
| Description | Possible Cause | Remedy |
| The water is not getting cold. | Standard water dispenser (non-chilled The water chiller is not operating properly. | The standard unit only supplies ambient temperature water. Refer to water chiller manual. |
| Water runs continuously from the water dispenser. | The sensor is defective or dirty. | Clean or replace sensor. |
| Solenoid or solenoid diaphragm is defective. | Replace solenoid water valve. Note: To verify the faulty solenoid, disconnect the power while water is running. If water flow does not stop immediately then replace the solenoid. | |
| Low water flow. | Supply water pressure is less than required. | Water pressure must be between 40 and 105 psi. |
| The filter is plugged. | Replace filter. | |
| Solenoid water valve not opening fully. | Replace solenoid water valve. | |
| No water flow. | No electrical power. | Restore power to the unit. |
| A water shut-off valve(s) closed. | Open all shut-off valves (one is located inside the filter box if installed and another may be at the water source). | |
| The bottle sensor is not operating properly. | The sensor is malfunctioning and must be replaced. | |
| Blocked or damaged water line. | Locate the affected line and remove blockage or damage. | |
| Blinking red light. | No filter. | Replace filter. |
| Filter incorrectly installed. | Check filter is completely installed. | |
| Blinking red and blue light. | Filter wire disconnected. | Check filter cable connections. |
Frequently Asked Questions (FAQ)
For FAQ questions refer to the Elkay website elkay.com/ezh2o-liv
Wiring Diagram


![]()
WWW.RESTROOMDIRECT.COM 704• 937• 2673 129 Oakpark Dr., Unit A, Mooresville, NC 28115
References
ezH2O Liv Water Dispensers | Elkay
Elkay | Sinks, Faucets, Bottle Filling Stations, Drinking Fountains
Elkay | Sinks, Faucets, Bottle Filling Stations, Drinking Fountains
Elkay Help Center
Elkay | Installation Services
Support and Resources | Elkay
Elkay Help Center
RestroomDirect: Commercial restroom fixtures and supplies, including: Hand dryers, Water Fountains, Bottle Fillers, Paper Towel & Toilet Paper Dispensers, Urinals and Flush Valves, Swimsuit and Spin Dryers, Grab Bars, Lavatory Mirrors and much more!
Water Dispenser

A 1/4 inch offset helps conceal any irregularities at the top of the wall opening.
CAUTION
NOTICE
Note: Some side-to-side and up-and-down movement of the housing is capable of accurately aligning the filter unit with the water dispenser.
Create an even gap across the entire unit.
NOTICE
b. If the filter is installed in a remote location, attach an installer-supplied length of 1/4 inch tubing to the 1/4 inch tubing from the water dispenser using a union coupling. The type of 1/4 inch tubing, copper or plastic, should meet all local regulations and building codes. This line should be insulated to prevent condensation.
Note: Do not place the remote filter more than 15 feet from the water dispenser.
Note: Elkay also recommends installing a shutoff valve at the source of the water supply for the water dispenser.












Note: The water dispenser is set to automatically shut off after 16 ounces of water has been dispensed to prevent overflow and potential flooding so multiple activations will be required to get the required one gallon of water flow through the unit.
























