PURE Pop Maxi with Bluetooth Stereo DAB
Digital and FM Radio User Guide

Pop Maxi with Bluetooth
Thank you for choosing Pop Maxi with Bluetooth. This manual will get you up and running in no time, and explains how to make the most of your product.

Safety
Safety information
- Familiarise yourself with all of the safety information and instructions before using the radio. When passing this radio on to others, please include all documents.
- The apparatus shall not be exposed to dripping or splashing and that no objects filled with liquids, such as vases, shall be placed on the apparatus. If liquid or water is spilled on to the radio, switch it off at the mains immediately, disconnect the mains plug and contact your dealer. Never touch the plug or the radio itself with wet hands. Never pull the power cable when disconnecting the power adaptor from the power supply.
- Danger of explosion if the batteries are incorrectly replaced (ensure correct polarity). Replace only with the same or equivalent type (4 x AA). The batteries or battery (ChargePAK D1) shall not be exposed to excessive heat such as sunshine, fire or similar. Keep new and used batteries and ChargePAKs away from children. Attention is drawn to the environmental aspects of battery disposal.
- Using the radio in rooms or climates with high humidity and temperatures may cause condensation to form inside the radio, which can damage the radio. Use apparatus in moderate climates only.
- Avoid extreme degrees of temperature,either hot or cold. Place the device well away from heat sources such as radiators or gas/electric fires. No naked flame sources, such as lighted candles, should be placed on the apparatus.
- The mains power adapter is used as the disconnect device, the disconnect device shall remain readily operable. Fit the mains adaptor to an easily accessible socket located near the radio and only use the mains power adaptor to connect to this product.
- Use only the mains power adaptor listed in the user instructions (supplied by Pure with model numbers ZDL0553000, ZDL0553000BS, SW553000-NM or SW553000-N01).
- Ensure that the available supply voltage corresponds with the required operational voltage of the radio before use.
- Disconnect your radio from the power supply if you will not use your radio for a long period of time (e.g. if you are going on holiday).
- Always unplug your radio from the mains socket before cleaning. When cleaning the radio, do not use any type of abrasive pad or abrasive cleaning solutions as these may damage the radio’s surface.
- To reduce the risk of electric shock, do not remove any screws as there are no user-serviceable parts inside. Refer servicing to qualified personnel.
- Ensure adequate ventilation around the product particularly when charging.
ChargePAK D1 safety instructions
- Read the instructions for ChargePAK use in this document.
- Only use your ChargePAK with original Pure products. Use only the original Pure ChargePAK D1. Caution: Danger of explosion if battery is incorrectly replaced or another type used.
- Store ChargePAK in a cool, dry place at normal room temperature. Remove from devices that will be stored unused for extended periods.
- Do not puncture, modify, drop, throw, or cause other unnecessary shocks to your ChargePAK. May present a risk of fire, explosion, or chemical burn if mistreated.
- Do not dispose of ChargePAK in a fire or incinerator, or leave in hot places such as a motor car under direct sunlight. Do not store near oven, stove, or other heat source.
- Do not connect ChargePAK directly to an electrical source, such as a building outlet or automobile power-point. Do not place into a microwave oven, or any other high-pressure container.
- Do not immerse ChargePAK in water or otherwise expose it to liquids.
- Do not short circuit ChargePAK.
- Do not use or charge a ChargePAK that appears to be leaking, discoloured, rusty, deformed; emitting an odour; or is otherwise abnormal.
- Do not touch a leaking ChargePAK directly; wear protective material to remove and dispose of it properly immediately.
- Do not store where children may have access.
- Dispose of ChargePAK as per normal rechargeable batteries according to the local laws and regulations of your region.
Symbols on the product and in the user manual

Introduction
Top panel

A. Power/Volume dial: Push to switch Pop on/off. Turn to adjust volume.
B. Menu button: Press to change various settings on Pop (see page 15 for more information).
C. Select buttons: Press to change radio stations (see page 9) or press to scroll and select menu options.
D. Source: Press to switch between listening to digital radio, FM radio and auxiliary input.
E. Presets 1 – 5+: Store up to 10 digital or 10 FM radio preset stations (see page 10 for more information).
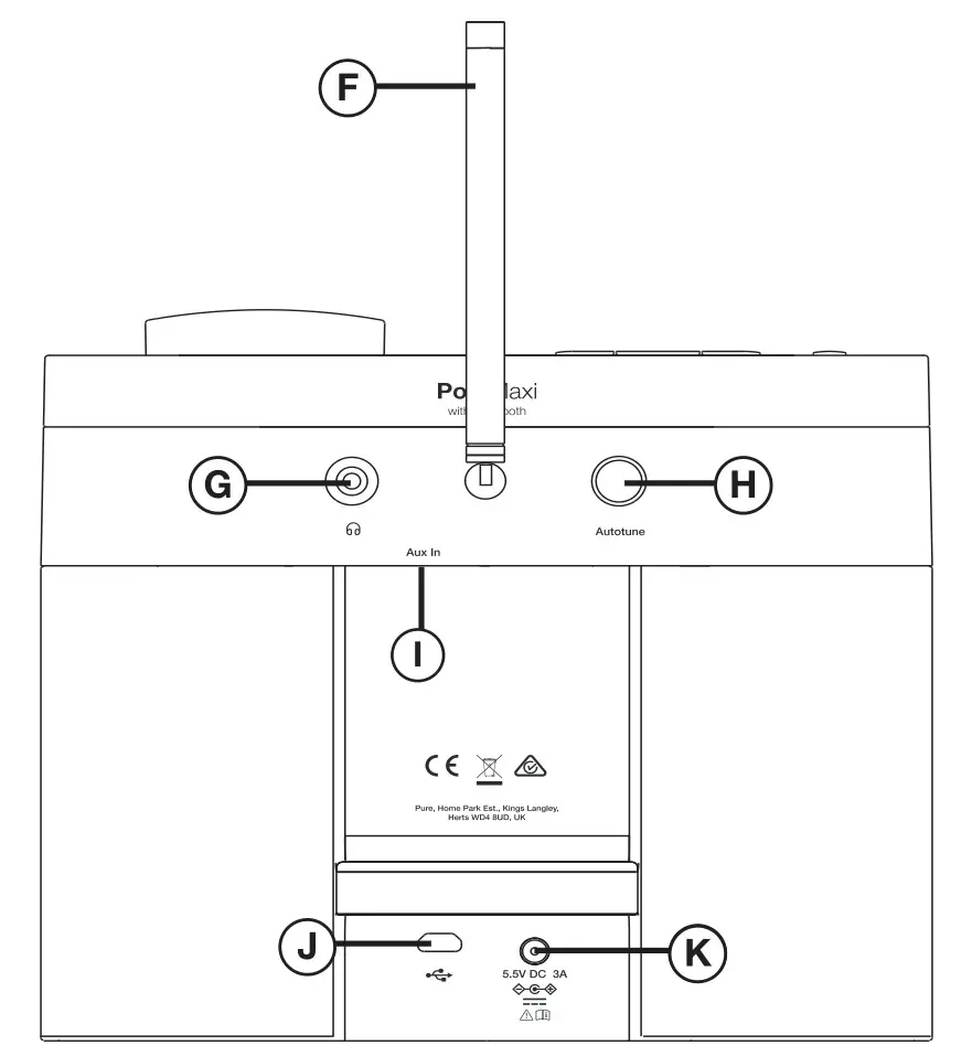
Rear panel

F. Aerial: Rotate the aerial and fully extend it for best reception.
G. Stereo headphone socket (3.5mm)
H. Autotune button: Press to automatically scan for new digital radio stations and remove inactive ones.
I. Auxiliary input (3.5mm): Analogue stereo input for iPod, MP3 player, etc.
J. Micro-B USB connector: Used for updating Pop’s software.
K. 5.5V power connector: Connect to supplied mains adapter only.
Display

- Displays current time.
- ChargePAK or battery indicator.
- Source indicator (DR= digital radio, FM= FM radio, AUX= auxiliary input,
= Bluetooth). - Station name.
- Signal strength.
- Volume indicator.
- Displays date, scrolling text, settings and station information (see page 17).
- AM/PM indicator.
- Alarm set indicator (see page 13).
- Sleep and kitchen timer indicator (see page 14).
- Snooze indicator (page 14).
Getting started
Quick set up
Note: If you have a ChargePAK D1 rechargeable battery (sold separately) fit it now before plugging Pop in. See page 20 for more information.




Using your Pop

Storing and selecting presets
You can store up to 10 digital and 10 FM radio stations for quick access.

Using Bluetooth
You can use Bluetooth to stream any music from your phone or tablet to Pop.
Note: When using Bluetooth to stream music to Pop, you will need to use your phone or tablet’s volume controls to change Pop’s volume.
Pairing a mobile device with Pop
Before you can stream audio to Pop, you will need to pair your phone or tablet with Pop.
Note: Bluetooth pairing varies on different mobile devices. See your mobile device manual for specific information.
To pair with Pop using Bluetooth:
- Enable Bluetooth on your mobile device.
- On your mobile device, select the option to add a new Bluetooth device. On some mobile devices you may need to select the search or scan option.
- Start the pairing process on your mobile device. Do this by selecting ‘Pop’ from the list of available devices that appear on the mobile device’s screen.
This will connect automatically once paired.
Disconnecting a mobile device from Pop
You can only have one mobile device connected to Pop via Bluetooth at any one time. If you want to stream audio from a different mobile device, you will need to disconnect any mobile device that is currently connected to Pop via Bluetooth first.
If your mobile device goes out of Pop’s Bluetooth range (this is usually around 10m (30ft)) the mobile device’s Bluetooth connection is disconnected automatically.
To manually disconnect your mobile device from Pop, you will need to open the Bluetooth settings on your mobile device (see your mobile device’s manual for more information).
When you disconnect a mobile device from Pop, Pop will remain in the ‘Bluetooth’ source. To select another source, e.g. digital radio, press the Source button.
Note: For more help with Bluetooth, see our ‘Help and advice’ on page 21.
Using the auxiliary input
You can use Pop’s auxiliary input to play any music from your phone or tablet on to Pop.
Note: When playing music using Pop’s auxiliary input, you will need to use your phone or tablet’s volume controls to change Pop’s volume.
Connecting an auxiliary device to Pop
Connect the line out or headphone socket of your auxiliary device to the Aux In socket on your Pop using a suitable cable.

Selecting the auxiliary input

Alarms and timers
Note: If Pop is running on batteries or a ChargePAK, Pop’s alarm function will not work if you turn Pop off after setting an alarm.

Cancelling a sounding alarm
To cancel a sounding alarm, press the Source, <Select> or Menu buttons.
Snoozing a sounding alarm
To snooze a sounding alarm, press one of the Preset buttons. By default, Pop ‘s snooze time is set to eight minutes. To change the default snooze time see page 18.
Disabling an alarm
To disable an alarm after it has been set:
- Press the Menu button and scroll < > to ‘Alarm’ and press the Select button.
- Scroll < > to the alarm that you want to disable (‘Alarm1’ or ‘Alarm2’) and press the Select button.
- Scroll < > to ‘Off’ and press the Select button.
- The alarm icon will turn off on Pop’s display to show that the alarm has been disabled.
Setting the sleep timer
The sleep timer can be set to switch Pop off after a specific period of time.
Note: If Pop is running on batteries or a ChargePAK, Pop’s sleep function is disabled.
- Press the Menu button.
- Scroll < > to ‘Sleep timer’ and press the Select button.
- Scroll < > and press the Select button to set the timer for up to 90 minutes or choose ‘Sleep off’ to cancel.
Setting the kitchen timer
Pop has a countdown kitchen timer which will sound an alarm after a set time period.
- Press the Menu button.
- Scroll < > to ‘Kitchen timer’ and press the Select button.
- Scroll < > to change the hours and press the Select button.
- Scroll < > again to change the minutes and push to confirm and start the countdown timer.
The alarm will sound after the time period you have set whether the radio is on or in standby. Cancel the beeping alarm tone by pressing either the Source, <Select> or Menu buttons.
Options and settings
General settings
Changing the language shown on the display
To switch the display language on Pop between English, French, German, Italian and Spanish:
- Press the Menu button.
- Scroll < > to ‘Settings’ and press the Select button.
- Scroll < > to ‘Language’ and press the Select button.
- Scroll < > and press the Select button to choose the language that you want Pop to display
Resetting Pop to factory settings
Resetting your Pop radio removes all presets, clears the station list and resets all options to defaults. To carry out a factory reset:
- Press the Menu button.
- Scroll < > to ‘Settings’ and press the Select button.
- Scroll < > to ‘Factory reset’ and press the Select button.
- Scroll < > to ‘Yes’ and press the Select button.
Displaying Pop’s software version
To display software version that is currently running on Pop:
- Press the Menu button.
- Scroll < > to ‘Settings’ and press the Select button.
- Scroll < > to ‘Version’ and press the Select button.
Updating Pop to the latest version of software
Contact Pure technical support (http://support-uk.pure.com) for more information on how to update Pop to the latest software version.
Audio settings
You can use Pop’s audio menu to adjust the bass and treble.
- Press the Menu button.
- Scroll < > to ‘Audio’ and press the Select button.
- Scroll < > to ‘Bass’ or ‘Treble’ and press the Select button.
- Scroll < > to adjust the bass or treble levels. You can choose a level between ‘-3’ and ‘+3’.
- Press the Select button to confirm the bass or treble level.
Display settings
Adjusting the display brightness
You can adjust the brightness of the display when Pop is switched on or in standby. To change the brightness of Pop’s display:
- Press the Menu button.
- Scroll < > to ‘Display’ and press the Select button.
- Scroll < > to ‘Backlight’ and press the Select button.
- Scroll < > to ‘Active’ and press the Select button to change the settings that apply when Pop is switched on, or scroll to < > ‘Standby’ and press the Select button to change settings that apply in standby.
- Scroll < > to ‘Brightness’ and press the Select button.
- Scroll < > to choose a brightness level between ‘1’ and ‘5’ or choose ‘Auto’.
The ‘Auto’ setting automatically dims or brighten Pop’s display based on the light level in the room. - Press the Select button to confirm the brightness setting.
Adjusting how long the display backlight stays on for
You can adjust how long Pop’s display backlight stays on for:
- Press the Menu button.
- Scroll < > to ‘Display’ and press the Select button.
- Scroll < > to ‘Backlight’ and press the Select button.
- Scroll < > to ‘Active’ and press the Select button to change the settings that apply when Pop is switched on, or scroll to < > ‘Standby’ and press the Select button to change settings that apply in standby.
- Scroll < > to ‘Duration’ and press the Select button.
- Scroll < > to choose from ‘Always on’ or ‘Timed off’ and press the Select button.
Changing the information shown on Pop’s display
If you are listening to a digital or FM radio station, you can change the information that is shown on Pop’s display:
- Press the Menu button.
- Scroll < > to ‘Display’ and press the Select button.
- Scroll < > to ‘Information’ and press the Select button.
- Scroll < > and press the Select button to choose one of the following options:
Text: Choose this option if you want to display the information broadcast by the station you are currently listening to. The information displayed may include song titles, programme details, news, etc.
Signal strength: Choose this option if you want to display the signal strength of the radio station you are currently listening to. The number of asterisks indicate the reliable reception level.
Date: Choose this option if you want to display the current date.
Clock settings
Setting the time and date
The time and date on Pop are automatically set by the FM or digital radio signal. If the time/date on Pop is not updating automatically, you can manually set it.
- Press the Menu button.
- Scroll < > to ‘Clock’ and press the Select button.
- Scroll < > to ‘Set time/date’ and press the Select button.
- Scroll < > to set the hour and press the Select button. Repeat to set the minutes.
- Scroll < > to set the day and press the Select button. Repeat to set the month and the year.
Changing the time format
- Press the Menu button.
- Scroll < > to ‘Clock’ and press the Select button.
- Scroll < > to ‘Set 12/24 hour’ and press the Select button.
- Scroll < > to choose between ‘12 hour’ and ‘24 hour’ and press the Select button to confirm.
Changing the date format
- Press the Menu button.
- Scroll < > to ‘Clock’ and press the Select button.
- Scroll < > to ‘Set date format’ and press the Select button.
- Scroll < > to choose between displaying the date in day, month and year order ‘DD-MM-YYYY’ or in month, day and year order ‘MM-DD-YYYY’ and press the Select button to confirm.
Clock synchronization options
You can select the radio sources that you want to use for setting the time. By default, Pop uses both the FM and digital radio signals to synchronize the time.
To specify the clock synchronization options:
- Press the Menu button.
- Scroll < > to ‘Clock’ and press the Select button.
- Scroll < > to ‘Clock sync’ and press the Select button.
- Scroll < > to choose the required clock synchronization option and press the Select button to confirm.
Changing the snooze time
You can change the amount of time an alarm will snooze for when you press one of Pop’s preset buttons during a sounding alarm. By default, Pop’s snooze time is set to eight minutes.
To change Pop’s snooze time:
- Press the Menu button.
- Scroll < > to ‘Clock’ and press the Select button.
- Scroll < > to ‘Snooze’ and press the Select button.
- Scroll < > to choose a snooze time between ‘5’ and ‘59’ minutes and press the Select button to confirm.
Bluetooth settings
You can use the Bluetooth menu to make Pop visible or invisible to other Bluetooth devices.
To change Pop’s Bluetooth visibility setting:
- Press Menu.
- Scroll < > to ‘Bluetooth’ and press the Select button.
- Scroll < > and press the Select button to choose one of the following options:
Discoverable: Select this option if you want Pop to be visible to all Bluetooth devices.
Hidden: Select this option if you want to hide Pop from other Bluetooth devices. You will still be able to pair to Pop when Bluetooth is hidden, but you will need to enter Pop’s name manually on the device you want to pair with.
Off: Select this option if you want to disable Pop’s Bluetooth connection.
Appendix
Installing a ChargePAK D1 or four AA batteries

Help and advice
Secondary and inactive stations
(</>) Secondary digital radio services
Some stations have accompanying secondary services which provide extra information or alternative content and may only be broadcast at certain times. If a station has a secondary service available, the station shows ‘>’ next to its name in the station list and the secondary service appears next to the station in the list. A secondary service has a ‘<’ before its name in the station list.
(?) Inactive or unavailable digital radio stations
Inactive or unavailable stations appear on the station list preceded by ‘?’ and cannot be tuned to. A station may be inactive or unavailable because the station is not broadcasting at the current time (check programme listings) or has stopped broadcasting altogether. Also, you may not have a strong enough signal to receive the radio station.
Hints and tips
Display says ‘No stations available’
Press the Autotune button on the back of your Pop to search for digital stations.
Try adjusting your aerial or radio position.
Receiving new digital radio stations that have started broadcasting
Press the Autotune button on the back of your Pop to search for new digital stations. Try adjusting your aerial or radio position.
I can’t see Pop in the list of available Bluetooth devices on my mobile device
This may be because your Pop Bluetooth visibility setting is set to ‘Hidden’ or ‘Off’ (see page 19). Your Bluetooth setting will need to be set to ‘On’ to be visible on your mobile device.
My mobile device is prompting me for a passcode when I try to pair with my Pop
Some legacy Bluetooth devices may prompt you to enter a passcode when trying to pair with Pop. If this occurs, enter the code ‘0000’.
Technical specifications

Copyright
Copyright 2018 by Pure International Limited. All rights reserved. No part of this publication may be copied or distributed, transmitted, transcribed, stored in a retrieval system, or translated into any human or computer language, in any form or by any means, electronic, mechanical, magnetic, manual or otherwise, or disclosed to third parties without the express written permission of Pure International Limited.
Trademarks
Pop Maxi with Bluetooth, ChargePAK, Pure and the Pure logo are trademarks or registered trademarks of Pure International Limited. All other product names are trademarks of their respective companies.
Warranty Information
Pure International Limited warrants to the end user that this product will be free from defects in materials and workmanship in the course of normal use for a period of two years from the date of purchase. This guarantee covers breakdowns due to manufacturing or design faults; it does not apply in cases such as accidental damage, however caused, wear and tear, negligence, adjustment, modification or repair not authorised by us. Should you have a problem with your unit please contact your supplier or contact Pure Support at the address shown on the rear of this manual.
Disclaimer
Pure International Limited makes no representation or warranties with respect to the content of this document and specifically disclaims any implied warranties of merchantability or fitness for any particular purpose. Further, Pure International Limited reserves the right to revise this publication and to make changes in it from time to time without obligation of Pure International Limited to notify any person or organisation of such revisions or changes.
Correct disposal of this product
This marking indicates that this product should not be disposed with other household waste throughout the EU. To prevent possible harm to the environment or human health from uncontrolled waste disposal, recycle it responsibly to promote the sustainable reuse of material resources. To return your used device, please use the return and collection system or contact the retailer where the product was purchased. They can take this product for environmental safe recycling.
Pure International Limited
Home Park Road
Kings Langley
Herts, WD4 8UD
United Kingdom
www.pure.com
http://support.pure.com
Pure
Deutschland
[email protected]
http://support.pure.com

107NE_01



















