Hamilton Beach HBWC109-WHITE Water Dispenser

BEFORE USE, PLEASE READ AND FOLLOW ALL SAFETY RULES AND OPERATING INSTRUCTIONS.
Hamilton Beach ® is a registered trademark of Hamilton Beach Brands,Inc. used under license by Curtis International Ltd.
For service assistance and product information, please call: 1-800-968-9853. Curtis International Ltd. 7045 BECKETT DRIVE, UNIT 15, MISSISSAUGA, ON, L5S 2A3 www.curtisint.com
Important Safeguards
- When using electrical appliances, basic safety precautions should always be followed, including the following:
- WARNING: BURN HAZARD. The product heats water to a temperature of approximately 95° C / 203° F. Water temperatures above 52° C / 125° F can cause severe burns or death from scalding. Children should be supervised by an adult when using this product.
- WARNING: FIRE HAZARD. Do not store or use gasoline or other flammable vapors and liquids in the vicinity of this or any other appliance. Do not operate the dispenser with a damaged cord. Do not use with an under rated extension cord or an extension cord without a ground.
- WARNING: SHOCK HAZARD. Unplug the water dispenser before cleaning or wiping up spilled water on unit Do not attempt to service the dispenser. Do not operate dispenser with a damaged cord.
- NOTE: The water pump system includes a special safety feature that prevents operation when the water bottle is empty. Water pump
operation is also linked to the Door Switch (see # 10 on the Parts and :Features list) mounted inside of the lower storage compartment. When you replace the water bon:le, remember to close the Lower Door (see # 8 on the Parts and Features list). - Never turn the product upside down or tilt more than 45 degTees. f the unit has been resting on its side or upside down for a long period of time, the unit must be put in the upright position for approximately 12 hours before turning it on.
- Never use this dispenser with water that is unsafe to drink or is from an unknown source.
- Never use any other liquids in this dispenser other than bottled water.
- Install this water dispenser in a dry place away from direct sunlight. For indoor use only.
- Never put anything flammable close to the dispenser.
- Leave a minimum of 2″ {5 cm} around the back and sides of the dispenser for proper ventilation.
- Regular cleaning of the water dispenser is required for proper operation. Clean the dispenser every four months using the instructions in this manual.
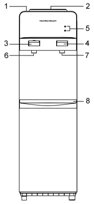
NAME AND STRUCTURE

- Power ON/OFF switches at rear
- Water Bottle Inlet
- Hot Water Button
- Cold Water Button
- Indicator Lights
- Hot Water Faucet
- Cold Water Faucet
- Water Drip Tray
OPERATION
- Ambient temperature
- Temperature 0-35°C
- Atmosphere 86-106 kpa
- VOLTAGE:115V/60HZ
- Position the water cooler on the horizontal, structurally sound ground. Leave an adequate open space (10-20 cm) behind the water cooler for good ventilation.
- When using the bottles holding ultra-pure water, distilled water or space water with the so-called clever lid, tear off the hygienic labels on the lid. Place the bottles at the intake, then the core of water guard will automatically open the valve and seal it in the meantime, when moving the bottles, the valve will also seal automatically to avoid any possible oozing.
- Push the hot water valves, bubbles are generated inside the bottle, indicating that water is flowing into hot water and cold water tanks, keep pressing the hot water valve until water flows out, dispensing cold water required need no particular adjustment.
- Caution: Do not connect the electrical power plug until water comes out of the hot water tap.
- After water is flowing out from the hot tap, then open the switch at the back side.
- Turn the heating switch on, the red indicator is on and the heating system starts working. When the hot water comes up (86-95°C) or so, the red light goes off, the heating system stops working, and it is on a warm keeping status.
- When the hot water temperature is lower than 85°C, the heating system will resume working again automatically.
- Turn on the cooling switch, the green indicator is on and the cooling system starts working. When the cold water falls down to 5-10°C (for compressor-cooling), the green light goes off, the cooling system stops working, and it is on a cold keeping status.
- When the cold water temperature goes up to a set degree, the cooling system will resume working again atomically.
- Since the temperature has already been adjusted, it is unnecessary for customers to set the temperature.
- If device is not applied for a long time, after the hot water cools down, please remove the power plug and revolve the drain the rest water in the hot tank then tighten the cap open the cold water tap to drain the rest water in the cold tank.
- If there is no water flowing from cooling tap, please shut down the cooling switch until there is water flowing out.
CAUTION
- The back of the device should be kept away from wall and high temperature elements, TV or video valuables and be put in shady places.
- Do not switch on untilwater comes out of the hot water valve to prevent any damage on the heating tube.
- During operation keeping it beyond the children to avoid scald.
- Never turn on the heating switch when there is no water
- When carrying it, the angle of inclination should be less than 45°.
- Choose the proper electrical wire and plug, keep the plug from being too hot. Meanwhile, adopt the ground wire to avoid any electric shock. Please shut down the power before leaving or during night.
- This appliance is not intended for use by persons (including children) with reduced physical, sensory or mental capabilities, or lack of experience and knowledge, unless they have been given supervision or instruction concerning use of the appliance by a person responsible for their safety.
- Children should be supervised to ensure that they do not play with the appliance.
- Household used only.
- If the supply cord is damaged, it must be replaced by the manufacturer, its service agent or similarly qualified persons in order to avoid a hazard.
- WARNING— Do not use electrical appliances inside the food storage compartments of appliance,unless they are of the type recommended by the manufacturer.
MAINTENANCE
- Remove power plugs or disconnect from the mains before performing any maintenance or servicing the product.
- Never use detergent or chemicals harmful to health to clean the water tank.
- Do not directly spray water on the surface of the product.Wipe the front and back of the product with water-soaked soft cloth.
- If dust of other foreign substance has accumulated on the condenser, wipe off with water soaked soft cloth.
- After cleaning the product, completely dry it. Fill the water with the tanks until water comes out of the hot water tap, then connect the electric power plug. If the surface of the electric heater in the hot water tank is deposited by water deposition, heating capacity will decrease. Fill hot water tank with aqueous solution of 2%edible citric acid and keep it for about two hours then cleaning. If the problems can not be solved contact your dealer or the service center of our company.
- If the supply cord on this device is damaged. It must be replaced with a special cord switch is obtainable at the service center of our company.
TROUBLESHOOTING GUIDE
| Problem | Possible cause |
| Water cooler does not operate | Not plugged in The circuit breaker tripped or blown fuse. |
| Water cooler is not cold enough | Check to be sure the cold switch on the back is on. The water cooler does not have the correct clearance. |
| Water cooler hot water is not hot enough | Check to be sure the hot switch on the back is on. |
| Compressor turns on and off frequently | The room temperature is hotter than normal. The water cooler does not have the correct clearance. |
| Vibration | Check to assure that the water cooler is level |
| The water cooler seems to make too much noise | The rating noise may come from flow of the refrigerant, which is normal. As each cycles ends, you may hear gurgling. Sound cause by the flow of refrigerant in your water cooler. Contraction and expansion of inside walls may cause popping and cracking noises. The water cooler is not level. |
| Will not dispense hot water. | It may be caused by dry burn. Unplug the power cord and wait for more than 1 hour.Then plug in, and fill the tank with the water, the hot tank may work again. |
WIRING DIAGRAM

To make a warranty claim, do not return this product to the store. Please email [email protected] or call 1-800-968-9853.
1 Year Warranty
- This product is warranted to be free from defects in material and workmanship for a period of one (1) year from the date of original purchase. During this period, your exclusive remedy is repair or replacement of this product or component found to be defective, at our option; however, you are responsible for all costs associated with returning the product to us. If the product or component is no longer available, we will replace with a similar one of equal or greater value. Prior to a replacement being sent, the product must be rendered inoperable or returned to us.
- This warranty does not cover glass, filters, wear from normal use, use not in conformity with the printed directions., or damage to the product resulting from accident, alteration, abuse, or misuse. This warranty extends only to the original consumer purchaser or gift recipient. Keep the original sales receipt, as proof of purchase is required to make a warranty claim. This warranty is void if the product is used for other than single-family household use or subjected to any voltage and waveform other than as on the specified rating on the label (e.g., 120V~60Hz).
- We exclude all claims for special, incidental, and consequential damages caused by breach of express or implied warranty. All liability is limited to the amount of the purchase price. Every implied warranty, including any statutory warranty or condition of merchantability or fitness for a particular purpose, is disclaimed except to the extent prohibited by law, in which case such warranty or condition is limited to the duration of this written warranty. This warranty gives you specific legal rights. You may have other legal rights that vary depending on where you live. Some states or provinces do not allow limitations on implied warranties or special, incidental, or consequential damages, so the foregoing limitations may not apply to you.
- For faster service, locate the model, type, and serial numbers on your appliance.
- ATTACH YOUR PROOF OF PURCHASE HERE, PROOF OF PURCHASE IS REQUIRED TO OBTAIN WARRANTY SERVICE.
- Please have the following information available when you contact the Support Team:
- Name, address and telephone number.
- Model number and serial number.
- A clear, detailed description of the problem.
- Proof of purchase including dealer or retailer name, address and date of purchase.


















