PANDUIT WME3BL Vertical Wall Mount Enclosur

Product Information
- The Vertical Wall Mount Enclosure is a product designed for securely mounting equipment and organizing cables on a wall. It is available in three different models: WME3BL, WME6BL, and WME9BL. The enclosure comes with several components including horizontal active E-rails, passive E-rails, screws, bonding screws, hook & loop cable tie, keys, and grommet edging. It has a maximum load rating of 200 LB for WME3BL, 300 LB for WME6BL, and 400 LB for WME9BL.
- The enclosure features a removable top lid that is perforated for airflow. It also has rack units for patch panels, reversible door hinges, wall pass-thru knock-out, adjustable horizontal active E-rails, side brackets for mounting E-rails, multiple conduit box mounting locations, removable bottom plate, T70 raceway knock-out, and removable plates for additional cable capacity. Optional accessories like Equipment Grounding Bracket Kit, Fan Kit, Zero RU Bracket, Brushed Entry Kit, Bonus 1 RU Bracket, Additional Active Equipment Rails, Door and Lid Grounding Kit, Air Filter Kit, and Air Filter Media Replacement Kit are also available.
Product Usage Instructions
- Inspect the wall where you want to mount the enclosure. Ensure that the wall is flat to prevent distortion of the enclosure when tightened. If the wall is not flat, use shims if necessary.
- Make sure that the wall structure has sufficient strength to support both vertical and horizontal loads.
- The wall surface should extend beyond the back panel on every side. Do not install the enclosure with the back panel extending beyond the edge of the wall.
- Remove the door, top lid, bottom plate, and both vertical bracket assemblies for ease of installation.
- Locate the wall studs, typically 16 inches on center in most U.S. cases.
- PANDUIT recommends mounting the top of the enclosure at 6 feet from the floor. Ensure at least 4 inches of clearance on the left and right sides of the enclosure and 10 inches of clearance from the bottom of the enclosure to allow for proper airflow and heat dissipation.
- Mount the enclosure to the wall studs using 3/8 lag screws and washers (not provided). The screws must penetrate wood studs at least 1.5 inches after accounting for wall material thickness.
- Ensure there is a minimum clearance of 4 inches for cable knock-outs and electrical knock-outs.
For further technical support, visit www.panduit.com.
WME3BL, WME6BL, & WME9BL
List of Components:
- (1) Pair of Horizontal active E-rails
- (1) Pair of Passive E-rails
- (4) #12-24 screws
- (4) M5 thread forming bonding screws
- (1) Roll of TAK-TY hook & loop cable tie
- (2) Keys
- (1) Roll of grommet edging
MAXIMUM LOAD RATING
- WME3BL – 200 LB [91 kG]
- WME6BL – 300 LB [136 kG]
- WME9BL – 400 LB [181 kG]

INSTALLATION

| ENCLOSURE | DEPTH |
| WME3* | 9.5″ [240mm] |
| WME6* | 14.7″ [374mm] |
| WME9* | 19.9″ [506mm] |
Optional Accessories


(view shown with door removed) 

Mounting Enclosure to Wall / Electrical Box Installation
- Inspect desired mounting wall before installation.
- Wall shall be flat to prevent distortion of the enclosure when tightened to a wall. This could prevent the door from aligning properly. If wall is not flat, shims may be required.
- Wall structure shall have sufficient strength to support both vertical and horizontal loads.
- Wall surface shall extend beyond the back panel on every side. Do not install the enclosure with the back panel extending beyond the edge of the wall.
- Remove door, top lid, bottom plate, and both vertical bracket assemblies for ease of installation.

- Locate the wall studs (16″ on center in most U.S. cases).
- PANDUIT recommends mounting the top of the enclosure at 6’ from the floor (See View 1). Ensure at least 4″ clearance on left and right sides ofenclosure and 10″ clearance from the bottom of the enclosure. Obstructions to the airflow through perforation may prevent heat dissipation.
- Mount to studs in six locations with 3/8″ lag screws and washers (not provided). Screws must penetrate wood studs at least 1.5″ after accounting for wall material thickness.
- Reinstall vertical bracket assemblies and bottom plate. Torque M6 nuts to 7.3 ± 0.6 N-m (65.0 ± 5.0 in-lbs). Determine if you will be mounting the electrical box in the wall or inside the enclosure.

- If Mounting Electrical Box in the Wall: Remove desired breakout from back of enclosure. Determine location for mounting electrical box in wall.
- If Mounting Electrical Box inside Enclosure: Determine which side of enclosure the electrical box will be mounted. There are two options for routing the conduit when mounting the electrical box inside the enclosure.
- Option 1 – Inside of Enclosure: Mount electrical box on desired side of enclosure using PEM studs (nuts not included). Remove knockout from top of enclosure on corresponding side of mounted electrical box. Run conduit through knockout hole along inside edge of enclosure to the electrical box. (See View 3)
- Option 2 – Outside of Enclosure: Remove knockout from side of enclosure the electrical box will be mounted. Mount the electrical box. Run conduit along the outside of enclosure and connect to electrical box through the knockout hole (See View 3b).

Reversing Door and Handle
- Remove door by opening to 90°, and lifting up over the hinge pins. Remove the hinge pins.
- Remove hinges using a 7/16″ wrench/ratchet to loosen the nuts. Remove nuts, washers, & bolts.
- Remove door latch using T25 torx driver to remove the screws.
- Re-install hinges and door latch to the opposite side. Re-install hinge pins.
- Remove door handle by removing the handle support bracket using an M10 wrench/ratchet. Remove handle from the door.
- Loosen cam screw using an M10 wrench/ ratchet. Do not remove. Rotate the cam lock 180°, and the cam stop 90°. Tighten the cam screw.

- Rotate door 180°. Re-attach the door handle so the cam aligns with the door latch.
- Re-attach door by lining up the door hinges and lowering the door on to the hinge pins.
- If rubber bumpers are not pre-installed, apply to

Attaching Door Guide Ramp
- Align door guide ramp with the lower square holes on the side of the enclosure opposite of the door hinge.
- Assemble with provided nuts, washers, and carriage bolts.
- Push guide ramp upward to be flush with the bottom of the enclosure while tightening nuts with 7/16″ wrench.

Grounding
Run grounding cable (GJS6120U or similar, sold separately) from Telecommunications Grounding Busbar (TGB) or conduit ground conductor to enclosure and attach to the specified M6 grounding stud on the enclosure base. The grounding stud is identified with a green M6 nut included with the enclosure. Ensure the grounding conductor matches or exceeds the wire gauge for power delivery to the enclosure. Ensure that no other conductors or connectors are attached to the specified M6 grounding stud.
- “The following parts are not effectively bonded to the protective earthing terminal: Door and Lid.”

Door & Lid Bonding
WMEGK grounding kit (sold separately) includes two quick-disconnect jumpers to bond the door and lid to the enclosure. Attach each end of the bonding jumper to the specified #10-32 bonding studs using the green #10-32 bonding nuts provided with the WMEGK kit. 
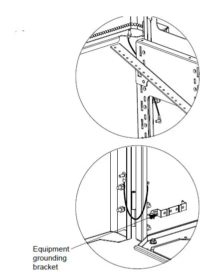
Equipment Grounding ESD Socket
PZAEGK equipment grounding kit (sold separately) includes a four-lug grounding bracket with an ESD wrist strap socket. The grounding bracket may be installed in either or both specified #10-32 bonding studs. Attach the grounding bar with the #10-32 nut, and both washers provided with the kit as shown. Attach equipment bonding jumpers (not included) to each location with the #12-24 screws provided with the kit and torque to 4 N-m (3 lb.-ft).

Termination of Backbone Cable (Demarcation)
- Route cable to enclosure.
- Once cable is inside the enclosure, terminate the cable to the appropriate module (fiber or copper).
- Place module(s) in a MINI-COM Six Position Multi- Media Surface Mount Box (PANDUIT Part No. CBXF6IW-AY, sold separately). Mount the box to the back wall of the enclosure using supplied adhesive tape. This box has an integrated fiber spool for fiber applications.
Alternatively, Panduit ZFLEX1 or FLEX-0RUBR06 fiber cassette brackets may be used (sold separately). Attach with adhesive foam tape or self-drilling screws (not provided). 
PZAEFAN Fan Kit Installation (if required, sold separately)
- Determine required airflow (CFM) needed based on total equipment heat dissipation. Refer to Pan- Zone TrueEdge Wall Mount Enclosure Application Guide for more details.
- Choose fan location that aligns with the active equipment position. If both servers and switches are installed, align fans to switches.
- Break out vent space for each fan to maximize airflow.
- Attach fan and both fan guards to breakout space as shown. IMPORTANT: Fan airflow must be downward.
- Attach power cable and ground wire lug to fan housing

Switch configuration

Horizontal Cabling and Patch Panel Installation
- Ensure all RU brackets are secured with M5 bonding screws.
- Route horizontal cable from work area to the enclosure by way of conduit, raceway (TG-70 or T-70), or through the cable breakouts on the back wall of enclosure. Use supplied edge grommet to protect cables from sharp metal edges of raceway knockouts and cable breakouts. Be sure to allow enough slack to route and terminate cable. Remove conduit KO plates for maximum cable capacity.
- Install patch panels (suggested PANDUIT Part No. CPPL24WBL sold separately) to the Passive E-rails from the bottom side. (See figure 5.2)
- Secure cables to back wall using supplied TAK-TY (See figure 5.4).
Note: A horizontal bar is pre-installed in the front RU to maintain the correct rail spacing during installation of the active equipment (6RU & 9RU enclosures only). It is recommended to leave the bar attached while installing the first device.

Active Equipment Installation
- Insert TAK-TYS to both active equipment cable tie slots (See figure 7.1).
- For down-facing PDU mounting, add additional ERails (WME*1RU sold separately) in the lowest position on the side brackets. Install in the back most position on the E-Rails. Plug power into electrical box inside the enclosure.
- Install active network equipment with ports facing up. Plug power cord into UPS if one is available or into electrical box inside the enclosure.
- Connect active equipment uplink port to backbone demarcation port with a patch cord (sold separately).

Patch Cord Installation
- Connect horizontal cabling to active network equipment with patch cords (sold separately). PANDUIT recommends using 5 ft. patch cords.
- Connect patch cords starting from the outside of the patch panel working your way towards the middle.
- Route patch cords through the side bracket cutout, down the side of the enclosure. Plug the other end of the patch cords into the active equipment. Use supplied edge grommet to protect patch cords where necessary.
- Once all the patch cords are installed, use the TAK-TYS located on the side of the side brackets to hold the patch cords in place. Add additional TAK-Ty where needed.

Server & Switch configuration
Equipment Installation
- Ensure all RU brackets are secured with M5 bonding screws.
- Mount PDU in the rear most RU on the lowest set of E-rails facing down.
- Mount servers on the highest E-rails using the next available RU.

Note: A horizontal bar is pre-installed in the front RU to maintain the correct rail spacing during installation of the active equipment (6RU and 9RU enclosures only). It is recommended to leave the bar attached while installing the first device. - Mount Switch on the middle E-rails in the next available RU.
- Mount patch panels to the zero RU brackets (WME0UB sold separately).
- Connect patch cords starting from the outside of the patch panel working your way towards the middle.

Max capacity Server configuration
Equipment Installation
- Ensure all RU Brackets are secured with M5 bonding screws.
- Mount PDU in the rear most RU on the lowest set of E-rails facing down.
- Mount servers on the highest E-rails using the next available RU.
Note: A horizontal bar is pre-installed in the front RU to maintain the correct rail spacing during installation of the active equipment (6RU and 9RU enclosures only). It is recommended to leave the bar attached while installing the first device. - Mount Bonus RU Bracket (WME*1RU sold separately) to the front of the Side Brackets. Secure with M5 Bonding screws.
- Mount Switch on the Bonus RU Bracket.
- Mount patch panels to the zero RU brackets (WME0UB sold separately).
- Connect patch cords starting from the outside of the patch panel working your way towards the middle.

WME*BL-FKIT Kit installation
- Attach one end of the filter media to the hook & loop on the inside of the Air Filter Cover.
- Unroll media & secure it to the rest of the hook & loop.

- Locate the (2) alignment studs & the threaded studs on the Air Filter Cover & press the filter media so the alignment stud & threaded studs are protruding all the way through the filter media.

- Slide Air Filter Cover over existing Top Lid.
- Align the threaded inserts & the threaded studs of the Air Filter Cover with the perforated hole on the Top Lid.
- Secure using (4) #10-32 screws, & (2) M4 flange nuts (included).

WME*-FR Air Filter Media Replacement Kit installation
- Remove Air Filter Cover by removing (2) M4 Flange nuts, & (4) #10-32 screws.
- Remove old Air Filter media.
- Install new Air Filter Media by following steps 1-3 above.
- Re-install Air Filter cover by following steps 4-6 above.
WMEBR Brushed Entry Kit installation
- Remove conduit KO plates from top of enclosure.
- Insert WMEBR brush plates from the inside of the enclosure with the brush side facing down.
- Attach (8) M4 screws from the outside of the enclosure

- For Instructions in Local Languages and Technical Support: www.panduit.com
- E-mail: [email protected]
- Phone: 866-405-6654












Note: A horizontal bar is pre-installed in the front RU to maintain the correct rail spacing during installation of the active equipment (6RU and 9RU enclosures only). It is recommended to leave the bar attached while installing the first device.
Note: A horizontal bar is pre-installed in the front RU to maintain the correct rail spacing during installation of the active equipment (6RU and 9RU enclosures only). It is recommended to leave the bar attached while installing the first device.





















