FREDRICK RAMOND FR30506 Lighting and Ceiling Fans
Mounting Instructions FR30506
start here
- Find a clear area in which you can work.
- Unpack fixture and glass from carton.
- Carefully review instructions prior to assembly.
Shut off electrical current before starting. If the fixture you are replacing is turned on and off by a wall switch, simply turn the switch off. If not, remove the appropriate fuse (or open the circuit breakers) until the fixture is dead.
- DO NOT restore current – either by fuse, breaker, or switch – until the new fixture is completely wired and in place.
- Determine the desired height the pendant will be installed.
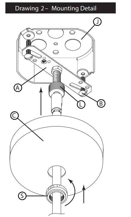
- The fixture is supplied with assorted stem sizes. Determine what combinations of stems are needed to achieve desired length – see Drawing 1 and 2 for part reference.


- Slip stems over wire and thread first stem onto top of pendant, longest stem first. Repeat this process until all required stems are threaded together.
- Next slide screw collar ring (S) along wire and over stems, followed by the canopy (C).
- Now slip wires through the center hole in the swivel attached to the mounting strap (A). Then thread swivel into top of last stem. Pendant is now ready to to be installed
- To mount assembled pendant body to ceiling, first make all the necessary wiring connections using instruction sheet IS18 provided.
- After all wiring connections are complete, tuck all wires into junction box (J) – see Drawing 2.
- Now attach mounting strap (A) to junction box (J) using two screws (B) NOT PROVIDED.

NOTE: the back of mounting strap (A) should be flush against the ceiling. It should not be recessed into the ceiling or off of the ceiling surface. - Next slip canopy (C) up against the ceiling and thread screw collar (S) onto exposed portion of threaded section (L) and tighten to secure canopy to ceiling.
- Refer to assembly instructions for attaching glass to pendant body.
Glass installation FR30506
- Find a clear area in which you can work.
- Unpack fixture and glass from carton.
- Carefully review instructions prior to assembly.
- To install glass (1) first thread coupler (2) off of center stem assembly (A) – see DRAWING 1. This will allow the glass cap (3) to slide along the center stem freely.
- Prior to attaching the glass to the fixture body the bulb should be installed. English
- Next take glass (1) and slip one side of bracket (B) into top of glass. Now slide glass over and slip opposite side of bracket (B) into top of glass. Rest glass on bracket (B)
- Now slide glass cap (3) down over the hole in the top of glass and thread coupler (2) down on center stem to lock glass in place.
wiring grounding instructions
SAFE TY WARNI NG: READ WIRIN G AND GROUNDING INSTRUCTIO NS (IS 18) AND ANY ADDITIONAL DIRECTIONS. TURN POWER SUPPLY OFF DURING INSTALLATION. IF NEW WIRING IS REQUIRED, CONSULT A QUALIFIED ELECTRICIAN OR LOCAL AUTHORITIES FOR CODE REQUIREMENTS
wiring instructions
- Connect positive supply wire (A) (typically black or the smooth, unmarked side of the two-conductor cord) to positive fixture lead (B ) with appropriately sized twist on connector – see Ora wings 1 o r 2.
- Connect negative supplywi re (C) (typically white or the ribbed, marked side of the two-conductor cord) to negative fixture lead (D).
- Please refer to the grounding instructions below to complete all electrical I connections
Outdoor Fixtures
- Connect positive supply wire (A) (typically black or the smooth unmarked side of the two-conduce tor cord) to positive fixture lead (B)with appropriately sized twist on connector – see Drawings 2 or 3.
- Connect negative supp ly wire {C) (typically white or the ribbed, marked side of the two-conductor cord) to negative fixture lead (D).
- Cover open end of connectors w ith silicone sealant to form a watertight sea l. 181 If installing a wall mount fixture, use caulk to seal gaps between the fixture mounting plate (backplate) and the wall. This wil l help prevent water from entering the outlet box. If the wal I surface is lap siding, us Caulk and a fixture mounting plat form specially.
- Please refer to the grounding Instructions below to complete all electrical I connections.
grounding instructions
Flush Mount Fixtures
For positive grounding in a 3-wire electrical system, fasten the fixture ground wire (E) (typically copper or green plastic coated) to the fixture mounting strap (M) with the ground screw (5) -see Drawing 1.
Note: On straps for screw supported fixtures, first install the two mounting screws in strap. Any remaining tapped hole may be used for the ground screw.
Chain Hung Fixtures
Loop fixture ground wire (E) (typicallycoppe r or green plastic coated)under the head of the ground screw (5) on fixture mounting strap (M) and connect to the loose end of the fixture ground wire directly to the ground wire of the building system with appropriately sized twist-on connectors – see Drawing 2 .

Post-Mou nt Fixtures
Connect fixture ground wire (E) (typically copper or green plastic coated) to power supply ground with appropriately sized twist-on connector inside post. Cover open end of connector with silicone sealant to form a watertight seal – see Drawing 3.

HINKLEY 33000 Pin Oak Parkway, Avon Lake, OH 44012 8 00.446.5539 / 440 .653.5500 hinkley.com





















