FREDRICK RAMOND 30204 Lighting and Ceiling Fan

Instructions
- Find a clear area in which you can work.
- Unpack fixture and glass from carton.
- Carefully review instructions prior to assembly.
Assembly
- To begin, it will be necessary to finish assembling the main body (1). This is accomplished by attaching the bottom ring (2) to the main body.
- Take the bottom ring (2) and slip the end of threaded tube (3) through the center hole in the bottom ring center hub. Hold in position and thread on bottom knob (4) and tighten to secure ring.
- Fixture can now be installed. This is accomplished by following instruction sheet (IS-19) provided. Please read all the instruction before starting installation.
GLASS INSTALLATION
- To begin glass strand installation, first unwrap the strands from their packing. Next arrange them according to size. There are 4 sizes of glass strands. Extra long (EX), long (L), medium (M) and short (S) – see Drawing 2.
- The extra long glass strands, have a hook on both ends. They are used for the top half of the fixture. The end of the strand with the large glass rock is the top. Take the hook on this end and hook it through one of the holes on the top ring (TR). Now take the bottom hook of the strand and hook it through one of the holes in the top of bottom ring (BR). Make sure when attaching the extra long strands that you accidentally do not skip any holes.
- Now the remaining long (L), medium (M) and short (S) have one hook at one end. These can be hung off the bottom holes (BH) in the bottom half of the bottom ring
(BR).
Mounting Instruction
SAFETY WARNING: READ WIRING AND GROUNDING INSTRUCTIONS (I.S. 18) AND ANY ADDITIONAL DIRECTIONS. TURN POWER SUPPLY OFF DURING INSTALLATION. IF NEW WIRING IS REQUIRED, CONSULT A QUALIFIED ELECTRICIAN OR LOCAL AUTHORITIES FOR CODE REQUIREMENTS.
- Shut off electrical current before starting. If the fixture you are replacing is turned on and off by a wall switch, simply turn the switch off. If not, remove the appropriate fuse (or open the circuit breakers) until the fixture is dead.
- DO NOT restore current – either by fuse, breaker or switch – until the new fixture is completely wired and in place.
Hanging
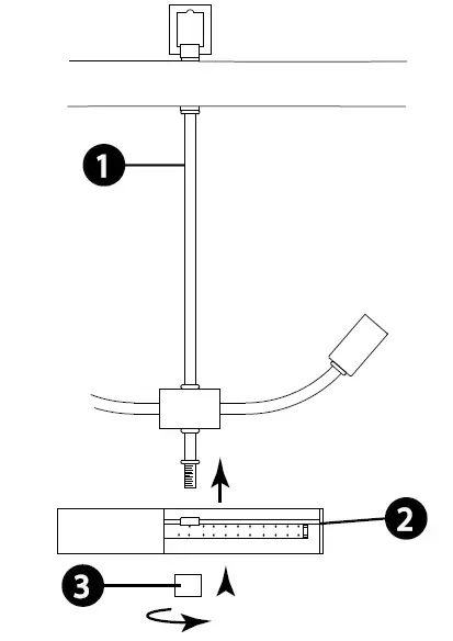
- Fasten mounting strap provided – see (1) to outlet box ( A) with the two 8-32 screws ( 2) not Drawing 1 .
- Thread 2 – hex nuts ( 3a) and ( 3b) onto threaded tubing ( 4).
- Thread one end of threaded tubing ( 4) into loop ( 5) a minimum of 1/2’’ to 3/4’’. Tighten hex nut ( 3a) against loop ( 5) to lock loop in position.
- Thread other end of threaded tube ( 4) into mounting strap approximately 1/2’’.
- Slip canopy ( B) over loop ( 5) and adjust height of loop so half of the threaded area on the loop is exposed – see Drawing 2 below. After loop height is adjusted, tighten hex nut (3b) up against mounting strap, tighten against mounting strap to lock loop and threaded tube in position.
- Remove mounting strap ( 1) from junction box ( A), and thread third hex nut ( 3c) onto end of threaded tube ( 4) above the mounting strap, tighten against mounting strap to lock assembly in position.
- Remount mounting strap to junction box.
Canopy Adjustment
- Taking the chain, determine the length you require to hang the fixture.
- Attach one end of the chain to the top loop of the fixture.
- Now slip loop collar (6) and canopy (B) onto chain. — – see Drawing 2
- Attach other end of chain to loop (5). Get assistance for this step since fixture may be heavy and difficult to hold while attaching the chain.
wiring grounding instructions
SAFE TY WARNI NG: READ WIRIN G AND GROUNDING INSTRUCTIO NS (IS 18) AND ANY ADDITIONAL DIRECTIONS. TURN POWER SUPPLY OFF DURING INSTALLATION. IF NEW WIRING IS REQUIRED, CONSULT A QUALIFIED ELECTRICIAN OR LOCAL AUTHORITIES FOR CODE REQUIREMENTS
Indoor Fixtures
- Connec t positive supply wire (A ) (typically black or the smooth, unmarked side of the two-conduc tor cord) to positive fixture lead (B) with appropriately sized twist on connector – see Dra w ings 1 or 2.


- Connec t negative supply wire (C) (typically white or the ribbed, marked side of the two-conductor cord) to negative fixture lead (D).
- Please refer to the grounding instructions below to complete all electrical connections
Outdoor Fixtures
- Connec t positive supply wire (A) (typically black or the smooth unmarked side of the two-conduc tor cord) to positive fixture lead (B) with appropriately sized twist on connector — see Drawings 2 or 3.

- Connec t negative supply wire (C) (typically white or the ribbed, marked side of the two-conductor cord) to negative fixture lead (D).
- Cover open end of connectors with silicone sealant to form a watertight seal.
If installing a wall mount fixture, use caulk to seal gaps between the fixture mounting plate (backpla te) and the wall. This will help prevent water from entering the outlet box. If the wall surface is lap siding, use caulk and a fixture mounting platform specially. - Please refer to the grounding instructions below to complete all electrical connections.
Grounding instructions
Flush Mount Fixtures
For positive grounding in a 3-wire electrical system, fasten the fixture ground wire (E) (typically copper or green plastic coated) to the fixture mounting strap (M ) with the ground screw (S) – see Draw in g 1.
Note: On straps for screw supported fixtures, first install the two mounting screws in strap. Any remaining tapped hole may be used for the ground screw.
Chain Hung Fixtures
Loop fixture ground wire (E) (typically coppe r or green plastic coated) under the head of the ground screw (S) on fixture mounting strap (M) and connect to the loose end of the fixture ground wire directly to the ground wire of the building system with appropriately sized twist-on connectors – see Draw in g 2.
Post-Mou nt Fixtur es
Connec t fixture ground wire (E) (typically copper or green plastic coated) to power supply ground with appropriately sized twist-on connector inside post. Cover open end of connector with silicone sealant to form a watertight seal – see Drawing 3.



















