FREDRICK RAMOND 46951 Lighting and Ceiling Fans
Instructions
FREDRICK RAMOND 46951 Lighting and Ceiling Fans
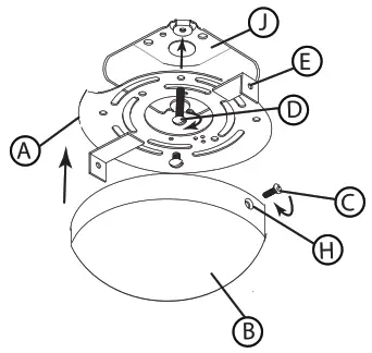
DRAWING 1- MOUNTING

DRAWING 2 – GLASS INSTALLATION

- Find a clear area in which you can work.
- Unpack fixture and glass from carton.
- Carefully review instructions prior to assembly.
- To begin installation of your fixture it will first be necessary to remove the mounting plate (A) from the canopy (B). This is accomplished by first removing the two screws (C), located on the side of the canopy. Set screws in a safe place for use later.
- Next attach mounting plate (A) to junction box (J) with two screws (D), NOT PROVIDED.- see Drawing 1
- Now make all necessary electrical connections following instruction sheet (IS-18) provided.
SAFETY WARNING:
READ WIRING AND GROUNDING INSTRUCTIONS (I.S. 18) AND ANY ADDITIONAL DIRECTIONS. TURN POWER SUPPLY OFF DURING INSTALLATION. IF NEW WIRING IS REQUIRED, CONSULT A QUALIFIED ELECTRICIAN OR LOCAL AUTHORITIES FOR CODE REQUIREMENTS.
Make electrical connections from supply wire to fixture lead wires. Refer to instruction sheet (I.S. 18) and follow all instructions to make all necessary wiring connections. Then refer back to this sheet to complete installation of this fixture.
5. After all connections are made, tuck wires into junction box (J) and slip canopy (B) over mounting tabs (A) and align threaded holes in tab (A)with holes (H) in canopy (B).
6. Thread in screws (C) removed earlier, and tighten to secure fixture to ceiling.
To lock glass into place twist glass over socket – drawing 2
E12 T10 LED lamp is to be used. E12 B Shape LED will not fit in glass.
Drawing 1 – Flush Mount

Drawing 2 – Chain Hung

Drawing 3 – Post-Mount

I.S. 18 wiring grounding instructions
SAFETY WARNING: READ WIRING AND GROUNDING INSTRUCTIONS (IS 18) AND ANY ADDITIONAL DIRECTIONS.
TURN POWER SUPPLY OFF DURING INSTALLATION. IF NEW WIRING IS REQUIRED, CONSULT A QUALIFIED ELECTRICIAN OR LOCAL AUTHORITIES FOR CODE REQUIREMENTS
Wiring instructions
Indoor Fixtures
- Connect positive supply wire (A) (typically black or the smooth, unmarked side of the two-conductor cord) to positive fixture lead (B) with appropriately sized twist on connector – see Drawings 1 or 2.
- Connect negative supply wire (C) (typically white or the ribbed, marked side of the two-conductor cord) to negative fixture lead (D).
- Please refer to the grounding instructions below to complete all electrical connections
Outdoor Fixtures
- Connect positive supply wire (A) (typically black or the smooth unmarked side of the two-conductor cord) to positive fixture lead (B) with appropriately sized twist on connector – – – see Drawings 2 or 3.
- Connect negative supply wire (C) (typically white or the ribbed, marked side of the two-conductor cord) to negative fixture lead (D).
- Cover open end of connectors with silicone sealant to form a watertight seal.
× If installing a wall mount fixture, use caulk to seal gaps between the fixture mounting plate (back plate) and the wall. This will help prevent water from entering the outlet box. If the wall surface is lap siding, use caulk and a fixture mounting platform specially. - Please refer to the grounding instructions below to complete all electrical connections.
Grounding instructions
Flush Mount Fixtures
For positive grounding in a 3-wire electrical system, fasten the fixture ground wire (E) (typically copper or green plastic coated) to the fixture mounting strap (M) with the ground screw (S) – see Drawing 1.
Note: On straps for screw supported fixtures, first install the two mounting screws in strap. Any remaining tapped hole may be used for the ground screw.
Chain Hung Fixtures
Loop fixture ground wire (E) (typically copper or green plastic coated) under the head of the ground screw (S) on fixture mounting strap (M) and connect to the loose end of the fixture ground wire directly to the ground wire of the building system with appropriately sized twist-on connectors – see Drawing 2.
Post-Mount Fixtures
Connect fixture ground wire (E) (typically copper or green plastic coated) to power supply ground with appropriately sized twist-on connector inside post. Cover open end of connector with silicone sealant to form a watertight seal – see Drawing 3.
A Division of Hinkley Lighting, Inc.
33000 PIN OAK PARKWAY
AVON LAKE, OHIO 44012
Toll free 800.446.5539
Phone 440.653.5500
HINKLEY
33000 Pin Oak Parkway
Avon Lake, OH 44012
800.446.5539 / 440.653.5500
hinkley.com


















