HINKLEY 35690 Fredrick Ramond Lighting and Ceiling Fans

Mounting Instructions
start here
- Find a clear area in which you can work.
- Unpack fixture and glass from carton.
- Carefully review instructions prior to assembly.
MOUNTING

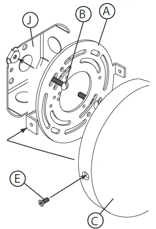
- To begin it will be necessary to remove mounting plate (A) from backplate (C) by removing screws (E) located on the side of the backplate see Drawing 1.
- To begin installation, first attach mounting bracket (A) to junction box (J) by using two 8-32 screws (B) not provided, or the screws from the previously installed mounting strap or plate. Make sure threaded holes are on the side when installing mounting plate, and plate is plumb by placing a level across the top. Adjust plate and tighten screws to secure mounting plate.
- Next make all wiring connections. Follow instruction sheet (IS-18) provided.
SAFETY WARNING: READ WIRING AND GROUNDING INSTRUCTIONS (I.S. 18) AND ANY ADDITIONAL DIRECTIONS. TURN POWER SUPPLY OFF DURING INSTALLATION. IF NEW WIRING IS REQUIRED, CONSULT A QUALIFIED ELECTRICIAN OR LOCAL AUTHORITIES FOR CODE REQUIREMENTS. Make electrical connections from supply wire to fixture lead wires. Refer to instruction sheet (I.S. 18) and follow all instructions to make all necessary wiring connections. Then refer back to this sheet to complete installation of this fixture.
- After all electrical connections are made. Slip backplate (C) over mounting strap (A) and align holes in side of backplate (C) with threaded holes on side of mounting strap (A). Making sure single arm is at top.
- Thread in screws (E) removed earlier to secure backplate to mounting
- Installation is complete and power can be restored.
2-Assembly

- Place metal washer (3) and soft washer (4) onto nipple (8)
- Place large glass cover (6) and a second soft washer (4) onto nipple (8)
- Place small glass cover (5), another softwasher (4), and another metal washer (3) on to the nipple (8)
- Next secure hex nut (2) to nipple (8) to lock all washers and covers in place
- To complete assembly cover hex nut (2) using knob (1)
wiring grounding instructions
SAFE TY WARNING: READ WIRIN G AND GROUNDING INSTRUCTIO NS (IS 18) AND ANY ADDITIONAL DIRECTIONS. TURN POWER SUPPLY OFF DURING INSTALLATION. IF NEW WIRING IS REQUIRED, CONSULT A QUALIFIED ELECTRICIAN OR LOCAL AUTHORITIES FOR CODE REQUIREMENTS
Flush Mount

wiring instructions
Indoor Fixtures
- Connect positive supply wire (A ) (typically black or the smooth, unmarked side of the two-conductor cord) to positive fixture lead (B ) with an appropriately sized twist on connec tor – see Dra w ings 1 or 2.
- Connect negative supply wire (C) (typically white or the ribbed , marked side of the two-conductor cord) to negative fixture lead (D).
- Please refer to the grounding instructions below to complete all electrical connections
Outdoor Fixtures
- Connec t positive supply wire (A) (typically black or the smoo th unma rked side of the two-conduc tor cord) to positive fixture lead (B) with appropriately sized twist on connector — see Drawings 2 or 3.
- Connec t negative supply wire (C) (typically white or the ribbed , marked side of the two-conductor cord) to negative fixture lead (D).
- Cover the open end of connector s with silicone sealant to form a watertight seal. If installing a wall mount fixture, use caulk to seal gaps between the fixture mounting plate (backplate) and the wall. This will help prevent water from entering the outlet box . If the wall surface is lap siding, use caulk and a fixture mounting plat form especially.
- Please refer to the grounding instructions below to complete all electrical connections.
Chain Hun g

grounding instructions
Post-Mount

Flush Mount Fixtures
For positive grounding in a 3-wire electrical system, fasten the fixture ground wire (E) (typically copper or green plastic coated) to the fixture mounting strap (M ) with the ground screw (S) – see Drawing 1.
Note: On straps for screw supported fixtures, first install the two mounting screws in strap. Any remaining tapped hole may be used for the ground screw.
Chain Hung Fixtures
Loop fi xture ground wire (E) (typically copper or green plastic coated) under the head of the ground screw (S) on fixture mounting strap (M) and connect to the loose end of the fixture ground wire directly to the ground wire of the building system with appropriately sized twist-on connectors – see Draw in g 2.
Post-Mount Fixtures
Connect fixture ground wir e (E) (typically copper or green plastic coated) to power supply ground with appropriately sized twist-on connector inside post. Cove r open end of connector with silicone sealant to form a watertight seal – see Drawing 3.
H I N K L E Y 3 3 0 0 0 Pin Oak Parkwa y, Avon Lak e, OH 44012800.446.5539 / 440.653.5500 hinkley.com


















