T24 JA8-2016 LED Light Fixtures
Instructions
T24 JA8-2016 LED Light Fixtures
Mounting Instructions
Item No: 52020-52022
T24 JA8-2016
start here
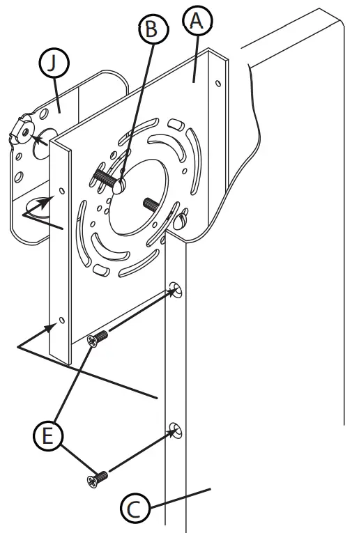
DRAWING 1 – MOUNTING
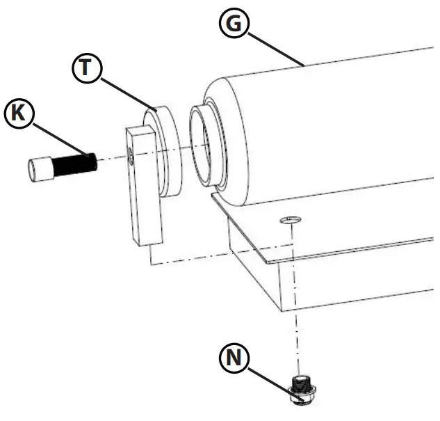
DRAWING 2 – GLASS INSTALL
- Find a clear area in which you can work.
- Unpack fixture and glass from carton.
- Carefully review instructions prior to assembly.
- To begin it will be necessary to remove mounting plate (A) from backplate (C) by removing screws (E) located on the side of the backplate – see Drawing 1.
- To begin installation, first attach mounting bracket (A) to junction box (J) by using two 8-32 screws (B) not provided, or the screws from the previously installed mounting strap or plate. Make sure threaded holes are on the side when installing mounting plate, and plate is plumb by placing a level across the top. Adjust plate and tighten screws to secure mounting plate.
- Next make all wiring connections. Follow instruction sheet (IS-18) provided.
SAFETY
WARNING: READ WIRING AND GROUNDING INSTRUCTIONS (IS. 18) AND ANY ADDITIONAL DIRECTIONS. TURN POWER SUPPLY OFF DURING INSTALLATION. IF NEW WRING IS REQUIRED, CONSULT A QUALIFIED ELECTRICIAN OR LOCAL AUTHORITIES FOR CODE REQUIREMENTS.
Make electrical connections from supply wire to fixture lead wires. Refer to instruction sheet (IS. 18) and follow all instructions to make all necessary wiring connections. Then refer back to this sheet to complete installation of this fixture.
- After all electrical connections are made. Slip backplate (C) over mounting strap (A) and align holes in side of backplate (C) with threaded holes on side of mounting strap (A)
- Thread in screws (E) removed earlier to secure backplate to mounting strap.
- To finish assembly of your fixture see assemlby instructions provided.
- Slide glass (G) over LED board
- Secure glass cap (T) using nipple and hex nut (N)
- Use knob and nipple (K) to lock glass in place (G)
- Fixture can now be powered on
I.S. 18wiring grounding instructions
SAFETY WARNING: READ WIRING AND GROUNDING INSTRUCTIONS (IS 18) AND ANY ADDITIONAL DIRECTIONS. TURN POWER SUPPLY OFF DURING INSTALLATION. IF NEW WIRING IS REQUIRED, CONSULT A QUALIFIED ELECTRICIAN OR LOCAL AUTHORITIES FOR CODE REQUIREMENTS
Wiring instructions
Drawing 1 – Flush Mount 
Indoor Fixtures
- Connect positive supply wire (A) (typically black or the smooth, unmarked side of the two-conductor cord) to positive fixture lead (B) with appropriately sized twist on connector – see Drawings 1 or 2.
- Connect negative supply wire (C) (typically white or the ribbed, marked side of the two-conductor cord) to negative fixture lead (D).
- Please refer to the grounding instructions below to complete all electrical connections
Outdoor Fixtures
Drawing 2 – Chain Hung
- Connect positive supply wire (A) (typically black or the smooth unmarked side of the two-conductor cord) to positive fixture lead (B) with appropriately sized twist on connector – – – see Drawings 2 or 3.
- Connect negative supply wire (C) (typically white or the ribbed, marked side of the two-conductor cord) to negative fixture lead (D).
- Cover open end of connectors with silicone sealant to form a watertight seal.
˜If installing a wall mount fixture, use caulk to seal gaps between the fixture mounting plate (backplate) and the wall. This will help prevent water from entering the outlet box. If the wall surface is lap siding, use caulk and a fixture mounting platform specially. - Please refer to the grounding instructions below to complete all electrical connections.
Grounding instructions
Drawing 3 – Post-Mount
Flush Mount Fixtures
For positive grounding in a 3-wire electrical system, fasten the fixture ground wire (E) (typically copper or green plastic coated) to the fixture mounting strap (M) with the ground screw (S) – see Drawing 1.
Note: On straps for screw supported fixtures, first install the two mounting screws in strap. Any remaining tapped hole may be used for the ground screw.
Chain Hung Fixtures
Loop fixture ground wire (E) (typically copper or green plastic coated) under the head of the ground screw (S) on fixture mounting strap (M) and connect to the loose end of the fixture ground wire directly to the ground wire of the building system with appropriately sized twist-on connectors – see Drawing 2.
Post-Mount Fixtures
Connect fixture ground wire (E) (typically copper or green plastic coated) to power supply ground with appropriately sized twist-on connector inside post. Cover open end of connector with silicone sealant to form a watertight seal – see Drawing 3.
HINKLEY 33000 Pin Oak Parkway,
Avon Lake, OH 44012
800.446.5539 / 440.653.5500
hinkley.com



















