


Innovative Ergonomic Solutions companies
INSTALLATION INSTRUCTIONS

PARTS LIST
* Depending on your Bild® configuration, you may not receive all parts shown above.
MOUNTS

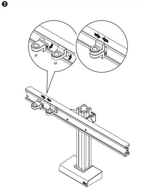
CENTER BEAM

NOTE: The beam should sit flush against the column, ensuring there are no gaps. Also, it is important the cent beam is level.

![]() | ![]() |
EXTENSION

DUAL TIER COLUMN

MONITOR TILTER

MONITOR CUPS
![]() | ![]() |
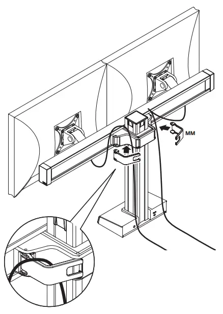
CABLE MANAGEMENT
![]() | ![]() |
* The supplied mounting hardware may need to change depending on the mounting substrate.
Innovative Ergonomic Solutions
800 524 2744
[email protected]
team-ies.com
HAT Collective
408 437 8770
[email protected]
hatcollective.com
© 2021 Innovative Ergonomic Solutions P511559 REV D























